TOP
|
特許
|
意匠
|
商標
特許ウォッチ
Twitter
他の特許を見る
公開番号
2025158038
公報種別
公開特許公報(A)
公開日
2025-10-16
出願番号
2024060475
出願日
2024-04-03
発明の名称
更生管の製管装置
出願人
積水化学工業株式会社
代理人
弁理士法人湧泉特許事務所
主分類
B29C
63/32 20060101AFI20251008BHJP(プラスチックの加工;可塑状態の物質の加工一般)
要約
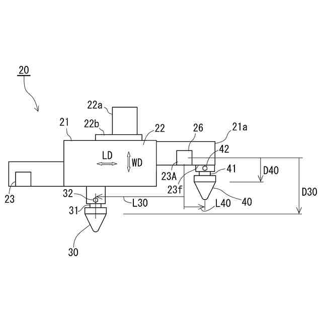
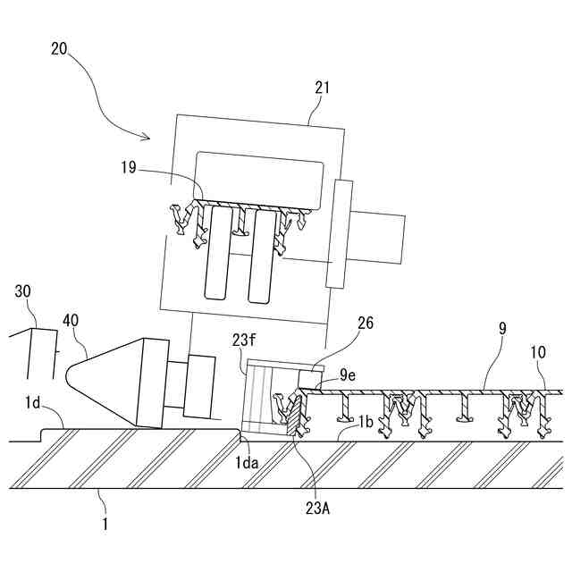
【課題】推進前方側の既設管の内周面に凸部や段差等の凸状不陸部があったとき、該凸状不陸部との干渉を確実に回避できる自走式の製管装置を提供する。
【解決手段】製管装置20は、帯状部材10から螺旋管状の更生管9を既設管1の内周面1bに沿って製管しながら螺旋巻回方向へ推進される。製管装置20は、製管中の更生管の管軸方向の延伸前方側の管端部9eに配置された装置本体21と、帯状部材10における未製管の後続帯部19を挟み込んで管端部9eへ斜めに押し込む駆動ローラ24,25と、管端部9eに螺旋巻回方向へスライド可能に係止された管端ガイド23と、装置本体21における長手方向LDに離れた前方ガイドローラ40及び後方ガイドローラを備えている。前方ガイドローラ40が、後方ガイドローラ30よりも延伸後方側にずれている。
【選択図】図3
特許請求の範囲
【請求項1】
帯状部材からなる螺旋管状の更生管を既設管の内周に沿って製管しながら螺旋巻回方向へ推進される製管装置において、
製管中の更生管の管軸方向の延伸前方側の管端部に、長手方向を前記螺旋巻回方向へ向けて、かつ前記螺旋巻回方向へ移動可能に配置された装置本体と、
前記装置本体に設けられ、前記帯状部材における前記管端部に続く未製管の後続帯部を挟み込んで前記管端部へ斜めに押し込む駆動ローラと、
前記装置本体に設けられ、前記管端部に前記螺旋巻回方向へスライド可能に係止された1又は前記長手方向に互いに離れた複数の管端ガイドと、
前記装置本体における前記長手方向の推進前方側の側部から前記延伸前方側へ突出された前方ガイドローラと、
前記装置本体における前記前方ガイドローラより推進後方側の側部から前記延伸前方側へ突出された後方ガイドローラと、
を備え、前記前方ガイドローラが、前記後方ガイドローラよりも延伸後方側にずれて配置されていることを特徴とする製管装置。
続きを表示(約 720 文字)
【請求項2】
前記管端ガイドのうち最も推進前方側に配置された前側管端ガイドから前記前方ガイドローラまでの前記長手方向に沿う距離が、前記前側管端ガイドから前記後方ガイドローラまでの前記長手方向に沿う距離より短い請求項1に記載の製管装置。
【請求項3】
前記前方ガイドローラが、前記前側管端ガイドの推進前方側の近傍に配置されている請求項2に記載の製管装置。
【請求項4】
前記前側管端ガイドが、前記管端部に押し当てられてブレーキ力を発現するブレーキ機構を含む請求項2に記載の製管装置。
【請求項5】
帯状部材からなる螺旋管状の更生管を既設管の内周に沿って製管しながら螺旋巻回方向へ推進される製管装置において、
製管中の更生管の管軸方向の延伸前方側の管端部に、長手方向を前記螺旋巻回方向へ向けて、かつ前記螺旋巻回方向へ移動可能に配置された装置本体と、
前記装置本体に設けられ、前記帯状部材における前記管端部に続く未製管の後続帯部を挟み込んで前記管端部へ斜めに押し込む駆動ローラと、
前記装置本体に設けられ、前記管端部に前記螺旋巻回方向へスライド可能に係止された管端ガイドと、
前記装置本体に設けられ、前記管端部に押し当てられてブレーキ力を発現するブレーキ機構と、
前記装置本体における前記ブレーキ機構の推進前方側の近傍から前記延伸前方側へ突出された前方ガイドローラと
を備えたことを特徴とする製管装置。
【請求項6】
前記前方ガイドローラが、前記延伸前方側へ向かって縮径する円錐形状である請求項1~5の何れか1項に記載の製管装置。
発明の詳細な説明
【技術分野】
【0001】
本発明は、帯状部材から螺旋管状の更生管を既設管の内周に沿って製管する製管装置に関し、特に螺旋巻回方向へ推進(自走)されながら製管を行なう自走式の製管装置に関する。
続きを表示(約 3,400 文字)
【背景技術】
【0002】
例えば、下水道管等の老朽化した既設管の内周に沿って、長尺の帯状部材からなる螺旋管状の更生管をライニングすることによって、既設管を更生する方法が知られている(特許文献1等参照)。特許文献1には、更生管を製管するための自走式の製管装置が開示されている。当該製管装置は、管中の更生管の管軸方向の延伸前方側の管端部に配置された装置本体と、装置本体に設けられた一対の駆動ローラ及び管端ガイドを含む。管端ガイドが管端部に螺旋巻回方向へスライド可能に係止されている。駆動ローラによって、帯状部材における前記管端部に続く未製管の後続帯部が挟み込まれて管端部へ斜めに押し込まれることで、後続帯部が管端部に組み込まれるとともに、押し込みの反力によって製管装置が螺旋巻回方向へ推進される。これによって、更生管の製管が進む。推進前方側の管端ガイドには、管端部に押し当てられてブレーキ力を発現するブレーキ機構が設けられている。ブレーキ力を調整することによって、更生管径を拡縮できる。
【先行技術文献】
【特許文献】
【0003】
特開2019-084728号公報
【発明の概要】
【発明が解決しようとする課題】
【0004】
この種の自走式の製管装置によって螺旋管状の更生管を既設管の内周に沿って製管する更生工法においては、推進前方側の既設管の内周面に凸部や段差等の凸状不陸部があった場合、製管装置の推進前方側の端部に設けられた管端ガイドやブレーキ機構がその凸状不陸部と干渉して、推進が停止されることがあった。特に、更生管を既設管の内周面に張り付けるように製管する張り付け製管においては、製管装置と既設管との距離が非常に近く、干渉が起きやすかった。そのような場合、例えば、バール等の工具を用いて、製管装置の更生管軸に沿う幅方向を延伸前方側へ向かって管内周側(管径方向内側)へ傾けて、凸状不陸部を乗り越える操作を行なう。しかし、このとき、管端ガイドやブレーキ機構の延伸前方側の側面が凸状不陸部の段差面と近接して対向していることがあり、そうすると、管端ガイドやブレーキ機構が前記段差面に強く押し当てられたり引っ掛かったりして、製管装置を傾けることができず、凸状不陸部の乗り越え操作が出来ないこともあった。
本発明は、かかる事情に鑑み、推進前方側の既設管の内周面に凸部や段差等の凸状不陸部があったとき、該凸状不陸部との干渉を確実に回避できる自走式の製管装置を提供することを目的とする。
【課題を解決するための手段】
【0005】
前記課題を解決するために、本発明は、帯状部材からなる螺旋管状の更生管を既設管の内周に沿って製管しながら螺旋巻回方向へ推進される製管装置において、
製管中の更生管の管軸方向の延伸前方側の管端部に、長手方向を前記螺旋巻回方向へ向けて、かつ前記螺旋巻回方向へ移動可能に配置された装置本体と、
前記装置本体に設けられ、前記帯状部材における前記管端部に続く未製管の後続帯部を挟み込んで前記管端部へ斜めに押し込む駆動ローラと、
前記装置本体に設けられ、前記管端部に前記螺旋巻回方向へスライド可能に係止された1又は前記長手方向に互いに離れた複数の管端ガイドと、
前記装置本体における前記長手方向の推進前方側の側部から前記延伸前方側へ突出された前方ガイドローラと、
前記装置本体における前記前方ガイドローラより推進後方側の側部から前記延伸前方側へ突出された後方ガイドローラと、
を備え、前記前方ガイドローラが、前記後方ガイドローラよりも延伸後方側にずれて配置されていることを第1の特徴とする。
【0006】
当該製管装置の推進前方側の既設管内周面に凸部や段差等の凸状不陸部があったときは、製管装置の推進に伴って、前方ガイドローラが、凸状不陸部に当たって転動されながら凸状不陸部に乗り上げる。これによって、製管装置の幅方向が、既設管の管軸に対して延伸前方側へ向かって管内周側へ傾き、管端ガイドの延伸前方側の側面が凸状不陸部の段差面よりも管内周側へ向けられる。前方ガイドローラの配置位置が後方ガイドローラよりも延伸後方側にずれていることによって、後方ガイドローラが凸状不陸部に乗り上げる場合よりも、製管装置の傾き度を大きくできる。ひいては、管端ガイドの延伸前方側の側面が凸状不陸部の段差面よりも確実に管内周側へ向けられるようにできる。
したがって、凸状不陸部を乗り越えるために、バール等の工具を用いて、製管装置の更生管軸に沿う幅方向を延伸前方側へ向かって管内周側(管径方向内側)へ傾ける操作を省略ないしは簡略化できる。また、前記傾ける操作を行う際に、管端ガイドの延伸前方側の側面が凸状不陸部の段差面に強く押し当てられたり引っ掛かったりするのを防止できる。これによって、製管装置が凸状不陸部と干渉して止まるのを回避でき、凸状不陸部を乗り越えるように製管を行なうことができる。
【0007】
好ましくは、前記管端ガイドのうち最も推進前方側に配置された前側管端ガイドから前記前方ガイドローラまでの前記長手方向に沿う距離が、前記前側管端ガイドから前記後方ガイドローラまでの前記長手方向に沿う距離より短い。
これによって、推進前方側に凸状不陸部が在った場合、前方ガイドローラが該凸状不陸部に乗り上げることによって、前側管端ガイドが凸状不陸部の段差面に強く押し当てられたり引っ掛かったりするのを確実に回避できる。
【0008】
好ましくは、前記前方ガイドローラが、前記前側管端ガイドの推進前方側の近傍に配置されている。
これによって、前側管端ガイドが凸状不陸部に達する前に、前方ガイドローラが凸状不陸部に達して製管装置が傾斜されることで、前側管端ガイドが凸状不陸部の段差面に強く押し当てられたり引っ掛かったりするのを確実に防止できる。
【0009】
好ましくは、前記前側管端ガイドが、前記管端部に押し当てられてブレーキ力を発現するブレーキ機構を含む。
前記ブレーキ力を調整することによって、更生管の製管径を調整できる。
前方ガイドローラによって、ブレーキ機構が凸状不陸部に引っ掛かるのを防止できる。
【0010】
本発明は、帯状部材からなる螺旋管状の更生管を既設管の内周に沿って製管しながら螺旋巻回方向へ推進される製管装置において、
製管中の更生管の管軸方向の延伸前方側の管端部に、長手方向を前記螺旋巻回方向へ向けて、かつ前記螺旋巻回方向へ移動可能に配置された装置本体と、
前記装置本体に設けられ、前記帯状部材における前記管端部に続く未製管の後続帯部を挟み込んで前記管端部へ斜めに押し込む駆動ローラと、
前記装置本体に設けられ、前記管端部に前記螺旋巻回方向へスライド可能に係止された管端ガイドと、
前記装置本体に設けられ、前記管端部に押し当てられてブレーキ力を発現するブレーキ機構と、
前記装置本体における前記ブレーキ機構の推進前方側の近傍から前記延伸前方側へ突出された前方ガイドローラと
を備えたことを第2の特徴とする。
これによって、製管装置の推進前方側の既設管内周面に凸部や段差等の凸状不陸部があったときは、前方ガイドローラが凸状不陸部に乗り上げることによって、製管装置の幅方向が、既設管の管軸に対して延伸前方側へ向かって管内周側へ傾き、管端ガイドの延伸前方側の側面が凸状不陸部の段差面よりも管内周側へ向けられる。このため、管端ガイド及びブレーキ機構の延伸前方側の側面が凸状不陸部の段差面よりも管内周側へ向けられるようにできる。したがって、凸状不陸部を乗り越えるための、バール等の工具を用いた製管装置の傾斜操作を省略ないしは簡略化できる。前記傾斜操作を行ったとしても、管端ガイド及びブレーキ機構の延伸前方側の側面が凸状不陸部の段差面に強く押し当てられたり引っ掛かったりするのを回避できる。この結果、凸状不陸部を乗り越えながら製管を行なうことができる。
(【0011】以降は省略されています)
この特許をJ-PlatPat(特許庁公式サイト)で参照する
関連特許
積水化学工業株式会社
粘着テープ
5日前
積水化学工業株式会社
粘着テープ
5日前
積水化学工業株式会社
雨樋システム
1か月前
積水化学工業株式会社
表示素子用封止剤
1日前
積水化学工業株式会社
太陽電池設置構造
21日前
積水化学工業株式会社
太陽電池設置構造
21日前
積水化学工業株式会社
太陽電池設置構造
21日前
積水化学工業株式会社
基板積層体の製造方法
1か月前
積水化学工業株式会社
基板積層体の製造方法
1か月前
積水化学工業株式会社
液晶デバイス用シール剤
1日前
積水化学工業株式会社
表面材及び表面材付き基材
5日前
積水化学工業株式会社
太陽電池モジュールの取付構造
21日前
積水化学工業株式会社
竪樋支持具および排水システム
1か月前
積水化学工業株式会社
熱膨張性マイクロカプセル用組成物
1か月前
積水化学工業株式会社
既設管更生方法および既設管更生設備
6日前
積水化学工業株式会社
ポリオルガノシロキサン、樹脂組成物
12日前
積水化学工業株式会社
硬化性樹脂組成物及び表示素子用封止剤
1日前
積水化学工業株式会社
超音波トランスデューサおよび超音波センサ
21日前
積水化学工業株式会社
超音波トランスデューサ、及び超音波センサ
21日前
積水化学工業株式会社
継手
26日前
積水化学工業株式会社
継手
1か月前
積水化学工業株式会社
ガス製造装置
12日前
積水化学工業株式会社
施工管理システム
1か月前
積水化学工業株式会社
光ファイバ担持管梱包体および光ファイバ担持管梱包体用の支持部材
28日前
積水化学工業株式会社
集合継手及び配管構造
1か月前
積水化学工業株式会社
アダプタおよび継手構造
20日前
積水化学工業株式会社
電気融着継手、配管システム、配管付き電気融着継手、及び配管更生構造
1か月前
積水化学工業株式会社
ポリビニルアセタール樹脂
1日前
積水化学工業株式会社
ポリビニルアセタール樹脂
5日前
積水化学工業株式会社
多口継手及び配管システム
20日前
積水化学工業株式会社
ポリビニルアセタール樹脂
5日前
積水化学工業株式会社
ポリビニルアセタール樹脂
5日前
積水化学工業株式会社
ポリビニルアセタール樹脂
5日前
積水化学工業株式会社
ポリビニルアセタール樹脂
5日前
積水化学工業株式会社
ポリビニルアセタール樹脂
5日前
積水化学工業株式会社
ポリビニルアセタール樹脂
5日前
続きを見る
他の特許を見る