TOP
|
特許
|
意匠
|
商標
特許ウォッチ
Twitter
他の特許を見る
公開番号
2025153669
公報種別
公開特許公報(A)
公開日
2025-10-10
出願番号
2024056263
出願日
2024-03-29
発明の名称
防火区画貫通処理部材及び防火区画材
出願人
積水化学工業株式会社
代理人
個人
,
個人
,
個人
,
個人
主分類
F16L
5/04 20060101AFI20251002BHJP(機械要素または単位;機械または装置の効果的機能を生じ維持するための一般的手段)
要約
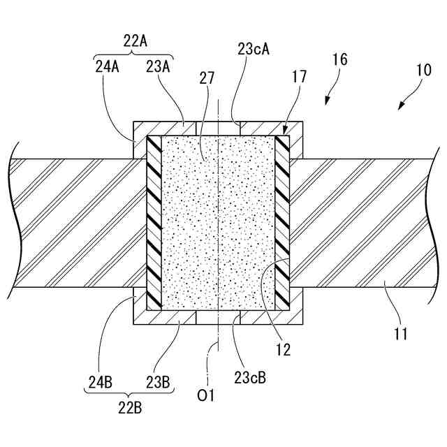
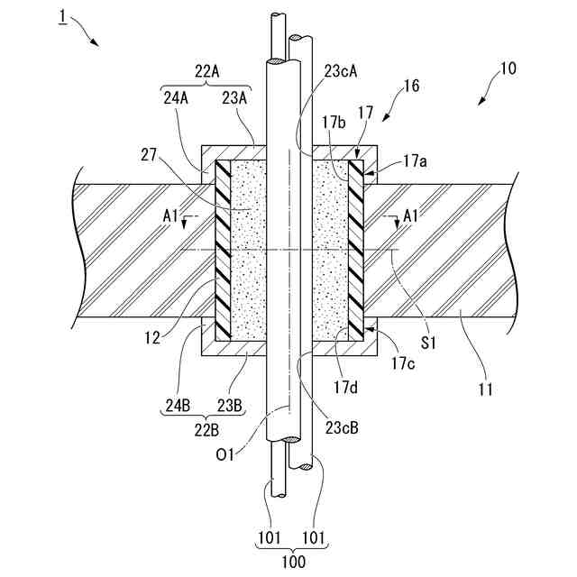
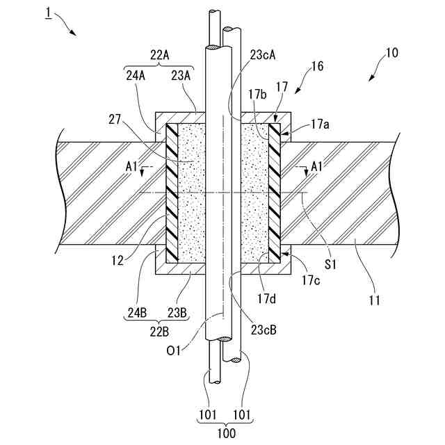
【課題】火災が延焼するのを効率的に抑えた防火区画貫通処理部材を提供する。
【解決手段】防火区画貫通処理部材16は、熱膨張性黒鉛を含む管材17と、管材17の第1端部17aに形成された開口17bを覆う第1蓋22Aと、管材17の第2端部17cに形成された開口17dを覆う第2蓋22Bを備える。
【選択図】図1
特許請求の範囲
【請求項1】
熱膨張性黒鉛を含む管材と、
前記管材の第1端部に形成された開口を覆う第1蓋と、
前記管材の第2端部に形成された開口を覆う第2蓋
を備える、防火区画貫通処理部材。
続きを表示(約 370 文字)
【請求項2】
前記管材内に、周方向に並べて配置された複数の充填片を備える、請求項1に記載の防火区画貫通処理部材。
【請求項3】
前記第1蓋は、前記管材の前記第1端部側の端面に対向するように配置された第1封止壁を有し、
前記第1封止壁には、前記第1封止壁における他の部分よりも強度が低い脆弱部が、前記管材の軸線方向に見たときに環状に形成され、
前記軸線方向に見たときに、前記管材の外周面内の面積に対する、前記脆弱部の外周縁内の面積の比が、32%以下である、請求項1又は2に記載の防火区画貫通処理部材。
【請求項4】
貫通孔が形成された耐火部材と、
少なくとも一部が前記貫通孔内に配置された、請求項1又は2に記載の防火区画貫通処理部材と、
を備える、防火区画材。
発明の詳細な説明
【技術分野】
【0001】
本発明は、防火区画貫通処理部材及び防火区画材に関する。
続きを表示(約 1,800 文字)
【背景技術】
【0002】
従来、建築物は、床、壁等の防火区画材を備えている。防火区画材は、火災時に建築物が延焼するのを抑制する。
防火区画材にケーブル、配管等の挿通体を通すために、防火区画材に防火区画貫通部(貫通孔)が設けられることがある。防火区画貫通部の延焼を抑制するために、防火区画貫通処理部材が用いられる(例えば、特許文献1参照)。
【0003】
特許文献1では、防火区画貫通処理部材は、挿通部材(管材)と、係止部材と、包覆部と、を備える。
挿通部材は、スリーブ状に形成されるか、スリーブ状に変形可能である。挿通部材は、防火区画貫通部に挿入される。係止部材は、挿通部材の一端部側に接して配置される。係止部材は、挿通部材の位置を固定する。包覆部は、防火区画貫通部の開口と挿通体との隙間を覆う。
【先行技術文献】
【特許文献】
【0004】
特開2021-145868号公報
【発明の概要】
【発明が解決しようとする課題】
【0005】
しかしながら、特許文献1の防火区画貫通処理部材の延焼抑制性能には、改善の余地がある。
【0006】
本発明は、このような問題点に鑑みてなされたものであって、火災が延焼するのを効率的に抑えた防火区画貫通処理部材、及びこの防火区画貫通処理部材を備える防火区画材を提供することを目的とする。
【課題を解決するための手段】
【0007】
前記課題を解決するために、この発明は以下の手段を提案している。
(1)本発明の態様1は、熱膨張性黒鉛を含む管材と、前記管材の第1端部に形成された開口を覆う第1蓋と、前記管材の第2端部に形成された開口を覆う第2蓋を備える、防火区画貫通処理部材である。
【0008】
この発明では、例えば、第1蓋及び第2蓋に適宜蓋孔を形成し、防火区画貫通処理部材を、防火区画材の貫通孔に配置する。挿通体を、第1蓋及び第2蓋の蓋孔に通す。
例えば、防火区画材に対する第1側に火災が生じると、防火区画材が加熱され、管材に含まれる熱膨張性黒鉛が膨張して、第1蓋と第2蓋との間であって、防火区画材における貫通孔の開口周縁部と挿通体との間の隙間を塞ぐ。
従って、この間を通して空気が流れ難くなり、火災による炎及び熱が、防火区画材の貫通孔を通して防火区画材に対する第2側に達するのが抑制され、火災が延焼するのを効率的に抑えることができる。
【0009】
(2)本発明の態様2は、前記管材内に、周方向に並べて配置された複数の充填片を備える、(1)に記載の防火区画貫通処理部材であってもよい。
この発明では、例えば、第1蓋及び第2蓋における管材の軸線上の部分に蓋孔を開けることにより、この蓋孔を通して、管材の軸線上に挿通体を配置する。すると、管材内において、複数の充填片が挿通体を径方向外側から囲むように配置され、複数の充填片が径方向に圧縮される。これにより、複数の充填片の密度が上昇し、複数の充填片の耐火性を高めることができる。
【0010】
(3)本発明の態様3は、前記第1蓋は、前記管材の前記第1端部側の端面に対向するように配置された第1封止壁を有し、前記第1封止壁には、前記第1封止壁における他の部分よりも強度が低い脆弱部が、前記管材の軸線方向に見たときに環状に形成され、前記軸線方向に見たときに、前記管材の外周面内の面積に対する、前記脆弱部の外周縁内の面積の比が、32%以下である、(1)又は(2)に記載の防火区画貫通処理部材であってもよい。
挿通体が電気配線である場合、内線規定により、防火区画材の貫通孔の断面積に対する電気配線の断面積の比を32%以下にすることが定められている。
この発明では、軸線方向に見たときの管材の外周面内の面積は、防火区画材の貫通孔の断面積よりもわずかに狭い程度である。第1蓋の第1封止壁を脆弱部で破断して、第1封止壁に蓋孔を形成すると、この蓋孔の面積が、管材の外周面内の面積に対して32%となる。このため、蓋孔に通る程度の電気配線を通すことにより、電気配線の断面積を測定することなく、内線規定を守ることができる。
(【0011】以降は省略されています)
この特許をJ-PlatPat(特許庁公式サイト)で参照する
関連特許
積水化学工業株式会社
雨樋システム
28日前
積水化学工業株式会社
太陽電池設置構造
13日前
積水化学工業株式会社
太陽電池設置構造
13日前
積水化学工業株式会社
太陽電池設置構造
13日前
積水化学工業株式会社
基板積層体の製造方法
25日前
積水化学工業株式会社
基板積層体の製造方法
28日前
積水化学工業株式会社
太陽電池モジュールの取付構造
13日前
積水化学工業株式会社
竪樋支持具および排水システム
28日前
積水化学工業株式会社
熱膨張性マイクロカプセル用組成物
27日前
積水化学工業株式会社
ポリオルガノシロキサン、樹脂組成物
4日前
積水化学工業株式会社
超音波トランスデューサ、及び超音波センサ
13日前
積水化学工業株式会社
超音波トランスデューサおよび超音波センサ
13日前
積水化学工業株式会社
継手
25日前
積水化学工業株式会社
継手
18日前
積水化学工業株式会社
ガス製造装置
4日前
積水化学工業株式会社
施工管理システム
1か月前
積水化学工業株式会社
防食用粘着テープ
1か月前
積水化学工業株式会社
光ファイバ担持管梱包体および光ファイバ担持管梱包体用の支持部材
20日前
積水化学工業株式会社
集合継手及び配管構造
25日前
積水化学工業株式会社
電気融着継手、配管システム、配管付き電気融着継手、及び配管更生構造
28日前
積水化学工業株式会社
アダプタおよび継手構造
12日前
積水化学工業株式会社
多口継手及び配管システム
12日前
積水化学工業株式会社
ドレン部材、軒樋、及び雨樋
18日前
積水化学工業株式会社
還元剤およびガスの製造方法
12日前
積水化学工業株式会社
雨樋用曲がり配管及び雨樋システム
25日前
積水化学工業株式会社
軒樋、軒樋システム、及び軒樋梱包体
4日前
積水化学工業株式会社
導電性粒子、ソケット、導電材料及び接続構造体
1か月前
積水化学工業株式会社
補強用接着シートおよびその巻回体並びに風力発電用ブレードの補修方法および風力発電用ブレード
1か月前
積水化学工業株式会社
区画貫通処理構造、区画貫通処理材、及び区画貫通処理構造の施工方法
1か月前
積水化学工業株式会社
ポリオール含有組成物、発泡性ウレタン樹脂組成物、及びポリウレタン発泡体
1か月前
積水化学工業株式会社
ポリオール含有組成物、発泡性ポリウレタン組成物及びポリウレタンフォーム
4日前
積水化学工業株式会社
調光素子用シール剤、硬化性樹脂組成物の調光素子用シール剤としての使用、調光素子、及び、合わせガラス
1か月前
個人
留め具
1か月前
個人
鍋虫ねじ
3か月前
個人
回転伝達機構
3か月前
個人
紛体用仕切弁
3か月前
続きを見る
他の特許を見る