TOP
|
特許
|
意匠
|
商標
特許ウォッチ
Twitter
他の特許を見る
10個以上の画像は省略されています。
公開番号
2025153711
公報種別
公開特許公報(A)
公開日
2025-10-10
出願番号
2024056325
出願日
2024-03-29
発明の名称
継手構造および接続構造
出願人
積水化学工業株式会社
代理人
弁理士法人新樹グローバル・アイピー
主分類
F16L
23/028 20060101AFI20251002BHJP(機械要素または単位;機械または装置の効果的機能を生じ維持するための一般的手段)
要約
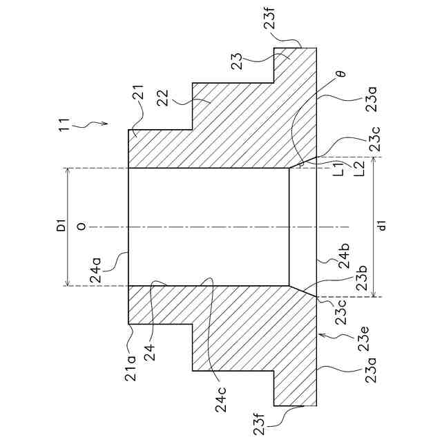
【課題】パーティクルが滞留する隙間の発生を抑制することが可能なスタブエンドを提供すること。
【解決手段】スタブエンド11のフレア部23は、管の接続に用いられ、樹脂材料によって形成された継手構造であって、流路24と、接触面23aと、面取り部23bと、を備える。流路24は、液体が流れる。接触面23aは、流路24の開口24bの周囲に配置され、接続対象との間に配置されるパッキン13に接触する。面取り部23bは、開口24bの縁にC面取り加工で形成され、流路24の内周面24cと接触面23aとの間に配置される。流路24の中心軸Oを含む断面において内周面24cの延伸線L1と面取り部23b上の線L2の成す角度が10度以上60度未満である。
【選択図】図5
特許請求の範囲
【請求項1】
管の接続に用いられ、樹脂材料によって形成された継手構造であって、
液体が流れる流路と、
前記流路の開口の周囲に配置され、接続対象との間に配置されるシール部材に接触する接触面と、
前記開口の縁にC面取り加工で形成され、前記流路の内周面と前記接触面との間に配置された面取り部と、を備え、
前記流路の中心軸を含む断面において前記内周面の延伸線と前記面取り部上の線の成す角度が10度以上60度未満である、
継手構造。
続きを表示(約 670 文字)
【請求項2】
管の接続に用いられ、樹脂材料によって形成された継手構造であって、
液体が流れる流路と、
前記流路の開口の周囲に配置され、接続対象との間に配置されるシール部材に接触する接触面と、
前記開口の縁にC面取り加工で形成され、前記流路の内周面と前記接触面との間に配置された面取り部と、を備え、
前記接触面と前記面取り部の接続部分の内径をd1とし、前記シール部材の内径をd2とすると、0≦(((d2-d1)/2)/d2)×100≦1.9を満たす、
継手構造。
【請求項3】
前記樹脂材料は、ポリエチレンである、
請求項1または2に記載の継手構造。
【請求項4】
前記ポリエチレンは、高密度ポリエチレンである、
請求項3に記載の継手構造。
【請求項5】
前記継手構造は、半導体の洗浄用途に用いられる、
請求項1または2に記載の継手構造。
【請求項6】
請求項1または2に記載の継手構造を有する第1スタブエンドと、
請求項1または2に記載の継手構造を有する第2スタブエンドと、
前記第1スタブエンドの前記接触面と前記第2スタブエンドの前記接触面の間に配置されたシール部材と、
前記第1スタブエンドの周囲に配置された第1フランジと、
前記第2スタブエンドの周囲に配置された第2フランジと、
前記第1フランジと前記第2フランジを締結する締結部と、を備えた、
接続構造。
発明の詳細な説明
【技術分野】
【0001】
本開示は、継手構造および接続構造に関する。
続きを表示(約 1,400 文字)
【背景技術】
【0002】
工場配管等において、管の端部は、他の管の端部と管継手構造によって接続されている(例えば、特許文献1参照。)。
【0003】
特許文献1に示す管継手構造は、パッキンと、パッキンの両側に配置されたスタブエンドと、各々のスタブエンドの外周に設けられたルーズフランジと、を備え、ルーズフランジがボルトによって締結されている。この締結により、スタブエンドがパッキンのリブを圧縮し、リブが潰れてシール性が保たれている。
【0004】
図12は、従来の管継手構造における一対のスタブエンド1001、1002によってパッキン1003が圧縮された状態を示す模式図である。図12には、液体が流れる流路1004が示されている。パッキン1003には、スタブエンド1001とスタブエンド1002の両側に凸部1005が形成されている。スタブエンド1001、1002の各々の接触面1006によって凸部1005が圧縮されて流路1004のシール性が確保される。
【先行技術文献】
【特許文献】
【0005】
特開2021-162147号公報
【発明の概要】
【発明が解決しようとする課題】
【0006】
しかしながら、特許文献1に示す構成では、シール部材の内径とスタブエンドの流路の開口における内径が異なることによって、図12に示す滞留部Sが発生し滞留部Sにおいて渦流が発生することで配管の通水後にパーティクルが発生する現象を引き起こすおそれがある。
【0007】
本開示は、パーティクルが滞留する滞留部の発生を抑制することが可能な継手構造および接続構造を提供することを目的とする。
【課題を解決するための手段】
【0008】
上記目的を達成するために、第1の態様にかかる継手構造は、管の接続に用いられ、樹脂材料によって形成された継手構造であって、流路と、接触面と、面取り部と、を備える。流路は、液体が流れる。接触面は、流路の開口の周囲に配置され、接続対象との間に配置されるシール部材に接触する。面取り部は、開口の縁にC面取り加工で形成され、流路の内周面と接触面との間に配置される。流路の中心軸を含む断面において内周面の延伸線と面取り部上の線の成す角度が10度以上60度未満である。
【0009】
このようにC面取り加工によって面取り部を形成し、流路の中心軸を含む断面において内周面の延伸線と面取り部上の線の成す角度を10度以上60度未満にすることによって、シール部材の内径と継手構造の開口における内径との差を小さくすることが可能となり、パーティクルが滞留する滞留部の発生を抑制できる。
【0010】
第2の態様にかかる継手構造は、管の接続に用いられ、樹脂材料によって形成された継手構造であって、流路と、接触面と、面取り部と、を備える。流路は、液体が流れる。接触面は、流路の開口の周囲に配置され、接続対象との間に配置されるシール部材に接触する。面取り部は、開口の縁にC面取り加工で形成され、流路の内周面と接触面との間に配置される。接触面と面取り部の接続部分の内径をd1とし、シール部材の内径をd2とすると、0≦(((d2-d1)/2)/d2)×100≦1.9を満たす。
(【0011】以降は省略されています)
この特許をJ-PlatPat(特許庁公式サイト)で参照する
関連特許
積水化学工業株式会社
集合継手
24日前
積水化学工業株式会社
製管装置
22日前
積水化学工業株式会社
雨樋システム
3日前
積水化学工業株式会社
配管の接続構造
16日前
積水化学工業株式会社
更生管の製管装置
22日前
積水化学工業株式会社
基板積層体の製造方法
今日
積水化学工業株式会社
基板積層体の製造方法
3日前
積水化学工業株式会社
配管構造及びプレハブ配管
21日前
積水化学工業株式会社
配管構造及びプレハブ配管
21日前
積水化学工業株式会社
竪樋支持具および排水システム
3日前
積水化学工業株式会社
軒樋支持具および雨樋システム
21日前
積水化学工業株式会社
熱膨張性マイクロカプセル用組成物
2日前
積水化学工業株式会社
継手
今日
積水化学工業株式会社
防食用粘着テープ
14日前
積水化学工業株式会社
施工管理システム
8日前
積水化学工業株式会社
集合継手及び配管構造
今日
積水化学工業株式会社
電気融着継手、配管システム、配管付き電気融着継手、及び配管更生構造
3日前
積水化学工業株式会社
集合継手および継手構造
21日前
積水化学工業株式会社
雨樋用曲がり配管及び雨樋システム
今日
積水化学工業株式会社
フレキシブルGHLC素子用シール剤
21日前
積水化学工業株式会社
排水口用保護具及びルーフドレーンの施工方法
21日前
積水化学工業株式会社
導電性粒子、ソケット、導電材料及び接続構造体
14日前
積水化学工業株式会社
補強用接着シートおよびその巻回体並びに風力発電用ブレードの補修方法および風力発電用ブレード
9日前
積水化学工業株式会社
調光素子用シール剤、硬化性樹脂組成物の調光素子用シール剤としての使用、調光素子、及び、合わせガラス
22日前
積水化学工業株式会社
区画貫通処理構造、区画貫通処理材及び区画貫通処理構造の施工方法
24日前
積水化学工業株式会社
区画貫通処理構造、区画貫通処理材、及び区画貫通処理構造の施工方法
8日前
積水化学工業株式会社
ポリオール組成物、難燃性ウレタン樹脂組成物、及びポリウレタン発泡体
24日前
積水化学工業株式会社
ポリオール含有組成物、発泡性ウレタン樹脂組成物、及びポリウレタン発泡体
14日前
積水化学工業株式会社
アレルゲン低減化剤、アレルゲン低減化溶液、アレルゲン低減化塗料、樹脂組成物、アレルゲン低減化製品及びアレルゲン低減化方法
17日前
積水化学工業株式会社
調光素子用シール剤、硬化性樹脂組成物の調光素子用シール剤としての使用、調光素子、及び、合わせガラス
10日前
個人
留め具
24日前
個人
鍋虫ねじ
2か月前
個人
回転伝達機構
3か月前
個人
紛体用仕切弁
2か月前
個人
差動歯車用歯形
4か月前
個人
給排気装置
1か月前
続きを見る
他の特許を見る