TOP
|
特許
|
意匠
|
商標
特許ウォッチ
Twitter
他の特許を見る
10個以上の画像は省略されています。
公開番号
2025159921
公報種別
公開特許公報(A)
公開日
2025-10-22
出願番号
2024062787
出願日
2024-04-09
発明の名称
配管の接続構造
出願人
積水化学工業株式会社
代理人
個人
,
個人
,
個人
,
個人
主分類
F16L
47/03 20060101AFI20251015BHJP(機械要素または単位;機械または装置の効果的機能を生じ維持するための一般的手段)
要約
【課題】施工性を向上させることが可能となる配管の接続構造の提供を目的とする。
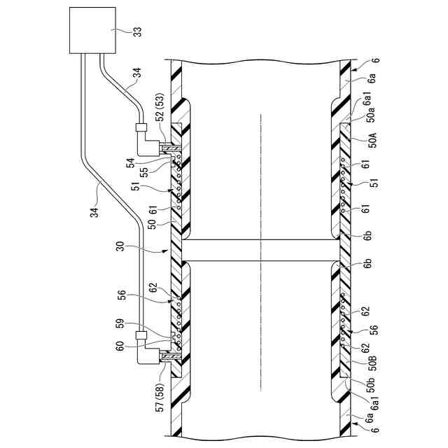
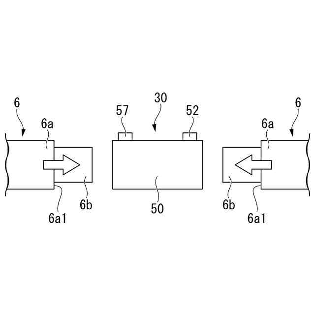
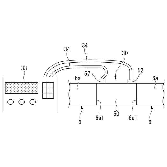
【解決手段】配管の接続構造は、電気融着継手30と、配管本体6aと配管本体6aの管軸方向の端部から延出して電気融着継手30内に挿入される挿し口6bとを有する配管6と、を備え、配管本体6aの管軸方向の端部には、電気融着継手30の管軸方向の端部に当接可能なストッパ部6a1が設けられている。
【選択図】図1
特許請求の範囲
【請求項1】
電気融着継手と、
配管本体と、前記配管本体の管軸方向の端部から延出して前記電気融着継手内に挿入される挿し口とを有する配管と、
を備え、
前記配管本体の管軸方向の端部には、前記電気融着継手の管軸方向の端部に当接可能なストッパ部が設けられている、配管の接続構造。
続きを表示(約 130 文字)
【請求項2】
前記電気融着継手の外径と、前記配管本体の外径とが同等である、請求項1に記載の配管の接続構造。
【請求項3】
前記電気融着継手および前記配管は、既設配管の内部に収容される更生用配管を構成する、請求項1または2に記載の配管の接続構造。
発明の詳細な説明
【技術分野】
【0001】
本発明は、配管の接続構造に関する。
続きを表示(約 2,000 文字)
【背景技術】
【0002】
ポリエチレン管を接続する際、電気融着継手を用いる接続構造が知られている。
以下の特許文献1には、被覆ポリエチレン管100の管端を継手本体12の受口16にストッパ20に当接するまで挿入し、その後、コントローラから端子部22を介して電熱線18に通電し、融着することで接続することができると記載されている。
【先行技術文献】
【特許文献】
【0003】
特開2012-167768号公報
【発明の概要】
【発明が解決しようとする課題】
【0004】
電気融着継手に管を挿入する際、ストッパに当接するまで挿入できておらず、途中挿入となった場合、電熱線を通電しても、管と融着することができず、施工不良となる場合がある。そのため前述の構成では、確実に継手のストッパまで当接するまで挿入できたことを挿入後に確認するために、予め管に継手のストッパまで挿入した時の標線を記入し、挿入後に標線の位置と継手端面の位置が一致していることを目視で確認することで、確実に接続されたことを確認している。しかし、施工者が標線を記入し忘れると、施工が確実にできているか不明となるため、やり直す必要が出てきてしまい、施工が煩雑となる場合がある。
【0005】
本発明では、前述した事情に鑑み、施工性を向上させることが可能となる配管の接続構造の提供を目的とする。
【課題を解決するための手段】
【0006】
前記課題を解決するために、本発明は以下の形態を提案している。
<1>本発明の一形態に係る配管の接続構造は、
電気融着継手と、
配管本体と、前記配管本体の管軸方向の端部から延出して前記電気融着継手内に挿入される挿し口とを有する配管と、
を備え、
前記配管本体の管軸方向の端部には、前記電気融着継手の管軸方向の端部に当接可能なストッパ部が設けられている。
【0007】
<1>の配管の接続構造によれば、配管の配管本体の管軸方向の端部から延出する挿し口を電気融着継手内に挿入し、配管本体の管軸方向の端部のストッパ部を電気融着継手の管軸方向の端部に当接させて、電気融着継手に通電して配管と電気融着継手とを接続する。すると、挿し口が電気融着継手内に適正な長さ挿入された状態で接続されていれば、接続後に、配管本体のストッパ部と電気融着継手の端部とが当接状態になるため、これを目視で確認することで適正に接続できていることを確認することができる。よって、確認のための標線を記入する等の面倒な作業が不要となり、施工性を向上させることが可能となる。また、標線の記入が不要となり、標線の記入し忘れに起因する施工のやり直し等の煩雑な作業もなくなるため、この点でも施工性を向上させることが可能となる。
また、配管の配管本体から延出する挿し口を電気融着継手内に挿入し配管本体の管軸方向の端部のストッパ部を電気融着継手の端部に当接させる構造であることから、配管本体からの電気融着継手の径方向外方への突出量を抑制することができるため、電気融着継手が施工を阻害することを抑制でき、この点でも施工性を向上させることが可能となる。
加えて、配管の配管本体の管軸方向の端部のストッパ部を電気融着継手の端部に当接させる構造であることから、配管の配管本体の管軸方向の端部と電気融着継手の管軸方向の端部との間の外周側に開口する隙間を低減することができるため、この隙間へのゴミの付着等を抑制することが可能となる。
【0008】
<2>前記<1>に係る配管の接続構造では、
前記電気融着継手の外径と、前記配管本体の外径とが同等であることが好ましい。
このように、電気融着継手の外径と、配管本体の外径とが同等であることで、配管本体からの電気融着継手の径方向外方への突出量をなくすことができるため、電気融着継手が施工を阻害することを一層抑制でき、施工性を一層向上させることが可能となる。
【0009】
<3>前記<1>または<2>に係る配管の接続構造では、
前記電気融着継手および前記配管は、既設配管の内部に収容される更生用配管を構成するのが好ましい。
このように、既設配管の内部に収容される更生用配管を構成することにより、配管本体からの電気融着継手の径方向外方への突出量を抑制することによって、例えば既設配管内での移動時に電気融着継手が他の部品に引っかかる等して施工を阻害することを抑制でき、施工性を一層向上させることが可能となる。
【発明の効果】
【0010】
本発明は、以上説明したとおり、施工性を向上させることが可能となるという効果を奏する。
【図面の簡単な説明】
(【0011】以降は省略されています)
この特許をJ-PlatPat(特許庁公式サイト)で参照する
関連特許
積水化学工業株式会社
粘着テープ
5日前
積水化学工業株式会社
粘着テープ
5日前
積水化学工業株式会社
太陽電池設置構造
21日前
積水化学工業株式会社
表示素子用封止剤
1日前
積水化学工業株式会社
液晶デバイス用シール剤
1日前
積水化学工業株式会社
表面材及び表面材付き基材
5日前
積水化学工業株式会社
ポリオルガノシロキサン、樹脂組成物
12日前
積水化学工業株式会社
既設管更生方法および既設管更生設備
6日前
積水化学工業株式会社
硬化性樹脂組成物及び表示素子用封止剤
1日前
積水化学工業株式会社
超音波トランスデューサおよび超音波センサ
21日前
積水化学工業株式会社
超音波トランスデューサ、及び超音波センサ
21日前
積水化学工業株式会社
ガス製造装置
12日前
積水化学工業株式会社
アダプタおよび継手構造
20日前
積水化学工業株式会社
多口継手及び配管システム
20日前
積水化学工業株式会社
ポリビニルアセタール樹脂
5日前
積水化学工業株式会社
ポリビニルアセタール樹脂
5日前
積水化学工業株式会社
ポリビニルアセタール樹脂
1日前
積水化学工業株式会社
ポリビニルアセタール樹脂
5日前
積水化学工業株式会社
ポリビニルアセタール樹脂
5日前
積水化学工業株式会社
ポリビニルアセタール樹脂
5日前
積水化学工業株式会社
ポリビニルアセタール樹脂
5日前
積水化学工業株式会社
ポリビニルアセタール樹脂
5日前
積水化学工業株式会社
ポリビニルアセタール樹脂
5日前
積水化学工業株式会社
ポリビニルアセタール樹脂
5日前
積水化学工業株式会社
ポリビニルアセタール樹脂
5日前
積水化学工業株式会社
還元剤およびガスの製造方法
20日前
積水化学工業株式会社
軒樋、軒樋システム、及び軒樋梱包体
12日前
積水化学工業株式会社
ウレタン樹脂組成物及びポリウレタンフォーム
5日前
積水化学工業株式会社
ポリビニルアセタール樹脂、ポリビニルアセタール樹脂溶液の製造方法
5日前
積水化学工業株式会社
ポリビニルアセタール樹脂、ポリビニルアセタール樹脂溶液の製造方法
5日前
積水化学工業株式会社
ポリビニルアセタール樹脂、ポリビニルアセタール樹脂溶液の製造方法
5日前
積水化学工業株式会社
ポリオール含有組成物、発泡性ポリウレタン組成物及びポリウレタンフォーム
12日前
個人
留め具
1か月前
個人
鍋虫ねじ
3か月前
個人
紛体用仕切弁
3か月前
個人
回転伝達機構
4か月前
続きを見る
他の特許を見る