TOP
|
特許
|
意匠
|
商標
特許ウォッチ
Twitter
他の特許を見る
10個以上の画像は省略されています。
公開番号
2025172218
公報種別
公開特許公報(A)
公開日
2025-11-20
出願番号
2025156447,2023180445
出願日
2025-09-19,2019-03-11
発明の名称
アダプタおよび継手構造
出願人
積水化学工業株式会社
代理人
個人
,
個人
,
個人
,
個人
主分類
E03C
1/12 20060101AFI20251113BHJP(上水;下水)
要約
【課題】多様なサイズの立管に継手を対応させる。
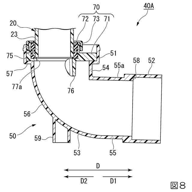
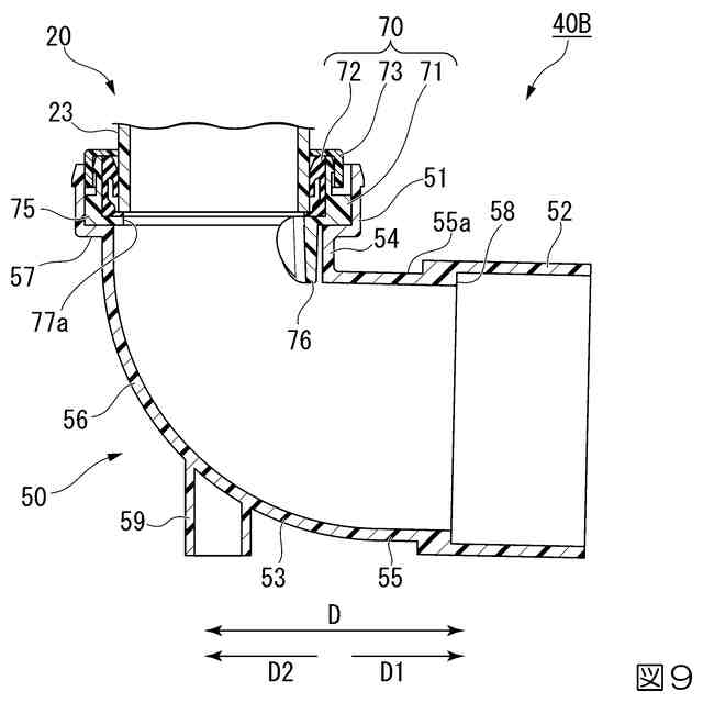
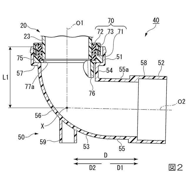
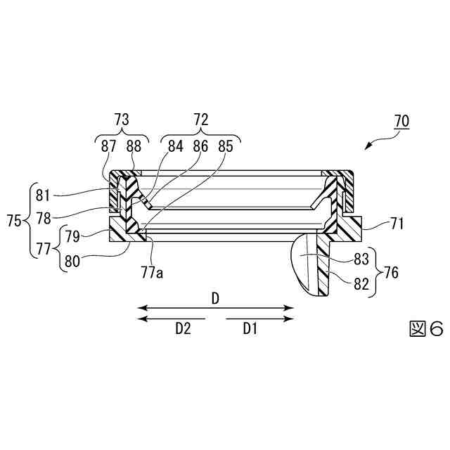
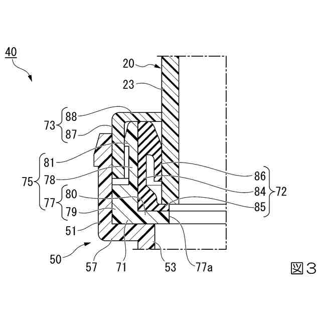
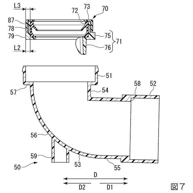
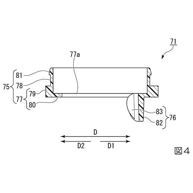
【解決手段】アダプタ70は、内部に立管20が配置される第1端部51と、横管が装着される第2端部52と、第1端部51と第2端部52とを接続する曲管部53と、を備える継手50に用いられ、立管20と第1端部51との間に配置されるアダプタ70であって、第1端部51内に配置され、第1端部51と曲管部53とを接続する第1段部57に支持され、かつ、内部に立管20が配置される本体部75と、本体部75から突出して曲管部53内に配置される整流部76と、を備える。
【選択図】図2
特許請求の範囲
【請求項1】
内部に立管が配置される第1端部と、横管が装着される第2端部と、前記第1端部と前記第2端部とを接続する曲管部と、を備える継手に用いられ、前記立管と前記第1端部との間に配置されるアダプタであって、
前記第1端部内に配置され、前記第1端部と前記曲管部とを接続する第1段部に支持され、かつ、内部に前記立管が配置される本体部と、
前記本体部から突出して前記曲管部内に配置される整流部と、を備えるアダプタ。
続きを表示(約 450 文字)
【請求項2】
前記本体部内に配置され、内部に前記立管が嵌合される弾性リングと、
前記本体部に装着され、前記弾性リングの前記本体部からの離脱を規制する規制部材と、を更に備える請求項1に記載のアダプタ。
【請求項3】
内部に立管が配置される第1端部と、横管が装着される第2端部と、前記第1端部と前記第2端部とを接続する曲管部と、を備える継手と、
請求項1または2に記載のアダプタと、を備える継手構造。
【請求項4】
内部に立管が配置される第1端部と、横管が装着される第2端部と、前記第1端部と前記第2端部とを接続する曲管部と、を備える継手と、
請求項2に記載のアダプタと、を備え、
前記規制部材が、前記第1端部内に配置される継手構造。
【請求項5】
前記曲管部は、前記第2端部から前記第2端部の軸線方向に延びる第2管部を備え、 前記整流部は、前記第2管部の管頂よりも上方に位置する請求項3または4に記載の継手構造。
発明の詳細な説明
【技術分野】
【0001】
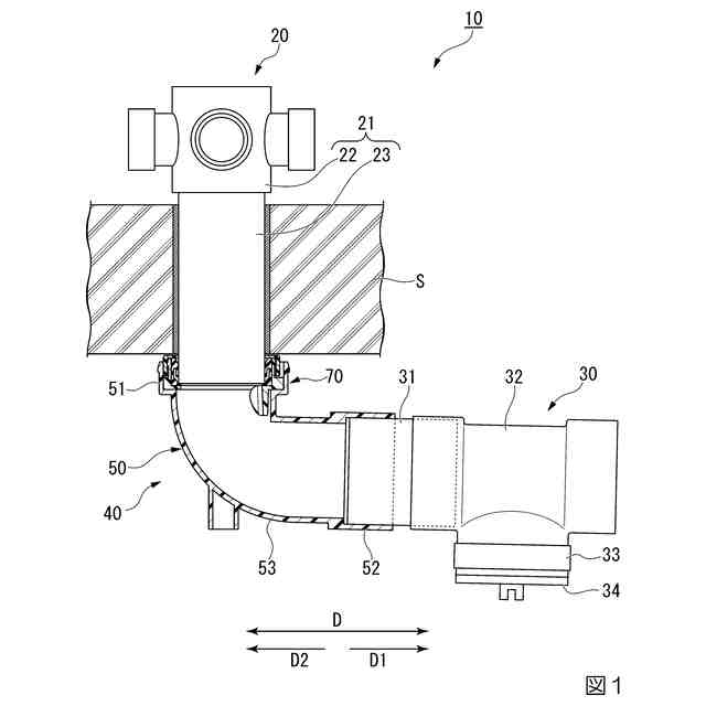
本発明は、アダプタおよび継手構造に関する。
続きを表示(約 2,000 文字)
【背景技術】
【0002】
従来から、例えば下記特許文献1に記載されたような、立管と横管とを接続する継手が知られている。
【先行技術文献】
【特許文献】
【0003】
特開2004-116732号公報
【発明の概要】
【発明が解決しようとする課題】
【0004】
しかしながら、前記従来の継手では、立管のサイズごとに継手を用意する必要がある。
【0005】
本発明は、前述した事情に鑑みてなされたものであって、多様なサイズの立管に継手を対応させることを目的とする。
【課題を解決するための手段】
【0006】
前記課題を解決するために、本発明は以下の手段を提案している。
本発明に係るアダプタは、内部に立管が配置される第1端部と、横管が装着される第2端部と、前記第1端部と前記第2端部とを接続する曲管部と、を備える継手に用いられ、前記立管と前記第1端部との間に配置されるアダプタであって、前記第1端部内に配置され、前記第1端部と前記曲管部とを接続する第1段部に支持され、かつ、内部に前記立管が配置される本体部と、前記本体部から突出して前記曲管部内に配置される整流部と、を備える。
【0007】
本体部が第1端部内に配置され、かつ、本体部内に立管が配置される。したがって、立管が第1端部よりも小径の場合であっても、立管を第1端部にアダプタを介して装着させることができる。その結果、同一の継手を、多様なサイズの立管に適用することができる。これにより、例えば、金型などの設備投資を抑えること等ができる。
アダプタを使用することで、前述のように継手に対して小径な立管を適用することができる。この場合、立管から継手に排水が排出されるときに、排水が継手内に排出される領域を、継手を上側から見た上面視において、立管の内部空間が投影される領域に収めることができる。よって、継手内に、排水によって満たされない空間(空気層)を確保し易くすることができる。ここで、継手内が排水によって満たされた場合、排水が継手から高速で排出されると立管内が負圧になり易く、排水が継手から低速で排出されると立管内が正圧になり易い。そのため、立管からの排水時に継手内に空気層を確保することで、立管内の予期しない負圧化や正圧化を抑制することができる。その結果、立管が、例えば、横管の第1端部が接続されるいわゆる集合継手を含む場合には、前記横管の第2端部が接続される排水設備において封水破壊が生じるのを抑制することができる。
本体部が、継手の第1段部に支持される。したがって、アダプタの本体部を継手の第1段部によって下方から支持することが可能になり、例えば、アダプタおよび立管を、継手によって安定して支持すること等ができる。
整流部が、本体部から突出して曲管部内に配置される。したがって、仮に立管内を流下する排水が旋回流を形成したとしても、その旋回流を整流部によって整流し、排水の挙動を制御し易くすることができる。これにより、継手の排水性能を良好に確保することができる。
整流部が、継手ではなくアダプタに備えられている。したがって、例えば前述のように、立管が第1端部よりも小径の場合であっても、立管と整流部との位置関係を適切に調整し易くすることができる。すなわち、整流部が継手に備えられている場合であって、立管が第1端部よりも小径であるとき、例えば、立管が配置される第1端部内の位置によっては、立管から流下する排水が整流部から離れ過ぎるおそれがある。この場合、整流部による排水の整流が不十分になり、継手の排水性能が確保できない可能性がある。
【0008】
前記本体部内に配置され、内部に前記立管が嵌合される弾性リングと、前記本体部に装着され、前記弾性リングの前記本体部からの離脱を規制する規制部材と、を更に備えてもよい。
【0009】
弾性リングが本体部内に配置され、弾性リング内に立管が嵌合される。したがって、立管から継手内に流れる排水の予期せぬ漏出を抑制することができる。
規制部材が、本体部に装着され、かつ、弾性リングの本体部からの離脱を規制する。したがって、前述した排水の漏出を抑制する効果を、単に規制部材を本体部に装着させることによって確実に奏功させることができる。
【0010】
本発明に係る継手構造は、内部に立管が配置される第1端部と、横管が装着される第2端部と、前記第1端部と前記第2端部とを接続する曲管部と、を備える継手と、前記アダプタと、を備える。
(【0011】以降は省略されています)
この特許をJ-PlatPat(特許庁公式サイト)で参照する
関連特許
積水化学工業株式会社
樹脂管
1か月前
積水化学工業株式会社
配管構造
1か月前
積水化学工業株式会社
集合継手
1か月前
積水化学工業株式会社
製管装置
1か月前
積水化学工業株式会社
解析方法
1か月前
積水化学工業株式会社
積層構造体
1か月前
積水化学工業株式会社
耐火処理構造
1か月前
積水化学工業株式会社
耐火処理構造
1か月前
積水化学工業株式会社
雨樋システム
20日前
積水化学工業株式会社
両面粘着テープ
1か月前
積水化学工業株式会社
配管の接続構造
1か月前
積水化学工業株式会社
両面粘着テープ
1か月前
積水化学工業株式会社
太陽電池設置構造
5日前
積水化学工業株式会社
太陽電池設置構造
5日前
積水化学工業株式会社
防食用粘着テープ
1か月前
積水化学工業株式会社
更生管の製管方法
1か月前
積水化学工業株式会社
更生管の製管装置
1か月前
積水化学工業株式会社
太陽電池設置構造
5日前
積水化学工業株式会社
基板積層体の製造方法
17日前
積水化学工業株式会社
基板積層体の製造方法
20日前
積水化学工業株式会社
樹脂組成物、放熱部材
1か月前
積水化学工業株式会社
継手構造および接続構造
1か月前
積水化学工業株式会社
床の施工方法及び建築物
1か月前
積水化学工業株式会社
配管構造及びプレハブ配管
1か月前
積水化学工業株式会社
集合継手及び排水システム
1か月前
積水化学工業株式会社
配管構造及びプレハブ配管
1か月前
積水化学工業株式会社
生産管理システムおよび方法
1か月前
積水化学工業株式会社
生産管理システムおよび方法
1か月前
積水化学工業株式会社
竪樋支持具および排水システム
20日前
積水化学工業株式会社
軒樋支持具および雨樋システム
1か月前
積水化学工業株式会社
太陽電池モジュールの取付構造
5日前
積水化学工業株式会社
継手、配管構造、配管の施工方法
1か月前
積水化学工業株式会社
プログラム及び情報処理システム
1か月前
積水化学工業株式会社
集合継手及び集合継手の製造方法
1か月前
積水化学工業株式会社
マスターバッチ、及びその製造方法
1か月前
積水化学工業株式会社
粒体、地盤改良材及び地盤改良方法
1か月前
続きを見る
他の特許を見る