TOP
|
特許
|
意匠
|
商標
特許ウォッチ
Twitter
他の特許を見る
10個以上の画像は省略されています。
公開番号
2025150937
公報種別
公開特許公報(A)
公開日
2025-10-09
出願番号
2024052103
出願日
2024-03-27
発明の名称
耐火処理構造
出願人
積水化学工業株式会社
代理人
個人
,
個人
主分類
E04B
1/94 20060101AFI20251002BHJP(建築物)
要約
【課題】挿通体を通すための開口が設けられた駆体材による仕切り部において、アース作業が不要であって、耐火性能のバラつきを低減し、かつ十分な耐火性能を維持させることができる耐火処理構造を提供する。
【解決手段】第1の開口15A及び第2の開口15Bが形成された駆体材12A,12Bによる建築物の仕切り部11において、第1の開口15Aには、第1の開口15Aを覆うように駆体材12Bの背面11D側に設置される樹脂製の箱状部材3と、箱状部材3の前面側に対向するように設置される蓋状部材4とを備え、第2の開口15Bには、挿通体21が挿通し、かつ第2の開口15Bと挿通体21との間の間隙を塞ぐように第1の耐火材1が配置され、箱状部材3の少なくとも一部が耐火材である、又は、箱状部材3に第2の耐火材5A,5Bが配置されている、耐火処理構造。
【選択図】図1
特許請求の範囲
【請求項1】
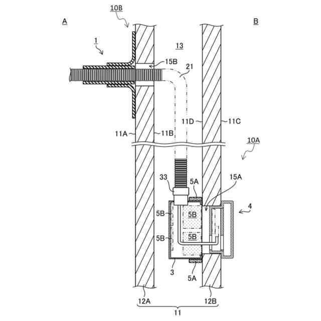
第1の開口及び第2の開口が形成された駆体材による建築物の仕切り部において、
前記第1の開口には、前記第1の開口を覆うように前記駆体材の背面側に設置される樹脂製の箱状部材と、前記箱状部材の前面側に対向するように設置される蓋状部材とを備え、
前記第2の開口には、挿通体が挿通し、かつ前記第2の開口と前記挿通体との間の間隙を塞ぐように第1の耐火材が配置され、
前記箱状部材の少なくとも一部が耐火材である、又は、前記箱状部材に第2の耐火材が配置されている、耐火処理構造。
続きを表示(約 940 文字)
【請求項2】
前記第1の耐火材は、テープ状部材、シート状部材及び耐火充填材の少なくともいずれかを備え、
前記テープ状部材、前記シート状部材及び前記耐火充填材の少なくともいずれかが前記挿通体と接するように配置されている、請求項1に記載の耐火処理構造。
【請求項3】
前記第1の耐火材は、前記挿通体を内部に取り囲み、前記第2の開口に挿入される筒状部と、前記筒状部の一端側で外方に向かって張り出し、前記駆体材に接するように配置される鍔状部とを備え、前記筒状部及び前記鍔状部の少なくともいずれかが熱膨張性を有する熱膨張性成形体である、請求項1に記載の耐火処理構造。
【請求項4】
前記第1の耐火材は、前記第2の開口において前記挿通体を取り囲み、前記第2の開口と前記挿通体との間の少なくとも一部の間隙を塞ぎ、熱膨張性を有する膨張材である、請求項1に記載の耐火処理構造。
【請求項5】
前記第1の耐火材は、前記第2の開口において前記挿通体を取り囲む金属製、樹脂製及び紙製の少なくともいずれかのスリーブに設置された、熱膨張性を有する膨張材である、請求項1に記載の耐火処理構造。
【請求項6】
前記第1の耐火材と前記挿通体との間の間隙の少なくとも一部を塞ぐカバー部材をさらに備える、請求項1~5のいずれか1項に記載の耐火処理構造。
【請求項7】
前記駆体材に接し、前記第1の耐火材の設置位置を規定可能な係止部をさらに備える、請求項1に記載の耐火処理構造。
【請求項8】
前記箱状部材に配置されている前記第2の耐火材が前記駆体材と接するように配置されている、請求項1に記載の耐火処理構造。
【請求項9】
前記蓋状部材と前記駆体材との間に配置され、前記蓋状部材と前記駆体材との間の間隙を塞いでいる第3の耐火材をさらに備える、請求項1に記載の耐火処理構造。
【請求項10】
前記第2の耐火材は、前記箱状部材と前記駆体材との間に配置され、前記箱状部材と前記駆体材との間の間隙を塞いでいる、請求項1に記載の耐火処理構造。
(【請求項11】以降は省略されています)
発明の詳細な説明
【技術分野】
【0001】
本発明は、建築物などの仕切り部において形成される耐火処理構造に関する。
続きを表示(約 3,800 文字)
【背景技術】
【0002】
集合住宅、オフィスビル、学校等の建築物において、壁等の仕切り部には、ケーブル類、配管類などの挿通体を通すために、駆体材(壁材)に開口が設けられ、開口を挿通した挿通体を集約する情報盤、防火設備操作盤及び配電盤等の金属製の箱体が開口を覆うように設置されている(例えば、特許文献1参照)。
【0003】
開口が設けられた駆体材による仕切り部は、いずれかの区画で火災が発生した際に、他の区画への延焼を防止するために、防火措置を施した構造(耐火構造)にすることが求められている。そこで、開口が設けられた駆体材による仕切り部を耐火構造とする方法としては、例えば、開口における挿通体との間隙に、耐火パテなどの不定形充填材を充填する方法が知られている。
【先行技術文献】
【特許文献】
【0004】
特開2023-58922号公報
【発明の概要】
【発明が解決しようとする課題】
【0005】
しかしながら、開口が設けられた駆体材の防火処理に不定形充填材を使用した場合、作業者によるバラつきがあり、十分な耐火性能が得られないことがある。また、情報盤、防火設備操作盤及び配電盤等の金属製の箱体は、駆体材の経年劣化や箱体に作用する外力の蓄積によって、開口との界面に隙間が生じることがあり、不定形充填材を使用した耐火構造では耐火性能が悪化してしまうことがあり、耐火性能を維持することが困難である。また、金属製の箱体は、漏電による火災などの事故を防ぐために、大地と同電位にするアース作業が必要となる。
【0006】
そこで、本発明は、挿通体を通すための開口が設けられた駆体材による仕切り部において、アース作業が不要であって、耐火性能のバラつきを低減し、かつ十分な耐火性能を維持させることができる耐火処理構造を提供することを課題とする。
【課題を解決するための手段】
【0007】
本発明は、上記課題を解決するためになされたものであり、本発明の要旨は、以下のとおりである。
[1]第1の開口及び第2の開口が形成された駆体材による建築物の仕切り部において、前記第1の開口には、前記第1の開口を覆うように前記駆体材の背面側に設置される樹脂製の箱状部材と、前記箱状部材の前面側に対向するように設置される蓋状部材とを備え、前記第2の開口には、挿通体が挿通し、かつ前記第2の開口と前記挿通体との間の間隙を塞ぐように第1の耐火材が配置され、前記箱状部材の少なくとも一部が耐火材である、又は、前記箱状部材に第2の耐火材が配置されている、耐火処理構造。
[2]前記第1の耐火材は、テープ状部材、シート状部材及び耐火充填材の少なくともいずれかを備え、前記テープ状部材、前記シート状部材及び前記耐火充填材の少なくともいずれかが前記挿通体と接するように配置されている、[1]に記載の耐火処理構造。
[3]前記第1の耐火材は、前記挿通体を内部に取り囲み、前記第2の開口に挿入される筒状部と、前記筒状部の一端側で外方に向かって張り出し、前記駆体材に接するように配置される鍔状部とを備え、前記筒状部及び前記鍔状部の少なくともいずれかが熱膨張性を有する熱膨張性成形体である、[1]又は[2]に記載の耐火処理構造。
[4]前記第1の耐火材は、前記第2の開口において前記挿通体を取り囲み、前記第2の開口と前記挿通体との間の少なくとも一部の間隙を塞ぎ、熱膨張性を有する膨張材である、[1]~[3]のいずれかに記載の耐火処理構造。
[5]前記第1の耐火材は、前記第2の開口において前記挿通体を取り囲む金属製、樹脂製及び紙製の少なくともいずれかのスリーブに設置された、熱膨張性を有する膨張材である、[1]~[4]のいずれかに記載の耐火処理構造。
[6]前記第1の耐火材と前記挿通体との間の間隙の少なくとも一部を塞ぐカバー部材をさらに備える、[1]~[5]のいずれかに記載の耐火処理構造。
[7]前記駆体材に接し、前記第1の耐火材の設置位置を規定可能な係止部をさらに備える、[1]~[6]のいずれかに記載の耐火処理構造。
[8]前記箱状部材に配置されている前記第2の耐火材が前記駆体材と接するように配置されている、[1]~[7]のいずれかに記載の耐火処理構造。
[9]前記蓋状部材と前記駆体材との間に配置され、前記蓋状部材と前記駆体材との間の間隙を塞いでいる第3の耐火材をさらに備える、[1]~[8]のいずれかに記載の耐火処理構造。
[10]前記第2の耐火材は、前記箱状部材と前記駆体材との間に配置され、前記箱状部材と前記駆体材との間の間隙を塞いでいる、[1]~[9]のいずれかに記載の耐火処理構造。
[11]前記箱状部材の内部及び外部のいずれかに機能材が配置されている、[1]~[10]のいずれかに記載の耐火処理構造。
【発明の効果】
【0008】
本発明によれば、挿通体を通すための開口が設けられた駆体材による仕切り部において、アース作業が不要であって、耐火性能のバラつきを低減し、かつ十分な耐火性能を維持させることができる耐火処理構造を提供することができる。
【図面の簡単な説明】
【0009】
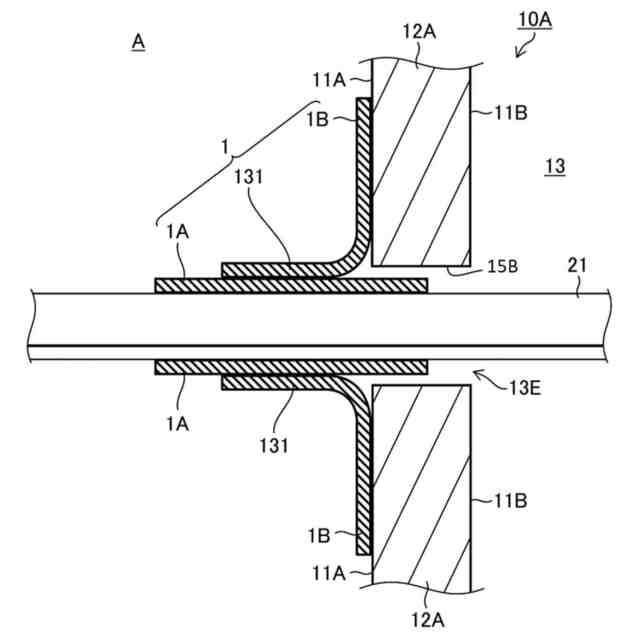
本発明の第1の実施形態に係る耐火処理構造を示す断面図である。
本発明の第1の実施形態に係る耐火処理構造の一方の区画貫通処理構造を示す断面図である。
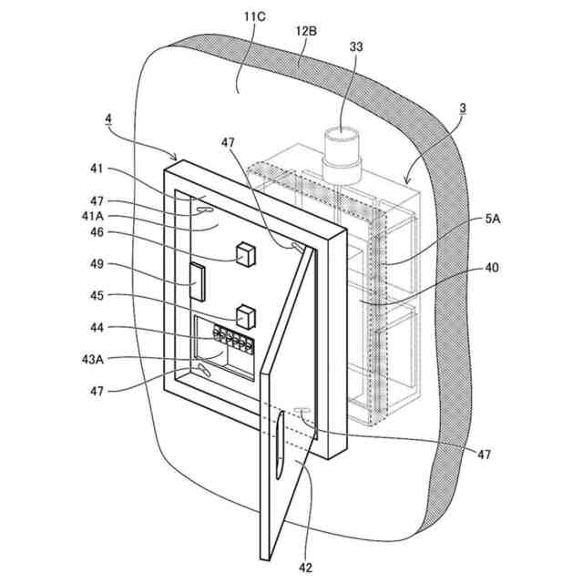
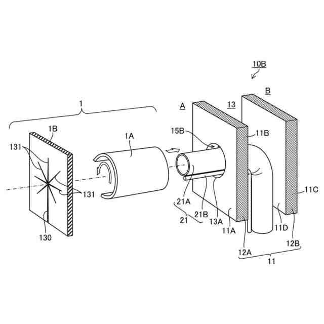
本発明の第1の実施形態に係る耐火処理構造を構成する箱状部材の正面図である。
本発明の第1の実施形態に係る耐火処理構造を構成する蓋状部材の斜視図(その1)である。
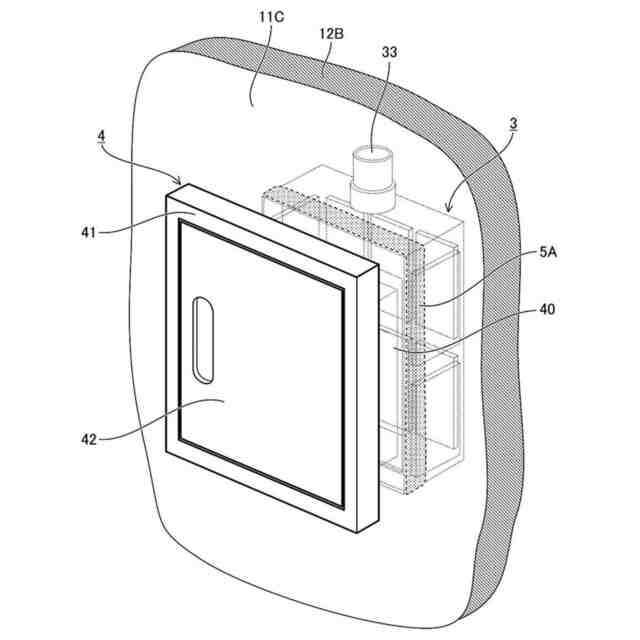
本発明の第1の実施形態に係る耐火処理構造を構成する蓋状部材の斜視図(その2)である。
本発明の第1の実施形態に係る耐火処理構造を構成する箱状部材と蓋状部材の設置関係を示す斜視図である。
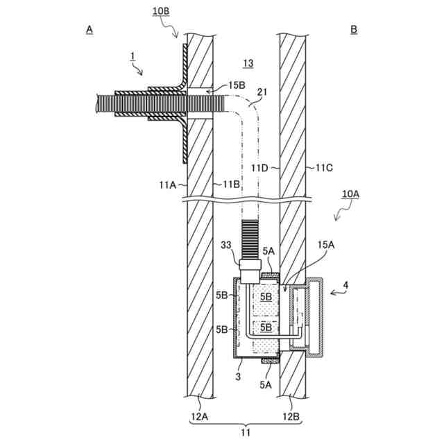
本発明の第1の実施形態に係る耐火処理構造の他方の区画貫通処理構造を示す模式的斜視図である。
本発明の第1の実施形態に係る耐火処理構造の他方の区画貫通処理構造を示す断面図である。
本発明の第1の実施形態の変形例1に係る耐火処理構造の他方の区画貫通処理構造を示す模式的斜視図である。
本発明の第1の実施形態の変形例1に係る耐火処理構造の他方の区画貫通処理構造を示す断面図である。
本発明の第1の実施形態の変形例2に係る耐火処理構造の他方の区画貫通処理構造を示す模式的斜視図である。
本発明の第1の実施形態の変形例2に係る耐火処理構造の他方の区画貫通処理構造を示す断面図である。
本発明の第1の実施形態の変形例3に係る耐火処理構造の他方の区画貫通処理構造を示す模式的斜視図である。
本発明の第1の実施形態の変形例3に係る耐火処理構造の他方の区画貫通処理構造を示す断面図である。
本発明の第1の実施形態の変形例4に係る耐火処理構造の他方の区画貫通処理構造を示す模式的斜視図である。
本発明の第1の実施形態の変形例4に係る耐火処理構造の他方の区画貫通処理構造を示す断面図である。
本発明の第1の実施形態の変形例5に係る耐火処理構造の他方の区画貫通処理構造を示す模式的斜視図である。
本発明の第1の実施形態の変形例5に係る耐火処理構造の他方の区画貫通処理構造を示す断面図である。
本発明の第1の実施形態の変形例6に係る耐火処理構造の他方の区画貫通処理構造を示す模式的斜視図である。
本発明の第1の実施形態の変形例6に係る耐火処理構造の他方の区画貫通処理構造を示す断面図である。
本発明の第1の実施形態の変形例7に係る耐火処理構造の他方の区画貫通処理構造を示す模式的斜視図(その1)である。
本発明の第1の実施形態の変形例7に係る耐火処理構造の他方の区画貫通処理構造を示す断面図(その1)である。
本発明の第1の実施形態の変形例7に係る耐火処理構造の他方の区画貫通処理構造を示す模式的斜視図(その2)である。
本発明の第1の実施形態の変形例7に係る耐火処理構造の他方の区画貫通処理構造を示す断面図(その2)である。
本発明の第1の実施形態の変形例8に係る耐火処理構造の他方の区画貫通処理構造を示す断面図(その1)である。
本発明の第1の実施形態の変形例8に係る耐火処理構造の他方の区画貫通処理構造を示す断面図(その2)である。
本発明の第2の実施形態に係る耐火処理構造の一方の区画貫通処理構造を示す断面図である。
本発明の第3の実施形態に係る耐火処理構造の一方の区画貫通処理構造を示す断面図である。
本発明のその他の実施形態に係る耐火処理構造を示す断面図である。
【発明を実施するための形態】
【0010】
以下、本発明について実施形態を用いてより詳細に説明する。
(【0011】以降は省略されています)
この特許をJ-PlatPat(特許庁公式サイト)で参照する
関連特許
積水化学工業株式会社
雨樋システム
28日前
積水化学工業株式会社
配管の接続構造
1か月前
積水化学工業株式会社
太陽電池設置構造
13日前
積水化学工業株式会社
太陽電池設置構造
13日前
積水化学工業株式会社
太陽電池設置構造
13日前
積水化学工業株式会社
基板積層体の製造方法
25日前
積水化学工業株式会社
基板積層体の製造方法
28日前
積水化学工業株式会社
竪樋支持具および排水システム
28日前
積水化学工業株式会社
太陽電池モジュールの取付構造
13日前
積水化学工業株式会社
熱膨張性マイクロカプセル用組成物
27日前
積水化学工業株式会社
ポリオルガノシロキサン、樹脂組成物
4日前
積水化学工業株式会社
超音波トランスデューサおよび超音波センサ
13日前
積水化学工業株式会社
超音波トランスデューサ、及び超音波センサ
13日前
積水化学工業株式会社
継手
18日前
積水化学工業株式会社
継手
25日前
積水化学工業株式会社
ガス製造装置
4日前
積水化学工業株式会社
防食用粘着テープ
1か月前
積水化学工業株式会社
施工管理システム
1か月前
積水化学工業株式会社
光ファイバ担持管梱包体および光ファイバ担持管梱包体用の支持部材
20日前
積水化学工業株式会社
集合継手及び配管構造
25日前
積水化学工業株式会社
電気融着継手、配管システム、配管付き電気融着継手、及び配管更生構造
28日前
積水化学工業株式会社
アダプタおよび継手構造
12日前
積水化学工業株式会社
多口継手及び配管システム
12日前
積水化学工業株式会社
還元剤およびガスの製造方法
12日前
積水化学工業株式会社
ドレン部材、軒樋、及び雨樋
18日前
積水化学工業株式会社
雨樋用曲がり配管及び雨樋システム
25日前
積水化学工業株式会社
軒樋、軒樋システム、及び軒樋梱包体
4日前
積水化学工業株式会社
排水口用保護具及びルーフドレーンの施工方法
1か月前
積水化学工業株式会社
導電性粒子、ソケット、導電材料及び接続構造体
1か月前
積水化学工業株式会社
補強用接着シートおよびその巻回体並びに風力発電用ブレードの補修方法および風力発電用ブレード
1か月前
積水化学工業株式会社
区画貫通処理構造、区画貫通処理材、及び区画貫通処理構造の施工方法
1か月前
積水化学工業株式会社
ポリオール含有組成物、発泡性ウレタン樹脂組成物、及びポリウレタン発泡体
1か月前
積水化学工業株式会社
ポリオール含有組成物、発泡性ポリウレタン組成物及びポリウレタンフォーム
4日前
積水化学工業株式会社
アレルゲン低減化剤、アレルゲン低減化溶液、アレルゲン低減化塗料、樹脂組成物、アレルゲン低減化製品及びアレルゲン低減化方法
1か月前
積水化学工業株式会社
調光素子用シール剤、硬化性樹脂組成物の調光素子用シール剤としての使用、調光素子、及び、合わせガラス
1か月前
個人
接合構造
1か月前
続きを見る
他の特許を見る