TOP
|
特許
|
意匠
|
商標
特許ウォッチ
Twitter
他の特許を見る
10個以上の画像は省略されています。
公開番号
2025164952
公報種別
公開特許公報(A)
公開日
2025-10-30
出願番号
2025144879,2023153292
出願日
2025-09-01,2020-06-04
発明の名称
区画貫通処理構造、区画貫通処理材、及び区画貫通処理構造の施工方法
出願人
積水化学工業株式会社
代理人
個人
,
個人
主分類
F16L
5/04 20060101AFI20251023BHJP(機械要素または単位;機械または装置の効果的機能を生じ維持するための一般的手段)
要約
【課題】防火性能のバラつきを低減し、かつ区画貫通処理材が規定通りに設置されていることを簡単に確認できる。
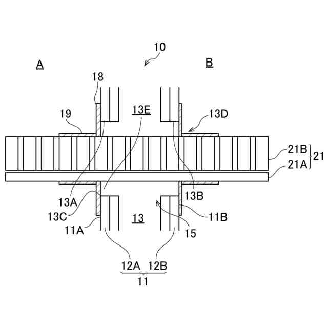
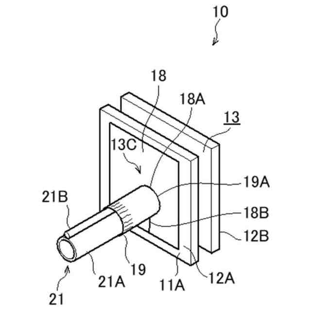
【解決手段】区画貫通処理構造10は、建築物の仕切り部11に形成され、かつ内部に長尺の挿通体21が挿通される区画貫通部15を防火構造とする。区画貫通処理構造10は、仕切り部11に設けられる区画貫通部15の開口13Cと挿通体21との間の間隙13Eの少なくとも一部を塞ぐシート状部材18と、挿通体21に一周以上巻き付けて配置されるテープ状部材19とを備え、シート状部材18及びテープ状部材19の少なくともいずれかが耐火材を有する。
【選択図】図1
特許請求の範囲
【請求項1】
建築物の仕切り部に形成され、かつ内部に長尺の挿通体が挿通される区画貫通部を防火構造とする区画貫通処理構造であって、
前記仕切り部に設けられる前記区画貫通部の開口と前記挿通体との間の間隙の少なくとも一部を塞ぐシート状部材と、
前記挿通体に一周以上巻き付けて配置されるテープ状部材とを備え、
前記シート状部材及びテープ状部材の少なくともいずれかが耐火材を有する、区画貫通処理構造。
続きを表示(約 940 文字)
【請求項2】
前記シート状部材及びテープ状部材が、外部から視認可能である請求項1に記載の区画貫通処理構造。
【請求項3】
前記区画貫通部の内部に、前記テープ状部材及び前記シート状部材の少なくともいずれかに連結した、耐火材及び付属品の少なくともが一方が配置される請求項1又は2に記載の区画貫通処理構造。
【請求項4】
前記区画貫通部の内部に挿通体以外に、何も設けられず、また前記シート状部材及び前記テープ状以外の部材が単独で設けられない、請求項1~3のいずれか1項に記載の区画貫通処理構造。
【請求項5】
前記テープ状部材が、内周側に配置された粘着剤層又は耐火材層、及び、外周側から巻かれた紐状部材又は粘着テープの少なくともいずれかによって前記挿通体に固定される、請求項1~4のいずれか1項に記載の区画貫通処理構造。
【請求項6】
前記テープ状部材と前記シート状部材を備える区画貫通処理材が前記仕切り部の両側に設けられる請求項1~5のいずれか1項に記載の区画貫通処理構造。
【請求項7】
前記シート状部材が、前記挿通体及び仕切り部に接する、請求項1~6のいずれか1項に記載の区画貫通処理構造。
【請求項8】
前記シート状部材が、前記仕切り部の外側から前記間隙を覆うように配置される請求項1~7のいずれか1項に記載の区画貫通処理構造。
【請求項9】
前記シート状部材が、スリーブ状にされて前記開口と前記挿通体との間の間隙に挿入される請求項1~6のいずれか1項に記載の区画貫通処理構造。
【請求項10】
建築物の仕切り部に形成され、かつ内部に長尺の挿通体が挿通される区画貫通部を防火構造とするために用いる区画貫通処理材であって、
前記仕切り部に設けられる前記区画貫通部の開口と前記挿通体との間の間隙の少なくとも一部を塞ぐシート状部材と、
前記挿通体に一周以上巻き付けて配置されるテープ状部材とを備え、
前記シート状部材及びテープ状部材の少なくともいずれかが耐火材を有する、区画貫通処理材。
(【請求項11】以降は省略されています)
発明の詳細な説明
【技術分野】
【0001】
本発明は、建築物などの仕切り部において形成される区画貫通処理構造、区画貫通処理構造を形成するための区画貫通処理材、及び区画貫通処理構造の施工方法に関する。
続きを表示(約 2,900 文字)
【背景技術】
【0002】
集合住宅、オフィスビル、学校等の建築物において、壁等の仕切り部には、ケーブル類、配管類などの長尺の挿通体を通すために、区画貫通部が設けられることがある。区画貫通部は、いずれかの区画で火災が発生した際に、他の区画への延焼を防止するために、防火措置を施した構造(防火構造)にすることが求められている。仕切り部は、2枚の壁部からなり、壁部間が中空部となっている中空壁が一般的である。
【0003】
区画貫通部を防火構造とする方法は、例えば、長尺の挿通体と貫通孔の間隙に、耐火パテや、耐火パテを袋体内部に詰めた耐火パックなどを充填する方法が知られている。不定形充填材を使用する場合、各壁部の貫通孔内部と、挿通体の間には、耐火材よりなる筒状部材などが合わせて配設されることもある(例えば、特許文献1、2参照)。
【先行技術文献】
【特許文献】
【0004】
特許第6150933号公報
特許第6348320号公報
【発明の概要】
【発明が解決しようとする課題】
【0005】
しかしながら、区画貫通部の防火処理に不定形充填材を使用した場合、作業者によるバラつきがあり、十分な防火性能が得られないことがある。また、躯体内に耐火材及びその付属品等を設置する場合、それらがどの程度(量や厚み、長さ等)設置されているか明確でなかったり、規定通りに設置されているか判断できなかったりすることがある。そのため、規定通りに耐火材などが設置されているか否かを確認するためには、区画貫通処理構造を破壊して、内部構造を確認する必要がある。
【0006】
また作業者によるバラつきを低減するため、あらかじめ決められた量、及び大きさの部材が一体化されたキットがあったが、部材点数が多い傾向があり、部材紛失や設置し忘れが生じやすく、また、キットごとの梱包のため、発生するゴミが多いという問題もある。
【0007】
そこで、本発明は、防火性能のバラつきを低減し、かつ区画貫通処理材が規定通りに設置されていることを簡単に確認できる、区画貫通処理構造、区画貫通処理構造の施工方法、及び区画貫通処理材を提供することを課題とする。
【課題を解決するための手段】
【0008】
本発明は、上記課題を解決するためになされたものであり、本発明の要旨は、以下のとおりである。
[1]建築物の仕切り部に形成され、かつ内部に長尺の挿通体が挿通される区画貫通部を防火構造とする区画貫通処理構造であって、
前記仕切り部に設けられる前記区画貫通部の開口と前記挿通体との間の間隙の少なくとも一部を塞ぐシート状部材と、
前記挿通体に一周以上巻き付けて配置されるテープ状部材とを備え、
前記シート状部材及びテープ状部材の少なくともいずれかが耐火材を有する、区画貫通処理構造。
[2]前記シート状部材及びテープ状部材が、外部から視認可能である上記[1]に記載の区画貫通処理構造。
[3]前記区画貫通部の内部に、前記テープ状部材及び前記シート状部材の少なくともいずれかに連結した、耐火材及び付属品の少なくともが一方が配置される上記[1]又は[2]に記載の区画貫通処理構造。
[4]前記区画貫通部の内部に挿通体以外に、何も設けられず、また前記シート状部材及び前記テープ状以外の部材が単独で設けられない、上記[1]~[3]のいずれか1項に記載の区画貫通処理構造。
[5]前記テープ状部材が、内周側に配置された粘着剤層又は耐火材層、及び、外周側から巻かれた紐状部材又は粘着テープの少なくともいずれかによって前記挿通体に固定される、上記[1]~[4]のいずれか1項に記載の区画貫通処理構造。
[6]前記テープ状部材と前記シート状部材を備える区画貫通処理材が前記仕切り部の両側に設けられる上記[1]~[5]のいずれか1項に記載の区画貫通処理構造。
[7]前記シート状部材が、前記挿通体及び仕切り部に接する、上記[1]~[6]のいずれか1項に記載の区画貫通処理構造。
[8]前記シート状部材が、前記仕切り部の外側から前記間隙を覆うように配置される上記[1]~[7]のいずれか1項に記載の区画貫通処理構造。
[9]前記シート状部材が、スリーブ状にされて前記開口と前記挿通体との間の間隙に挿入される上記[1]~[6]のいずれか1項に記載の区画貫通処理構造。
[10]建築物の仕切り部に形成され、かつ内部に長尺の挿通体が挿通される区画貫通部を防火構造とするために用いる区画貫通処理材であって、
前記仕切り部に設けられる前記区画貫通部の開口と前記挿通体との間の間隙の少なくとも一部を塞ぐシート状部材と、
前記挿通体に一周以上巻き付けて配置されるテープ状部材とを備え、
前記シート状部材及びテープ状部材の少なくともいずれかが耐火材を有する、区画貫通処理材。
[11]建築物の仕切り部に形成され、かつ内部に長尺の挿通体が挿通される区画貫通部を防火構造とする区画貫通処理構造の施工方法であって、
前記仕切り部に設けられる前記区画貫通部の開口と前記挿通体との間の間隙の少なくとも一部を塞ぐようにシート状部材を設置する工程と、
前記挿通体に一周以上テープ状部材を巻き付ける工程とを備え、
前記シート状部材及びテープ状部材の少なくともいずれかが耐火材を有する、区画貫通処理構造の施工方法。
【発明の効果】
【0009】
本発明によれば、防火性能のバラつきを低減し、かつ区画貫通処理材が規定通りに設置されていることを簡単に確認できる、区画貫通処理構造、区画貫通処理構造の施工方法、及び区画貫通処理材を提供できる。
【図面の簡単な説明】
【0010】
本発明の第1の実施形態に係る区画貫通処理構造を示す断面図である。
本発明の第1の実施形態に係る区画貫通処理構造において、区画貫通処理材が設置される前の状態を示す斜視図である。
本発明の第1の実施形態に係る区画貫通処理構造を示す斜視図である。
本発明の第2の実施形態に係る区画貫通処理構造を示す断面図である。
本発明の第2の実施形態に係る区画貫通処理構造において、区画貫通処理材が設置される前の状態を示す斜視図である。
本発明の第2の実施形態に係る区画貫通処理構造を示す斜視図である。
第2の実施形態におけるシート状部材の変形例を示す斜視図である。
第2の実施形態に係る区画貫通処理構造の変形例を示す断面図である。
第2の実施形態に係る区画貫通処理構造の別の変形例を示す断面図である。
第2の実施形態に係る区画貫通処理構造の別の変形例を示す断面図である。
【発明を実施するための形態】
(【0011】以降は省略されています)
この特許をJ-PlatPat(特許庁公式サイト)で参照する
関連特許
積水化学工業株式会社
集合継手
1か月前
積水化学工業株式会社
製管装置
1か月前
積水化学工業株式会社
雨樋システム
27日前
積水化学工業株式会社
配管の接続構造
1か月前
積水化学工業株式会社
防食用粘着テープ
1か月前
積水化学工業株式会社
太陽電池設置構造
12日前
積水化学工業株式会社
更生管の製管装置
1か月前
積水化学工業株式会社
太陽電池設置構造
12日前
積水化学工業株式会社
太陽電池設置構造
12日前
積水化学工業株式会社
基板積層体の製造方法
24日前
積水化学工業株式会社
基板積層体の製造方法
27日前
積水化学工業株式会社
配管構造及びプレハブ配管
1か月前
積水化学工業株式会社
配管構造及びプレハブ配管
1か月前
積水化学工業株式会社
軒樋支持具および雨樋システム
1か月前
積水化学工業株式会社
太陽電池モジュールの取付構造
12日前
積水化学工業株式会社
竪樋支持具および排水システム
27日前
積水化学工業株式会社
熱膨張性マイクロカプセル用組成物
26日前
積水化学工業株式会社
ポリオルガノシロキサン、樹脂組成物
3日前
積水化学工業株式会社
超音波トランスデューサおよび超音波センサ
12日前
積水化学工業株式会社
超音波トランスデューサ、及び超音波センサ
12日前
積水化学工業株式会社
継手
17日前
積水化学工業株式会社
継手
24日前
積水化学工業株式会社
ガス製造装置
3日前
積水化学工業株式会社
施工管理システム
1か月前
積水化学工業株式会社
防食用粘着テープ
1か月前
積水化学工業株式会社
光ファイバ担持管梱包体および光ファイバ担持管梱包体用の支持部材
19日前
積水化学工業株式会社
集合継手及び配管構造
24日前
積水化学工業株式会社
電気融着継手、配管システム、配管付き電気融着継手、及び配管更生構造
27日前
積水化学工業株式会社
アダプタおよび継手構造
11日前
積水化学工業株式会社
集合継手および継手構造
1か月前
積水化学工業株式会社
多口継手及び配管システム
11日前
積水化学工業株式会社
ドレン部材、軒樋、及び雨樋
17日前
積水化学工業株式会社
還元剤およびガスの製造方法
11日前
積水化学工業株式会社
雨樋用曲がり配管及び雨樋システム
24日前
積水化学工業株式会社
軒樋、軒樋システム、及び軒樋梱包体
3日前
積水化学工業株式会社
フレキシブルGHLC素子用シール剤
1か月前
続きを見る
他の特許を見る