TOP
|
特許
|
意匠
|
商標
特許ウォッチ
Twitter
他の特許を見る
公開番号
2025161834
公報種別
公開特許公報(A)
公開日
2025-10-24
出願番号
2025131841,2021036536
出願日
2025-08-06,2021-03-08
発明の名称
防食用粘着テープ
出願人
積水化学工業株式会社
代理人
個人
,
個人
,
個人
,
個人
主分類
C09J
7/38 20180101AFI20251017BHJP(染料;ペイント;つや出し剤;天然樹脂;接着剤;他に分類されない組成物;他に分類されない材料の応用)
要約
【課題】複雑な形状を有する被着体に対して優れた防食性を有する防食用粘着テープを提供する。
【解決手段】本発明の防食用粘着テープ10は、100℃における破断点伸度が150%以上であるフィルム11と、フィルム11の少なくとも一方の面11aに設けられた粘着剤層12とを備え、JIS K5600-7-9におけるサイクルDに準拠したサイクル腐食試験において錆が発生せず、かつサイクル腐食試験後の粘着力が20N/25mm以上である。
【選択図】図1
特許請求の範囲
【請求項1】
100℃における破断点伸度が150%以上であるフィルムと、前記フィルムの少なくとも一方の面に設けられた粘着剤層とを備え、JIS K5600-7-9におけるサイクルDに準拠したサイクル腐食試験において錆が発生せず、かつサイクル腐食試験後の粘着力が20N/25mm以上である、防食用粘着テープ。
続きを表示(約 360 文字)
【請求項2】
前記粘着剤層の厚みが100μm以上である、請求項1に記載の防食用粘着テープ。
【請求項3】
前記粘着剤層が、鉄よりも電位が卑な金属を含有する、請求項1又は2に記載の防食用粘着テープ。
【請求項4】
鉄よりも電位が卑な金属が亜鉛である、請求項3に記載の防食用粘着テープ。
【請求項5】
前記粘着剤層が、前記鉄よりも電位が卑な金属以外の導電性材料を含有する、請求項3又は4に記載の防食用粘着テープ。
【請求項6】
前記導電性材料がカーボンナノチューブである、請求項5に記載の防食用粘着テープ。
【請求項7】
前記粘着剤層がアクリル系粘着剤により形成されている、請求項1~6のいずれか1項に記載の防食用粘着テープ。
発明の詳細な説明
【技術分野】
【0001】
本発明は、防食用粘着テープに関する。
続きを表示(約 2,300 文字)
【背景技術】
【0002】
鋼材などの鉄又は鉄を含む合金を防食するために、亜鉛を多量に含有した防食塗料が広く用いられている。亜鉛は、鉄よりも電位が卑な金属であり、犠牲防食作用があるため、高い防食性を有することが知られている。しかし、塗料による防食は、塗布後に乾燥工程などが必要であり、作業に時間がかかり、例えば、橋梁などの土木、建築用途で局所的な補修を行う際には、作業効率が低下する。また、塗料による防食は、作業ムラも生じやすい。
【0003】
上記状況を鑑みて、従来、粘着テープなどに犠牲防食性を付与させ、作業性を向上させる取り組みがなされている。例えば、特許文献1では、亜鉛粉末が含有される導電性粘着剤層、亜鉛板、樹脂フィルム、及びステンレス板からなる積層体である防食部材を、金属製配管の外周面に取り付ける防食方法が開示されている。この防食方法では、粘着剤層に含まれる亜鉛粉末、及び亜鉛板が犠牲陽極となり、金属製配管の腐食が防止される。
【0004】
また特許文献2では、導電性材料を含有し、抵抗値が一定値以下の導電性粘着剤層を備えた防食部材が開示されている。該防食部材を用いることにより、粘着物性及び犠牲防食性の両方を良好にすることができる。
【先行技術文献】
【特許文献】
【0005】
特開平9-242982号公報
特開2019-127606号公報
【発明の概要】
【発明が解決しようとする課題】
【0006】
しかしながら、特許文献1に記載の防食部材は、複雑な形状を有する被着体の形状に追従することができないので、複雑な形状を有する被着体に防食部材を十分に密着させることができず、防食部材の防食性を十分に発揮できない。
また、特許文献2の防食部材は、基材を有する片面粘着テープも開示されるが、基材の柔軟性についての検討が十分になされていない。そのため、複雑な形状を有する被着体の形状に追従することができずに、防食性を十分に発揮できないおそれがある。
そこで、本発明は、複雑な形状を有する被着体に対して優れた防食性を有する防食用粘着テープを提供することを課題とする。
【課題を解決するための手段】
【0007】
本発明者らは、鋭意検討の結果、100℃における破断点伸度が一定以上であるフィルムと、フィルムの少なくとも一方の面に設けられた粘着剤層とを備え、JIS K5600-7-9におけるサイクルDに準拠したサイクル腐食試験において錆が発生せず、かつサイクル腐食試験後の粘着力が一定以上である、防食用粘着テープにより、上記課題が解決できることを見出し、以下の本発明を完成させた。
すなわち、本発明は、以下の[1]~[7]を提供する。
[1]100℃における破断点伸度が150%以上であるフィルムと、前記フィルムの少なくとも一方の面に設けられた粘着剤層とを備え、JIS K5600-7-9におけるサイクルDに準拠したサイクル腐食試験において錆が発生せず、かつサイクル腐食試験後の粘着力が20N/25mm以上である、防食用粘着テープ。
[2]前記粘着剤層の厚みが100μm以上である、上記[1]に記載の防食用粘着テープ。
[3]前記粘着剤層が、鉄よりも電位が卑な金属を含有する、上記[1]又は[2]に記載の防食用粘着テープ。
[4]鉄よりも電位が卑な金属が亜鉛である、上記[3]に記載の防食用粘着テープ。
[5]前記粘着剤層が、前記鉄よりも電位が卑な金属以外の導電性材料を含有する、上記[3]又は[4]に記載の防食用粘着テープ。
[6]前記導電性材料がカーボンナノチューブである、上記[5]に記載の防食用粘着テープ。
[7]前記粘着剤層がアクリル系粘着剤により形成されている、上記[1]~[6]のいずれか1つに記載の防食用粘着テープ。
【発明の効果】
【0008】
本発明によれば、複雑な形状を有する被着体に対して優れた防食性を有する防食用粘着テープを提供することができる。
【図面の簡単な説明】
【0009】
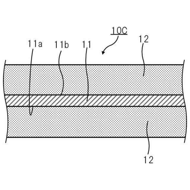
図1は本発明の一実施形態の防食用粘着テープの断面図である。
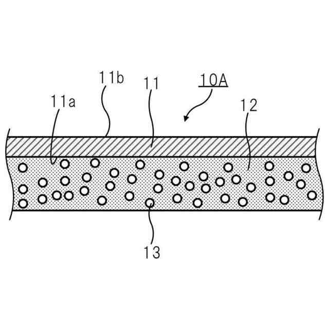
図2は粘着剤層が犠牲防食金属を含む場合の本発明の一実施形態の防食用粘着テープの断面図である。
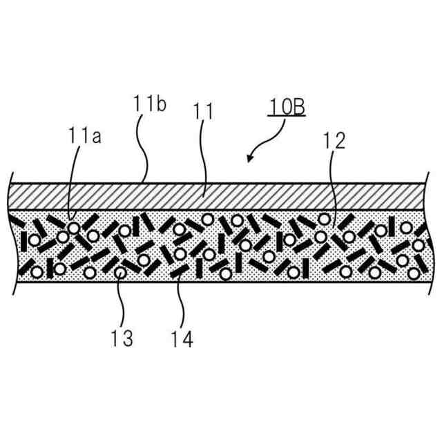
図3は粘着剤層が犠牲防食金属に加えて導電性材料を含む場合の本発明の一実施形態の防食用粘着テープの断面図である。
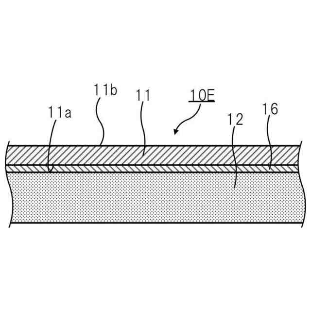
図4は本発明の一実施形態の防食用粘着テープの変形例の断面図である。
図5は本発明の一実施形態の防食用粘着テープの変形例の断面図である。
図6は本発明の一実施形態の防食用粘着テープの変形例の断面図である。
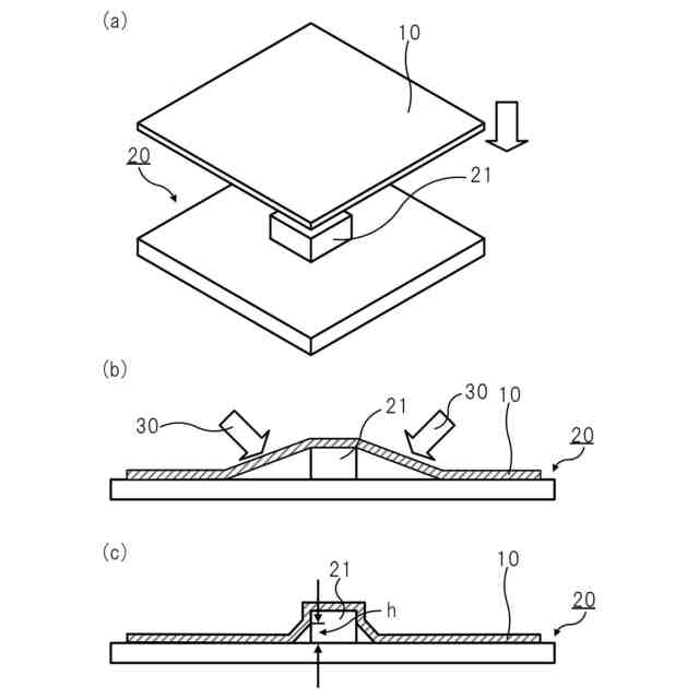
図7(a)~(c)は凸部追従性の試験方法を説明するための図である。
【発明を実施するための形態】
【0010】
[防食用粘着テープ]
図1を参照して、本発明の一実施形態の防食用粘着テープを説明する。本発明の一実施形態の防食用粘着テープ10は、100℃における破断点伸度が150%以上であるフィルム11と、フィルム11の少なくとも一方の面11aに設けられた粘着剤層12とを備える。粘着テープは、JIS K5600-7-9におけるサイクルDに準拠したサイクル腐食試験において錆が発生せず、かつサイクル腐食試験後の粘着力が20N/25mm以上である。
(【0011】以降は省略されています)
この特許をJ-PlatPat(特許庁公式サイト)で参照する
関連特許
積水化学工業株式会社
粘着テープ
5日前
積水化学工業株式会社
粘着テープ
5日前
積水化学工業株式会社
太陽電池設置構造
21日前
積水化学工業株式会社
表示素子用封止剤
1日前
積水化学工業株式会社
太陽電池設置構造
21日前
積水化学工業株式会社
太陽電池設置構造
21日前
積水化学工業株式会社
基板積層体の製造方法
1か月前
積水化学工業株式会社
液晶デバイス用シール剤
1日前
積水化学工業株式会社
表面材及び表面材付き基材
5日前
積水化学工業株式会社
竪樋支持具および排水システム
1か月前
積水化学工業株式会社
太陽電池モジュールの取付構造
21日前
積水化学工業株式会社
熱膨張性マイクロカプセル用組成物
1か月前
積水化学工業株式会社
既設管更生方法および既設管更生設備
6日前
積水化学工業株式会社
ポリオルガノシロキサン、樹脂組成物
12日前
積水化学工業株式会社
硬化性樹脂組成物及び表示素子用封止剤
1日前
積水化学工業株式会社
超音波トランスデューサ、及び超音波センサ
21日前
積水化学工業株式会社
超音波トランスデューサおよび超音波センサ
21日前
積水化学工業株式会社
継手
26日前
積水化学工業株式会社
継手
1か月前
積水化学工業株式会社
ガス製造装置
12日前
積水化学工業株式会社
光ファイバ担持管梱包体および光ファイバ担持管梱包体用の支持部材
28日前
積水化学工業株式会社
集合継手及び配管構造
1か月前
積水化学工業株式会社
アダプタおよび継手構造
20日前
積水化学工業株式会社
電気融着継手、配管システム、配管付き電気融着継手、及び配管更生構造
1か月前
積水化学工業株式会社
多口継手及び配管システム
20日前
積水化学工業株式会社
ポリビニルアセタール樹脂
1日前
積水化学工業株式会社
ポリビニルアセタール樹脂
5日前
積水化学工業株式会社
ポリビニルアセタール樹脂
5日前
積水化学工業株式会社
ポリビニルアセタール樹脂
5日前
積水化学工業株式会社
ポリビニルアセタール樹脂
5日前
積水化学工業株式会社
ポリビニルアセタール樹脂
5日前
積水化学工業株式会社
ポリビニルアセタール樹脂
5日前
積水化学工業株式会社
ポリビニルアセタール樹脂
5日前
積水化学工業株式会社
ポリビニルアセタール樹脂
5日前
積水化学工業株式会社
ポリビニルアセタール樹脂
5日前
積水化学工業株式会社
ポリビニルアセタール樹脂
5日前
続きを見る
他の特許を見る