TOP
|
特許
|
意匠
|
商標
特許ウォッチ
Twitter
他の特許を見る
公開番号
2025149446
公報種別
公開特許公報(A)
公開日
2025-10-08
出願番号
2024050103
出願日
2024-03-26
発明の名称
蛍光体
出願人
デンカ株式会社
代理人
個人
,
個人
,
個人
主分類
C09K
11/63 20060101AFI20251001BHJP(染料;ペイント;つや出し剤;天然樹脂;接着剤;他に分類されない組成物;他に分類されない材料の応用)
要約
【課題】新規蛍光体を提供すること。
【解決手段】本開示の一側面は、RbBaB
7
O
12
と同一の結晶構造を有する母体結晶と、賦活元素としてのEu
2+
と、を有する、蛍光体を提供する。上記蛍光体は、波長266nmの光を照射した際に得られる蛍光スペクトルにおいて、435~455nmの波長域に発光ピークを有してよく、一般式RbBa
1-x
B
7
O
12
:Eu
x
[一般式中、xは0<x<1を満たす数値である]で表されてもよい。
【選択図】なし
特許請求の範囲
【請求項1】
RbBaB
7
O
12
と同一の結晶構造を有する母体結晶と、
賦活元素としてのEu
2+
と、を有する、蛍光体。
続きを表示(約 730 文字)
【請求項2】
波長266nmの光を照射した際に得られる蛍光スペクトルにおいて、435~455nmの波長域に発光ピークを有する、請求項1に記載の蛍光体。
【請求項3】
前記発光ピークの半値幅が50nm未満である、請求項2に記載の蛍光体。
【請求項4】
一般式RbBa
1-x
B
7
O
12
:Eu
x
[一般式中、xは0<x<1を満たす数値である]で表される、請求項1~3のいずれか一項に記載の蛍光体。
【請求項5】
前記母体結晶は単斜晶系に属し、空間群P2
1
/c対称性を有する結晶である、請求項1~3のいずれか一項に記載の蛍光体。
【請求項6】
X線回折によって測定される前記母体結晶の格子定数a、b、及びcが、それぞれ、
a=1.06±0.05nmの範囲内、
b=0.85±0.05nmの範囲内、
c=1.25±0.05nmの範囲内、
である、請求項1~3のいずれか一項に記載の蛍光体。
【請求項7】
X線回折によって測定される前記母体結晶の単位格子における軸角α、β、及びγが、
それぞれ、
α=90°、
112°≦β≦113°、
γ=90°、
である、請求項1~3のいずれか一項に記載の蛍光体。
【請求項8】
X線回折によって測定される前記母体結晶の格子定数から算出される単位格子体積が、1.042±0.005nm
3
の範囲内である、請求項1~3のいずれか一項に記載の蛍光体。
発明の詳細な説明
【技術分野】
【0001】
本開示は、蛍光体に関する。
続きを表示(約 2,100 文字)
【背景技術】
【0002】
蛍光体は、発光表示管(Vaccum-Fluorescent Display:VFD)、フィールドエミッションディスプレイ(Field Emission Display:FRD)、表面電動型電子放出素子ディスプレイ(Surface-Conduction Electron-Emitter Display)、プラズマディスプレイパネル(Plasma Display Panel:PDP)、陰極線管(Cathode-Ray Tube:CRT)、液晶ディスプレイバックライト(Liquid-Crystal Display Backlight)、及び発光ダイオード(Light-Emitting Diode:LED)等の種々の製品に用いられている。
【0003】
蛍光体としては、β-SiAlON、及びCASN等の窒化物に賦活元素を固溶させた蛍光体など種々の蛍光体が知られている。その他、特許文献1には、チオライトと呼ばれるNa
5
Al
3
F
14
に対してMn
4+
を固溶させた赤色蛍光体が開示されている。特許文献2には、Sr
6x
(Si,Al)
27-12x
(O,N)
31-6x
Li
3y
、ただし、0.4≦x≦0.8、0≦y≦0.35、であらわされる結晶及びSr
3
Si
12.432
Al
8.568
O
1.608
N
26.392
Li
0.96
と同一の結晶構造を有する結晶を母体結晶として有する無機化合物を含む蛍光体が開示されている。
【先行技術文献】
【特許文献】
【0004】
特開2019-215451号公報
国際公開第2022/244523号
【発明の概要】
【発明が解決しようとする課題】
【0005】
蛍光体が利用される領域の拡大に伴い、高い色再現性、耐熱性等の要求特性に応じた設計選択肢の拡大の観点から、各種の新規蛍光体が求められている。
【0006】
本開示は、新規蛍光体を提供することを目的とする。
【課題を解決するための手段】
【0007】
本開示は、下記[1]~[8]を提供する。
[1] RbBaB
7
O
12
と同一の結晶構造を有する母体結晶と、賦活元素としてのEu
2+
と、を有する、蛍光体。
[2] 波長266nmの光を照射した際に得られる蛍光スペクトルにおいて、435~455nmの波長域に発光ピークを有する、[1]に記載の蛍光体。
[3] 発光ピークの半値幅が50nm未満である、[2]に記載の蛍光体。
[4] 一般式RbBa
1-x
B
7
O
12
:Eu
x
[一般式中、xは0<x<1を満たす数値である]で表される、[1]~[3]のいずれかに記載の蛍光体。
[5] 母体結晶は単斜晶系に属し、空間群P2
1
/c対称性を有する結晶である、[1]~[4]のいずれかに記載の蛍光体。
[6] X線回折によって測定される母体結晶の格子定数a、b、及びcが、それぞれ、a=1.06±0.05nmの範囲内、b=0.85±0.05nmの範囲内、c=1.25±0.05nmの範囲内、である、[1]~[5]のいずれかに記載の蛍光体。
[7] X線回折によって測定される母体結晶の単位格子における軸角α、β、及びγが、それぞれ、α=90°、112°≦β≦113°、γ=90°、である[1]~[6]のいずれかに記載の蛍光体。
[8] X線回折によって測定される母体結晶の格子定数から算出される単位格子体積が、1.042±0.005nm
3
の範囲内である[1]~[7]のいずれかに記載の蛍光体。
【発明の効果】
【0008】
本開示によれば、新規蛍光体を提供できる。
【図面の簡単な説明】
【0009】
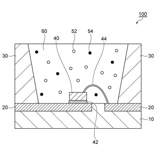
図1は、発光装置の一例を示す模式断面図である。
図2は、実施例1で調製した蛍光体の粉末X線回折パターン及びRbBaB
7
O
12
の粉末X線回折のシミュレーションパターンである。
図3は、実施例1で調製した蛍光体の励起スペクトル及び蛍光スペクトルである。
【発明を実施するための形態】
【0010】
以下、本開示の実施形態を説明する。ただし、以下の実施形態は、本開示を説明するための例示であり、本開示を以下の内容に限定する趣旨ではない。
(【0011】以降は省略されています)
この特許をJ-PlatPat(特許庁公式サイト)で参照する
関連特許
デンカ株式会社
蛍光体
25日前
デンカ株式会社
窓構造
23日前
デンカ株式会社
モルタル材料
23日前
デンカ株式会社
繊維束、及び布
18日前
デンカ株式会社
窒化ケイ素粉末
18日前
デンカ株式会社
窒化ケイ素粉末
18日前
デンカ株式会社
窒化ケイ素粉末
23日前
デンカ株式会社
継手及び継手付管
25日前
デンカ株式会社
窓構造およびシート
23日前
デンカ株式会社
磁性ビーズの製造方法
1か月前
デンカ株式会社
重合体粒子の製造方法
9日前
デンカ株式会社
シート及び食品包装容器
23日前
デンカ株式会社
放熱部材および電子装置
23日前
デンカ株式会社
放熱部材および電子装置
23日前
デンカ株式会社
窒化ケイ素粉末の製造方法
23日前
デンカ株式会社
蛍光体、及びインク組成物
23日前
デンカ株式会社
窒化ホウ素粉末の製造方法
24日前
デンカ株式会社
耐熱付与材及び樹脂組成物
4日前
デンカ株式会社
セラミックス粉末の製造方法
23日前
デンカ株式会社
熱伝導性組成物及び電子機器
24日前
デンカ株式会社
積層シート及び食品包装容器
23日前
デンカ株式会社
窒化ホウ素粉末、及び樹脂成形体
19日前
デンカ株式会社
窒化ホウ素粉末、及び樹脂成形体
19日前
デンカ株式会社
粉体急結材料及びコンクリート材料
24日前
デンカ株式会社
窒化ケイ素粉末、及びその製造方法
23日前
デンカ株式会社
容器の製造方法及び容器の製造装置
5日前
デンカ株式会社
蛍光体粉末、複合体および発光装置
24日前
デンカ株式会社
窒化ケイ素粉末、及びその製造方法
23日前
デンカ株式会社
電子銃部品、電子銃、及び、電子線装置
24日前
デンカ株式会社
仮固定用組成物およびウエハの製造方法
24日前
デンカ株式会社
電子銃部品、電子銃、及び、電子線装置
24日前
デンカ株式会社
熱伝導性スペーサー及び熱伝導性組成物
24日前
デンカ株式会社
熱伝導性スペーサー及び熱伝導性組成物
24日前
デンカ株式会社
熱伝導性スペーサー及び熱伝導性組成物
24日前
デンカ株式会社
半導体封止プロセス用熱可塑性離型フィルム
23日前
デンカ株式会社
半導体封止プロセス用熱可塑性離型フィルム
23日前
続きを見る
他の特許を見る