TOP
|
特許
|
意匠
|
商標
特許ウォッチ
Twitter
他の特許を見る
公開番号
2025143885
公報種別
公開特許公報(A)
公開日
2025-10-02
出願番号
2024043377
出願日
2024-03-19
発明の名称
容器
出願人
デンカ株式会社
代理人
個人
,
個人
,
個人
,
個人
主分類
B65D
21/036 20060101AFI20250925BHJP(運搬;包装;貯蔵;薄板状または線条材料の取扱い)
要約
【課題】利便性を向上することができる容器を提供する。
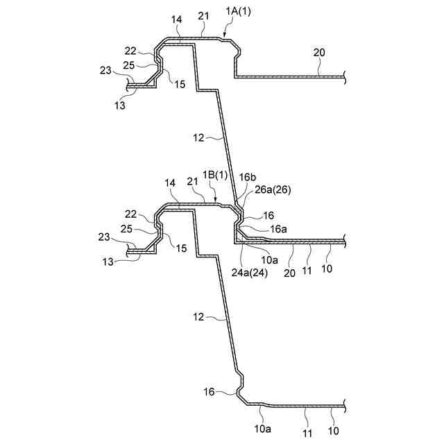
【解決手段】容器1は、シート材の成形品である。容器1は、容器本体10と、容器本体10と一体又は別体に形成された蓋体20と、を備える。容器本体10は、第1本体嵌合部15と、第2本体嵌合部16と、を有する。蓋体20は、第1蓋体嵌合部25と、第2蓋体嵌合部26と、を有する。容器本体10に対して蓋体20が閉じられた場合に、第1本体嵌合部15と第1蓋体嵌合部25とが互いに嵌合する。一の容器1が他の容器1上に重ねられた場合に、一の容器1の第2本体嵌合部16と他の容器1の第2蓋体嵌合部26とが互いに嵌合する。第2本体嵌合部16と第2蓋体嵌合部26との間の嵌合強度は、第1本体嵌合部15と第1蓋体嵌合部25との間の嵌合強度よりも低い。
【選択図】図1
特許請求の範囲
【請求項1】
シート材の成形品である容器であって、
容器本体と、前記容器本体と一体又は別体に形成された蓋体と、を備え、
前記容器本体は、第1本体嵌合部と、第2本体嵌合部と、を有し、
前記蓋体は、第1蓋体嵌合部と、第2蓋体嵌合部と、を有し、
前記容器本体に対して前記蓋体が閉じられた場合に、前記第1本体嵌合部と前記第1蓋体嵌合部とが互いに嵌合し、
一の前記容器が他の前記容器上に重ねられた場合に、前記一の容器の前記第2本体嵌合部と前記他の容器の前記第2蓋体嵌合部とが互いに嵌合し、
前記第2本体嵌合部と前記第2蓋体嵌合部との間の嵌合強度は、前記第1本体嵌合部と前記第1蓋体嵌合部との間の嵌合強度よりも低い、容器。
続きを表示(約 570 文字)
【請求項2】
前記容器本体に対して前記蓋体が閉じられた状態において前記容器本体の底板部と前記蓋体の天板部とが向かい合う対向方向から見た場合に、前記第2本体嵌合部及び前記第2蓋体嵌合部は、周方向において部分的に設けられている、請求項1に記載の容器。
【請求項3】
前記第2本体嵌合部及び前記第2蓋体嵌合部は、前記容器本体に対して前記蓋体が閉じられた状態において前記容器本体の底板部と前記蓋体の天板部とが向かい合う対向方向に垂直な方向に突出した凸部を含む、請求項1又は2に記載の容器。
【請求項4】
前記対向方向から見た場合に、前記第2本体嵌合部及び前記第2蓋体嵌合部の前記凸部の外縁は、円弧状に形成されている、請求項3に記載の容器。
【請求項5】
前記蓋体には凹部が形成されており、
前記一の容器が前記他の容器上に重ねられる場合には、前記一の容器の前記容器本体の底部が前記他の容器の前記蓋体の前記凹部内に配置され、
前記第2本体嵌合部は、前記容器本体の前記底部に形成されており、前記第2蓋体嵌合部は、前記凹部の側面に形成されている、請求項1又は2に記載の容器。
【請求項6】
前記蓋体は、ヒンジ部を介して前記容器本体に接続されている、請求項1又は2に記載の容器。
発明の詳細な説明
【技術分野】
【0001】
本発明は、例えば食品等を包装するための容器に関する。
続きを表示(約 2,000 文字)
【背景技術】
【0002】
例えば特許文献1には、容器本体及び蓋体からなる包装用容器であって、容器本体に被嵌凹部が形成されると共に蓋体に嵌合凸部が形成され、包装用容器の段積み時に被嵌凹部と嵌合凸部とが嵌合し得る包装用容器が記載されている。
【先行技術文献】
【特許文献】
【0003】
特開2014-118197号公報
【発明の概要】
【発明が解決しようとする課題】
【0004】
上述したような容器には、利便性を向上することが求められる。そこで、本発明は、利便性を向上することができる容器を提供することを目的とする。
【課題を解決するための手段】
【0005】
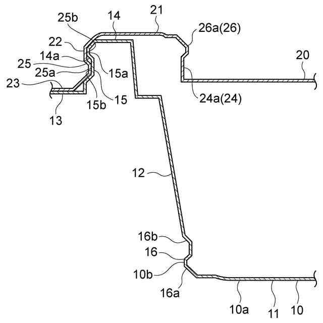
本発明の容器は、[1]「シート材の成形品である容器であって、容器本体と、前記容器本体と一体又は別体に形成された蓋体と、を備え、前記容器本体は、第1本体嵌合部と、第2本体嵌合部と、を有し、前記蓋体は、第1蓋体嵌合部と、第2蓋体嵌合部と、を有し、前記容器本体に対して前記蓋体が閉じられた場合に、前記第1本体嵌合部と前記第1蓋体嵌合部とが互いに嵌合し、一の前記容器が他の前記容器上に重ねられた場合に、前記一の容器の前記第2本体嵌合部と前記他の容器の前記第2蓋体嵌合部とが互いに嵌合し、前記第2本体嵌合部と前記第2蓋体嵌合部との間の嵌合強度は、前記第1本体嵌合部と前記第1蓋体嵌合部との間の嵌合強度よりも低い、容器」である。
【0006】
この容器では、第2本体嵌合部と第2蓋体嵌合部との間の嵌合強度が、第1本体嵌合部と第1蓋体嵌合部との間の嵌合強度よりも低い。これにより、例えば容器が段積みされた状態から第2本体嵌合部と第2蓋体嵌合部との嵌合を解除して容器同士を引き離そうとした際に、第1本体嵌合部と第1蓋体嵌合部との嵌合が解除されて蓋体が開き、内容物が流出してしまうことを抑制することができる。また、例えば、容器が段積みされた状態で店頭に陳列されている場合において、消費者が上側の容器を手に取ろうとした際に、当該容器の蓋体が開いてしまうことを抑制することができる。このように、この容器によれば、利便性を向上することができる。
【0007】
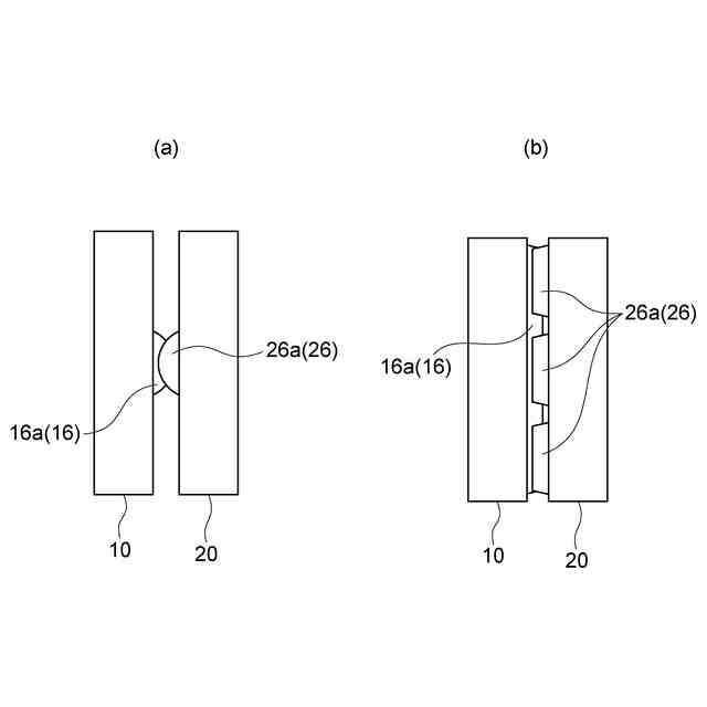
本発明の容器は、[2]「前記容器本体に対して前記蓋体が閉じられた状態において前記容器本体の底板部と前記蓋体の天板部とが向かい合う対向方向から見た場合に、前記第2本体嵌合部及び前記第2蓋体嵌合部は、周方向において部分的に設けられている、請求項1に記載の容器」であってもよい。第2本体嵌合部及び第2蓋体嵌合部を全周にわたってではなく周方向において部分的に設けることで、第2本体嵌合部と第2蓋体嵌合部との間の嵌合強度を低くする(調整する)ことができる。また、容器の成形時には、例えば、加熱により軟化させたシート材を金型に押し当て、その後に金型から引き剥がす(離型する)ことで、成形品が得られる。第2本体嵌合部及び第2蓋体嵌合部が周方向において部分的に設けられていることで、離型性(金型からの引き剥がしやすさ)を向上することができる。
【0008】
本発明の容器は、[3]「前記第2本体嵌合部及び前記第2蓋体嵌合部は、前記容器本体に対して前記蓋体が閉じられた状態において前記容器本体の底板部と前記蓋体の天板部とが向かい合う対向方向に垂直な方向に突出した凸部を含む、請求項1又は2に記載の容器」であってもよい。この場合、第2本体嵌合部と第2蓋体嵌合部とを強固に嵌合させることができる。
【0009】
本発明の容器は、[4]「前記対向方向から見た場合に、前記第2本体嵌合部及び前記第2蓋体嵌合部の前記凸部の外縁は、円弧状に形成されている、請求項3に記載の容器」であってもよい。この場合、第2本体嵌合部と第2蓋体嵌合部とを嵌合させやすくすることができる。また、離型性を向上することができる。
【0010】
本発明の容器は、[5]「前記蓋体には凹部が形成されており、前記一の容器が前記他の容器上に重ねられる場合には、前記一の容器の前記容器本体の底部が前記他の容器の前記蓋体の前記凹部内に配置され、前記第2本体嵌合部は、前記容器本体の前記底部に形成されており、前記第2蓋体嵌合部は、前記凹部の側面に形成されている、請求項1又は2に記載の容器」であってもよい。この場合、一の容器の容器本体の底部を他の容器の蓋体の凹部内に配置することで、一の容器を他の容器上に安定的に重ねることができる。また、第2本体嵌合部が容器本体の底部に形成され、第2蓋体嵌合部が凹部の側面に形成されているため、一の容器を他の容器上に重ねる場合に、第2本体嵌合部と第2蓋体嵌合部とを容易に嵌合させることができる。
(【0011】以降は省略されています)
この特許をJ-PlatPat(特許庁公式サイト)で参照する
関連特許
デンカ株式会社
窓構造
26日前
デンカ株式会社
モルタル材料
26日前
デンカ株式会社
窒化ケイ素粉末
21日前
デンカ株式会社
窒化ケイ素粉末
26日前
デンカ株式会社
繊維束、及び布
21日前
デンカ株式会社
窒化ケイ素粉末
21日前
デンカ株式会社
窓構造およびシート
26日前
デンカ株式会社
重合体粒子の製造方法
12日前
デンカ株式会社
シート及び食品包装容器
26日前
デンカ株式会社
放熱部材および電子装置
26日前
デンカ株式会社
放熱部材および電子装置
26日前
デンカ株式会社
窒化ケイ素粉末の製造方法
26日前
デンカ株式会社
蛍光体、及びインク組成物
26日前
デンカ株式会社
耐熱付与材及び樹脂組成物
7日前
デンカ株式会社
セラミックス粉末の製造方法
26日前
デンカ株式会社
積層シート及び食品包装容器
26日前
デンカ株式会社
熱伝導性組成物及び電子機器
27日前
デンカ株式会社
窒化ホウ素粉末、及び樹脂成形体
22日前
デンカ株式会社
窒化ホウ素粉末、及び樹脂成形体
22日前
デンカ株式会社
粉体急結材料及びコンクリート材料
27日前
デンカ株式会社
蛍光体粉末、複合体および発光装置
27日前
デンカ株式会社
窒化ケイ素粉末、及びその製造方法
26日前
デンカ株式会社
窒化ケイ素粉末、及びその製造方法
26日前
デンカ株式会社
容器の製造方法及び容器の製造装置
8日前
デンカ株式会社
電子銃部品、電子銃、及び、電子線装置
27日前
デンカ株式会社
電子銃部品、電子銃、及び、電子線装置
27日前
デンカ株式会社
半導体封止プロセス用熱可塑性離型フィルム
26日前
デンカ株式会社
半導体封止プロセス用熱可塑性離型フィルム
26日前
日本化学産業株式会社
土台水切りの遮水装置
26日前
デンカ株式会社
窒化ホウ素粉末、及び窒化ホウ素粉末の製造方法
26日前
デンカ株式会社
窒化ホウ素粉末、及び、窒化ホウ素粉末の製造方法
27日前
デンカ株式会社
窒化ケイ素粉末、及び窒化ケイ素焼結体の製造方法
26日前
デンカ株式会社
複合粉体、複合粉体の製造方法及び乾式電極の製造方法
26日前
デンカ株式会社
セメントレス材料用急結材料、吹付け材料、吹付け工法
27日前
デンカ株式会社
窒化ホウ素粉末の製造方法、粉末、及び、粉末の製造方法
27日前
デンカ株式会社
共重合体、エポキシ樹脂用硬化剤、及び銅張積層板用硬化物
22日前
続きを見る
他の特許を見る