TOP
|
特許
|
意匠
|
商標
特許ウォッチ
Twitter
他の特許を見る
公開番号
2025148789
公報種別
公開特許公報(A)
公開日
2025-10-08
出願番号
2024049089
出願日
2024-03-26
発明の名称
継手及び継手付管
出願人
デンカ株式会社
代理人
個人
,
個人
,
個人
,
個人
主分類
F16L
33/00 20060101AFI20251001BHJP(機械要素または単位;機械または装置の効果的機能を生じ維持するための一般的手段)
要約
【課題】バイオマス由来の材料を含みつつ、所望の物性を発揮可能な継手及び継手付管を提供すること。
【解決手段】
継手は、バイオマス由来の第1ポリオレフィン樹脂、及び化石燃料由来の第2ポリオレフィン樹脂からなる樹脂組成物を主成分とした成型体であり、樹脂組成物における第1ポリオレフィン樹脂の含有量は、5質量%以上40質量%以下であり、樹脂組成物における第2ポリオレフィン樹脂の含有量は、60質量%以上95質量%以下であり、樹脂組成物の密度は、0.94g/cm
3
以上0.96g/cm
3
以下である。また、継手付管は、上記継手と、当該継手に接続される管と、を備える。
【選択図】図1
特許請求の範囲
【請求項1】
バイオマス由来の第1ポリオレフィン樹脂、及び化石燃料由来の第2ポリオレフィン樹脂からなる樹脂組成物を主成分とした成型体であり、
前記樹脂組成物における前記第1ポリオレフィン樹脂の含有量は、5質量%以上40質量%以下であり、
前記樹脂組成物における前記第2ポリオレフィン樹脂の含有量は、60質量%以上95質量%以下であり、
前記樹脂組成物の密度は、0.94g/cm
3
以上0.96g/cm
3
以下である、
継手。
続きを表示(約 860 文字)
【請求項2】
前記第1ポリオレフィン樹脂と、前記第2ポリオレフィン樹脂とのそれぞれは、高密度ポリエチレンである、請求項1に記載の継手。
【請求項3】
前記継手のL
*
が10以上50以下であり、a
*
が-60以上-10以下であり、b
*
が―5以上10以下である、請求項1または2に記載の継手。
【請求項4】
前記樹脂組成物における前記第1ポリオレフィン樹脂の含有量は、10質量%以上30質量%以下である、請求項3に記載の継手。
【請求項5】
前記樹脂組成物のメルトフローレートは、0.12g/10min以上0.27g/10min以下である、請求項1または2に記載の継手。
【請求項6】
前記第1ポリオレフィンのバイオマス度が、90%以上である、請求項1または2に記載の継手。
【請求項7】
請求項1または2に記載の継手と、
前記継手に接続される管と、を備える継手付管。
【請求項8】
前記管は、バイオマス由来の第3ポリオレフィン樹脂、及び化石燃料由来の第4ポリオレフィン樹脂からなる第2樹脂組成物を主成分とした成型体であり、
前記第2樹脂組成物における前記第3ポリオレフィン樹脂の含有量は、3質量%以上40質量%以下であり、
前記第2樹脂組成物における前記第4ポリオレフィン樹脂の含有量は、60質量%以上97質量%以下であり、
前記第2樹脂組成物の密度は、0.94g/cm
3
以上0.96g/cm
3
以下である、
請求項7に記載の継手付管。
【請求項9】
前記第2樹脂組成物は、前記樹脂組成物と同一組成である、請求項8に記載の継手付管。
【請求項10】
二重壁コルゲート管である、請求項7に記載の継手付管。
(【請求項11】以降は省略されています)
発明の詳細な説明
【技術分野】
【0001】
本開示は、継手及び継手付管に関する。
続きを表示(約 2,500 文字)
【背景技術】
【0002】
液体供給用/排液用のホース(管)の一例として、下記特許文献1に示される複合管が開示される。この複合管は、管体と、管状とされて管体の外周を覆うと共に樹脂材料で構成された被覆層と、被覆層に含まれる谷部と管体との間に配置される中間層と、を有する。
【先行技術文献】
【特許文献】
【0003】
特開2020-94637号公報
【発明の概要】
【発明が解決しようとする課題】
【0004】
近年、カーボンニュートラルの達成などの観点から、化石燃料の代わりにバイオマス材料の利用が注目されている。ただ、単に化石燃料由来の樹脂材料をバイオマス由来の樹脂材料に置き換えて上述したような管、継手などの成型体を形成した場合、当該成型体は、所望の物性(例えば、機械的特性、耐環境性能など)を満たさないおそれがある。
【0005】
本開示の一側面の目的は、バイオマス由来の材料を含みつつ、所望の物性を発揮可能な継手及び継手付管を提供することである。
【課題を解決するための手段】
【0006】
本開示の一側面に係る継手及び継手付管は、以下の通りである。
[1] バイオマス由来の第1ポリオレフィン樹脂、及び化石燃料由来の第2ポリオレフィン樹脂からなる樹脂組成物を主成分とした成型体であり、
前記樹脂組成物における前記第1ポリオレフィン樹脂の含有量は、5質量%以上40質量%以下であり、
前記樹脂組成物における前記第2ポリオレフィン樹脂の含有量は、60質量%以上95質量%以下であり、
前記樹脂組成物の密度は、0.94g/cm
3
以上0.96g/cm
3
以下である、
継手。
[2] 前記第1ポリオレフィン樹脂と、前記第2ポリオレフィン樹脂とのそれぞれは、高密度ポリエチレンである、[1]に記載の継手。
[3] 前記継手のL
*
が10以上50以下であり、a
*
が-60以上-10以下であり、b
*
が―5以上10以下である、[1]または[2]に記載の継手。
[4] 前記樹脂組成物における前記第1ポリオレフィン樹脂の含有量は、10質量%以上30質量%以下である、[3]に記載の継手。
[5] 前記樹脂組成物のメルトフローレートは、0.12g/10min以上0.27g/10min以下である、[1]~[4]のいずれかに記載の継手。
[6] 前記第1ポリオレフィンのバイオマス度が、90%以上である、[1]~[5]のいずれかに記載の継手。
[7] [1]~[6]のいずれかに記載の継手と、
前記継手に接続される管と、を備える継手付管。
[8] 前記管は、バイオマス由来の第3ポリオレフィン樹脂、及び化石燃料由来の第4ポリオレフィン樹脂からなる第2樹脂組成物を主成分とした成型体であり、
前記第2樹脂組成物における前記第3ポリオレフィン樹脂の含有量は、3質量%以上40質量%以下であり、
前記第2樹脂組成物における前記第4ポリオレフィン樹脂の含有量は、60質量%以上97質量%以下であり、
前記第2樹脂組成物の密度は、0.94g/cm
3
以上0.96g/cm
3
以下である、
[7]に記載の継手付管。
[9] 前記第2樹脂組成物は、前記樹脂組成物と同一組成である、[7]または[8]に記載の継手付管。
[10] 前記管は、二重壁コルゲート管である、[7]~[9]のいずれかに記載の継手付管。
[11] 前記継手は、前記樹脂組成物のブロー成型体であり、
前記管は、前記第2樹脂組成物の押出成型体である、[7]~[10]のいずれかに記載の継手付管。
[12] 地中埋設用継手付管である、[7]~[11]のいずれかに記載の継手付管。
【発明の効果】
【0007】
本開示の一側面によれば、バイオマス由来の材料を含みつつ、所望の物性を発揮可能な継手及び継手付管を提供できる。
【図面の簡単な説明】
【0008】
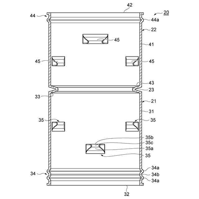
図1は、実施形態に係る継手付管の要部平面図である。
図2(a)は、管の概略正面図であり、図2(b)は、管の概略側面図である。
図3は、径方向に沿った管の概略断面図である。
図4は、継手の概略正面図である。
図5は、継手の概略断面図である。
図6は、第1変形例に係る継手付管の概略平面図である。
図7は、第1変形例に係る管の概略正面図である。
図8は、第2変形例に係る継手付管に含まれる継手の概略正面図である。
【発明を実施するための形態】
【0009】
以下、添付図面を参照して、本開示の実施形態について詳細に説明する。以下の説明において、同一要素または同一機能を有する要素には、同一符号を用いることとし、重複する説明は省略する。本明細書における「同一」及びそれに類似する単語は、「完全同一」のみに限定されない。
【0010】
まず、図1を参照しながら、本実施形態に係る継手付管の概要を説明する。図1は、本実施形態に係る継手付管の要部平面図である。図1に示されるように、継手付管1は、例えば、暗渠用水路、農業用排水路、土木用排水路などに用いられる管状部材であり、管10と、管10の一端に装着される継手20とを有する。継手付管1同士は、互いに接続可能になっている。継手付管1は、地中に埋設される部材(地中埋設用継手付管)でもよい。以下では、継手付管1の軸方向を管軸方向とし、管軸方向に直交する方向を継手付管1の径方向とする。
(【0011】以降は省略されています)
この特許をJ-PlatPat(特許庁公式サイト)で参照する
関連特許
デンカ株式会社
窓構造
22日前
デンカ株式会社
モルタル材料
22日前
デンカ株式会社
繊維束、及び布
17日前
デンカ株式会社
窒化ケイ素粉末
17日前
デンカ株式会社
窒化ケイ素粉末
17日前
デンカ株式会社
窒化ケイ素粉末
22日前
デンカ株式会社
窓構造およびシート
22日前
デンカ株式会社
重合体粒子の製造方法
8日前
デンカ株式会社
シート及び食品包装容器
22日前
デンカ株式会社
放熱部材および電子装置
22日前
デンカ株式会社
放熱部材および電子装置
22日前
デンカ株式会社
窒化ケイ素粉末の製造方法
22日前
デンカ株式会社
耐熱付与材及び樹脂組成物
3日前
デンカ株式会社
蛍光体、及びインク組成物
22日前
デンカ株式会社
セラミックス粉末の製造方法
22日前
デンカ株式会社
積層シート及び食品包装容器
22日前
デンカ株式会社
窒化ホウ素粉末、及び樹脂成形体
18日前
デンカ株式会社
窒化ホウ素粉末、及び樹脂成形体
18日前
デンカ株式会社
粉体急結材料及びコンクリート材料
23日前
デンカ株式会社
窒化ケイ素粉末、及びその製造方法
22日前
デンカ株式会社
蛍光体粉末、複合体および発光装置
23日前
デンカ株式会社
容器の製造方法及び容器の製造装置
4日前
デンカ株式会社
窒化ケイ素粉末、及びその製造方法
22日前
デンカ株式会社
電子銃部品、電子銃、及び、電子線装置
23日前
デンカ株式会社
半導体封止プロセス用熱可塑性離型フィルム
22日前
デンカ株式会社
半導体封止プロセス用熱可塑性離型フィルム
22日前
日本化学産業株式会社
土台水切りの遮水装置
22日前
デンカ株式会社
窒化ホウ素粉末、及び窒化ホウ素粉末の製造方法
22日前
デンカ株式会社
窒化ケイ素粉末、及び窒化ケイ素焼結体の製造方法
22日前
デンカ株式会社
セメントレス材料用急結材料、吹付け材料、吹付け工法
23日前
デンカ株式会社
複合粉体、複合粉体の製造方法及び乾式電極の製造方法
22日前
デンカ株式会社
共重合体、エポキシ樹脂用硬化剤、及び銅張積層板用硬化物
18日前
デンカ株式会社
共重合体、エポキシ樹脂用硬化剤、及び銅張積層板用硬化物
18日前
デンカ株式会社
モルタル材料
18日前
デンカ株式会社
CO2固定化膨張材、セメント組成物、及びコンクリート組成物
22日前
デンカ株式会社
セラミック板及びその製造方法、回路基板、並びにパワーモジュール
2日前
続きを見る
他の特許を見る