TOP
|
特許
|
意匠
|
商標
特許ウォッチ
Twitter
他の特許を見る
公開番号
2025152206
公報種別
公開特許公報(A)
公開日
2025-10-09
出願番号
2024053991
出願日
2024-03-28
発明の名称
電子銃部品、電子銃、及び、電子線装置
出願人
デンカ株式会社
代理人
個人
,
個人
,
個人
,
個人
主分類
H01J
37/073 20060101AFI20251002BHJP(基本的電気素子)
要約
【課題】電子を好適に放出することが可能な電子銃部品を提供する。
【解決手段】電子を放出する電子放出部材と、開口を有するサプレッサ電極と、を備え、電子放出部材が前記開口に挿通されており、前記開口の開口面及び断面のうちの最小面Bにおいて、電子放出部材が占める領域Aの中心C1と最小面Bの中心C2との距離D、及び、電子放出部材の領域Aの半径R1の和の、最小面Bの半径R2に対する割合([(D+R1)/R2]×100)が80.0%以下である、電子銃部品。
【選択図】図2
特許請求の範囲
【請求項1】
電子を放出する電子放出部材と、開口を有するサプレッサ電極と、を備え、
前記電子放出部材が前記開口に挿通されており、
前記開口の開口面及び断面のうちの最小面において、前記電子放出部材が占める領域の中心と前記最小面の中心との距離D、及び、前記電子放出部材の前記領域の半径R1の和の、前記最小面の半径R2に対する割合([(D+R1)/R2]×100)が80.0%以下である、電子銃部品。
続きを表示(約 360 文字)
【請求項2】
前記半径R2に対する前記距離Dの割合([D/R2]×100)が30.0%以下である、請求項1に記載の電子銃部品。
【請求項3】
前記半径R2に対する前記半径R1の割合([R1/R2]×100)が50.0%以下である、請求項1に記載の電子銃部品。
【請求項4】
前記距離Dが60μm以下である、請求項1に記載の電子銃部品。
【請求項5】
前記半径R1が125μm以下であり、前記半径R2が500μm以下である、請求項1に記載の電子銃部品。
【請求項6】
請求項1~5のいずれか一項に記載の電子銃部品と、前記サプレッサ電極に対向する引出電極と、を備える、電子銃。
【請求項7】
請求項6に記載の電子銃を備える、電子線装置。
発明の詳細な説明
【技術分野】
【0001】
本開示は、電子銃部品、電子銃、電子線装置等に関する。
続きを表示(約 2,000 文字)
【背景技術】
【0002】
電子銃は、電子顕微鏡、半導体検査装置等の電子線装置に使用されている。電子銃は、電子銃部品と、引出電極と、を備えており、電子銃部品は、電子を放出する電子放出部材と、開口を有するサプレッサ電極と、を備えている。電子銃の構成としては、各種構成が検討されている(例えば、下記特許文献1参照)。
【先行技術文献】
【特許文献】
【0003】
特開2007-250491号公報
【発明の概要】
【発明が解決しようとする課題】
【0004】
電子銃部品において、電子放出部材がサプレッサ電極の開口に挿通されている場合がある。この場合、サプレッサ電極の開口において電子放出部材とサプレッサ電極とが近接していると、電子放出部材とサプレッサ電極との間で放電が生じる等して電子の放出が妨げられる場合がある。
【0005】
本開示の一側面は、電子を好適に放出することが可能な電子銃部品を提供することを目的とする。本開示の他の一側面は、このような電子銃部品を備える電子銃を提供することを目的とする。本開示の他の一側面は、このような電子銃を備える電子線装置を提供することを目的とする。
【課題を解決するための手段】
【0006】
[1]電子を放出する電子放出部材と、開口を有するサプレッサ電極と、を備え、前記電子放出部材が前記開口に挿通されており、前記開口の開口面及び断面のうちの最小面において、前記電子放出部材が占める領域の中心と前記最小面の中心との距離D、及び、前記電子放出部材の前記領域の半径R1の和の、前記最小面の半径R2に対する割合([(D+R1)/R2]×100)が80.0%以下である、電子銃部品。
[2]前記半径R2に対する前記距離Dの割合([D/R2]×100)が30.0%以下である、[1]に記載の電子銃部品。
[3]前記半径R2に対する前記半径R1の割合([R1/R2]×100)が50.0%以下である、[1]又は[2]に記載の電子銃部品。
[4]前記距離Dが60μm以下である、[1]~[3]のいずれか一つに記載の電子銃部品。
[5]前記半径R1が125μm以下であり、前記半径R2が500μm以下である、[1]~[4]のいずれか一つに記載の電子銃部品。
[6][1]~[5]のいずれか一つに記載の電子銃部品と、前記サプレッサ電極に対向する引出電極と、を備える、電子銃。
[7][6]に記載の電子銃を備える、電子線装置。
【発明の効果】
【0007】
本開示の一側面によれば、電子を好適に放出することが可能な電子銃部品を提供することができる。本開示の他の一側面によれば、このような電子銃部品を備える電子銃を提供することができる。本開示の他の一側面によれば、このような電子銃を備える電子線装置を提供することができる。
【図面の簡単な説明】
【0008】
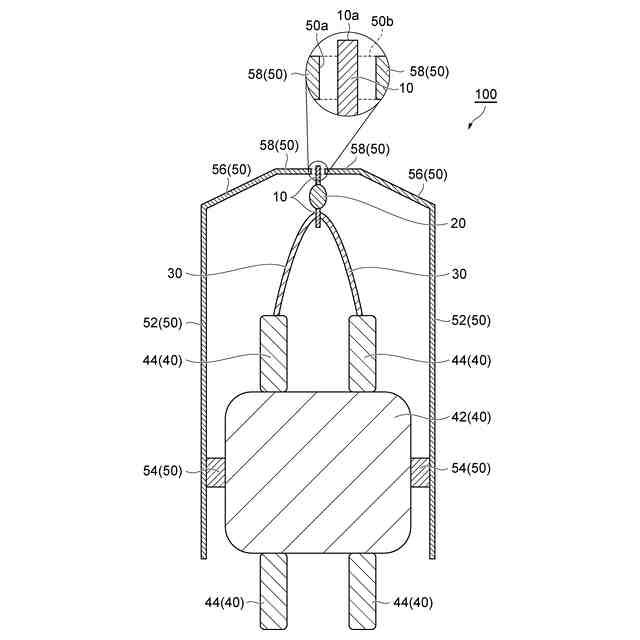
図1は、電子銃部品の一例を模式的に示す端面図である。
図2は、サプレッサ電極の開口の開口面及び断面のうちの最小面を見たときの一例を示す図である。
図3は、サプレッサ電極の開口の開口面及び断面のうちの最小面を見たときの他の一例を示す図である。
【発明を実施するための形態】
【0009】
数値範囲の「A以上」とは、A、及び、Aを超える範囲を意味する。数値範囲の「A以下」とは、A、及び、A未満の範囲を意味する。本明細書に段階的に記載されている数値範囲において、ある段階の数値範囲の上限値又は下限値は、他の段階の数値範囲の上限値又は下限値と任意に組み合わせることができる。本明細書に記載されている数値範囲において、その数値範囲の上限値又は下限値は、実施例に示されている値に置き換えてよい。「A又はB」とは、A及びBのどちらか一方を含んでいればよく、両方とも含んでいてよい。本明細書に例示する材料は、1種単独で用いられてよく、2種以上を組み合わせて用いられてよい。
【0010】
本実施形態に係る電子銃部品は、電子を放出する電子放出部材と、開口を有するサプレッサ電極と、を備え、電子放出部材がサプレッサ電極の開口に挿通されている。本実施形態に係る電子銃部品では、サプレッサ電極の開口の開口面及び断面のうちの最小面(以下、場合により、単に「サプレッサ電極の最小面B」という)において、電子放出部材が占める領域Aの中心とサプレッサ電極の最小面Bの中心との距離D、及び、領域Aの半径R1の和の、サプレッサ電極の最小面Bの半径R2に対する割合X1(X1=[(D+R1)/R2]×100)は、80.0%以下である。
(【0011】以降は省略されています)
この特許をJ-PlatPat(特許庁公式サイト)で参照する
関連特許
デンカ株式会社
容器
1か月前
デンカ株式会社
蛍光体
29日前
デンカ株式会社
窓構造
27日前
デンカ株式会社
モルタル材料
27日前
デンカ株式会社
繊維束、及び布
22日前
デンカ株式会社
窒化ケイ素粉末
22日前
デンカ株式会社
窒化ケイ素粉末
22日前
デンカ株式会社
窒化ケイ素粉末
27日前
デンカ株式会社
継手及び継手付管
29日前
デンカ株式会社
窓構造およびシート
27日前
デンカ株式会社
重合体粒子の製造方法
13日前
デンカ株式会社
磁性ビーズの製造方法
1か月前
デンカ株式会社
容器およびその製造方法
1か月前
デンカ株式会社
放熱部材および電子装置
27日前
デンカ株式会社
放熱部材および電子装置
27日前
デンカ株式会社
シート及び食品包装容器
27日前
デンカ株式会社
窒化ケイ素粉末の製造方法
27日前
デンカ株式会社
窒化ホウ素粉末の製造方法
28日前
デンカ株式会社
耐熱付与材及び樹脂組成物
8日前
デンカ株式会社
蛍光体、及びインク組成物
27日前
デンカ株式会社
セラミックス粉末の製造方法
27日前
デンカ株式会社
熱伝導性組成物及び電子機器
28日前
デンカ株式会社
積層シート及び食品包装容器
27日前
デンカ株式会社
窒化ホウ素粉末、及び樹脂成形体
23日前
デンカ株式会社
窒化ホウ素粉末、及び樹脂成形体
23日前
デンカ株式会社
窒化ケイ素粉末、及びその製造方法
27日前
デンカ株式会社
窒化ケイ素粉末、及びその製造方法
27日前
デンカ株式会社
容器の製造方法及び容器の製造装置
9日前
デンカ株式会社
蛍光体粉末、複合体および発光装置
1か月前
デンカ株式会社
蛍光体粉末、複合体および発光装置
28日前
デンカ株式会社
粉体急結材料及びコンクリート材料
28日前
デンカ株式会社
熱伝導性スペーサー及び熱伝導性組成物
28日前
デンカ株式会社
磁性ビーズおよび磁性ビーズの製造方法
1か月前
デンカ株式会社
熱伝導性スペーサー及び熱伝導性組成物
28日前
デンカ株式会社
ウエハ加工用テープ及びウエハ加工方法
1か月前
デンカ株式会社
磁性ビーズおよび磁性ビーズの製造方法
1か月前
続きを見る
他の特許を見る