TOP
|
特許
|
意匠
|
商標
特許ウォッチ
Twitter
他の特許を見る
公開番号
2025164450
公報種別
公開特許公報(A)
公開日
2025-10-30
出願番号
2024068440
出願日
2024-04-19
発明の名称
セラミック板及びその製造方法、回路基板、並びにパワーモジュール
出願人
デンカ株式会社
代理人
個人
,
個人
,
個人
,
個人
主分類
H05K
1/02 20060101AFI20251023BHJP(他に分類されない電気技術)
要約
【課題】ネジ止め用の貫通穴を有し、十分な強度を有するセラミック板及びその製造方法を提供すること。
【解決手段】主面に直交する方向に貫通する貫通穴Hを有し、前記貫通穴Hの内壁面における単位面積当たりのクラックの長さが0.01(μm/μm
2
)以下である、セラミック板を提供する。ファイバーレーザ光を用いてセラミック焼結体の主面に直交する方向に貫通穴Hを設ける工程を有する、セラミック板の製造方法を提供する。
【選択図】図1
特許請求の範囲
【請求項1】
主面に直交する方向に貫通する貫通穴Hを有し、前記貫通穴Hの内壁面における単位面積当たりのクラックの長さが0.01(μm/μm
2
)以下である、セラミック板。
続きを表示(約 860 文字)
【請求項2】
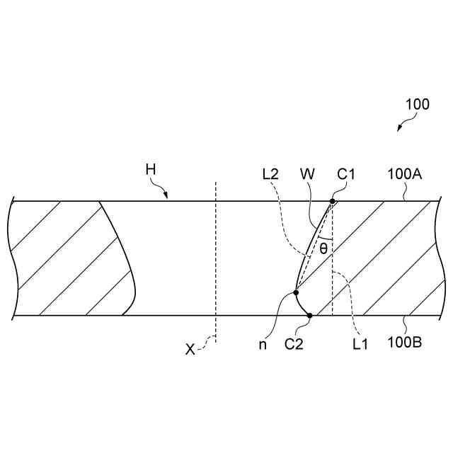
前記貫通穴Hの中心線を通り、且つ前記主面に直交する方向に沿う断面において、
前記貫通穴Hにおける第1開口縁C1は、第2開口縁C2よりも大きく、
前記第1開口縁C1を通り、前記中心線に平行な第1仮想直線L1と、
前記内壁面のうち前記中心線に最も近接する部分nと前記第1開口縁C1とを結ぶ第2仮想直線L2と、のなす角度θが10°以下である、請求項1に記載のセラミック板。
【請求項3】
前記第1仮想直線L1と、前記部分nの最短距離が30μm以下である、請求項2に記載のセラミック板。
【請求項4】
前記内壁面の算術平均粗さが4.0μm以下である、請求項1~3のいずれか一項に記載のセラミック板。
【請求項5】
前記内壁面の最大粗さが18.0μm以下である、請求項1~3のいずれか一項に記載のセラミック板。
【請求項6】
ファイバーレーザ光を用いてセラミック焼結体の主面に直交する方向に貫通穴Hを設ける工程を有する、セラミック板の製造方法。
【請求項7】
前記ファイバーレーザ光の周波数が100kHz以上である、請求項6に記載のセラミック板の製造方法。
【請求項8】
前記ファイバーレーザ光の出力が100W以下である、請求項6又は7に記載のセラミック板の製造方法。
【請求項9】
貫通穴Hを設ける前記工程において、前記ファイバーレーザ光の走査速度が50mm/秒以上である、請求項6又は7に記載のセラミック板の製造方法。
【請求項10】
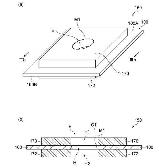
請求項1~3のいずれか一項に記載のセラミック板と、
前記セラミック板に接合され、貫通穴H1を有する金属板と、を備え、
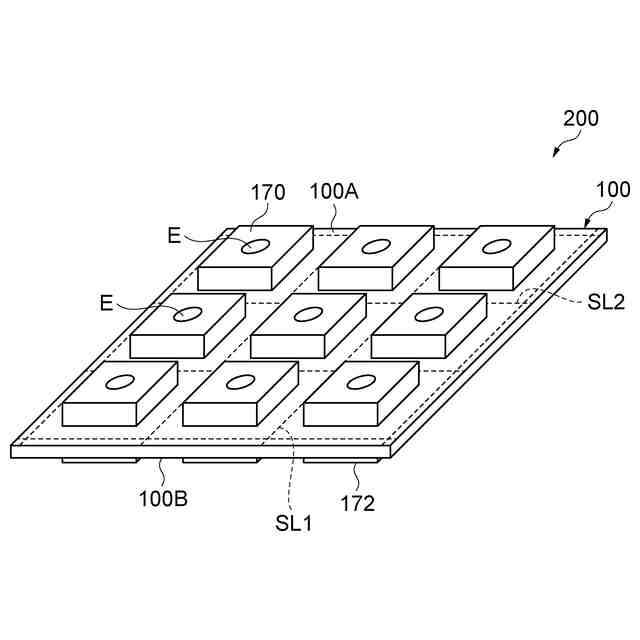
前記セラミック板の前記主面に直交する方向に、少なくとも前記貫通穴Hと前記貫通穴H1とが連なって形成される貫通穴Eを有する、回路基板。
(【請求項11】以降は省略されています)
発明の詳細な説明
【技術分野】
【0001】
本開示は、セラミック板及びその製造方法、回路基板、並びにパワーモジュールに関する。
続きを表示(約 1,400 文字)
【背景技術】
【0002】
電子デバイスに搭載される回路基板は、絶縁性のセラミック板にろう材を介して金属板を接合することで作製される。ここで、貫通穴を設けたセラミック板を用いて回路基板を作製することがある。特許文献1には、炭酸ガスレーザを使用して、寸法精度の良い貫通穴を設けるためのセラミック板の加工方法が開示されている。また、特許文献2には、貫通穴の寸法精度と加工速度を両立するため、金型及びレーザを組み合わせて貫通穴を設けるセラミック板の加工方法が開示されている。
【先行技術文献】
【特許文献】
【0003】
特開昭59-045088号公報
特開平3-248792号公報
【発明の概要】
【発明が解決しようとする課題】
【0004】
セラミック板を備える回路基板に貫通穴を設けることで、パワーモジュール等の電子部品に搭載する際のネジ止めを円滑に行うことができる。一方で、ネジ止めの際にセラミック板に大きな力がかかるため、セラミック板に十分な強度がない場合、ネジ止めによりセラミック板が破損することが懸念される。そこで、本開示は、ネジ止め用の貫通穴を有し、ネジ止め時の破損を抑制することが可能なセラミック板及びその製造方法を提供する。また、ネジ止め用の貫通穴を有し、ネジ止め時の破損を抑制することが可能な回路基板、及びそのような回路基板を備えたパワーモジュールを提供する。
【課題を解決するための手段】
【0005】
本開示の一側面は、以下のセラミック板を提供する。
【0006】
[1]主面に直交する方向に貫通する貫通穴Hを有し、前記貫通穴Hの内壁面における単位面積当たりのクラックの長さが0.01(μm/μm
2
)以下である、セラミック板。
【0007】
上記[1]のセラミック板は、貫通穴の内壁面における単位面積当たりのクラックが十分に小さい。このようなセラミック板は、貫通穴を有しつつも、ネジ止めに耐えうる十分な強度を有する。したがって、ネジ止め時のセラミック板の破損を抑制することができる。
【0008】
上記[1]のセラミック基板は、以下の[2]~[5]のいずれか一つであってもよい。
【0009】
[2]前記貫通穴Hの中心線を通り、且つ前記主面に直交する方向に沿う断面において、
前記貫通穴Hにおける第1開口縁C1は、第2開口縁C2よりも大きく、
前記第1開口縁C1を通り、前記中心線に平行な第1仮想直線L1と、
前記内壁面のうち前記中心線に最も近接する部分nと前記第1開口縁C1とを結ぶ第2仮想直線L2と、のなす角度θが10°以下である、[1]に記載のセラミック板。
[3]前記第1仮想直線L1と、前記部分nの最短距離が30μm以下である、[2]に記載のセラミック板。
【0010】
上記[2]又は[3]のセラミック板は、貫通穴の内壁面が主面に対して直角に近い角度で形成されており、内壁面の直線性が高い。したがって、ネジ止め時にネジを貫通穴に円滑に挿入でき、セラミック板の破損を一層抑制することができる。
(【0011】以降は省略されています)
特許ウォッチbot のツイートを見る
この特許をJ-PlatPat(特許庁公式サイト)で参照する
関連特許
デンカ株式会社
窓構造
1か月前
デンカ株式会社
モルタル材料
1か月前
デンカ株式会社
窒化ケイ素粉末
1か月前
デンカ株式会社
窒化ケイ素粉末
1か月前
デンカ株式会社
窒化ケイ素粉末
1か月前
デンカ株式会社
繊維束、及び布
1か月前
デンカ株式会社
窓構造およびシート
1か月前
デンカ株式会社
重合体粒子の製造方法
1か月前
デンカ株式会社
シート及び食品包装容器
1か月前
デンカ株式会社
摩擦力可変体及び吸着具
16日前
デンカ株式会社
放熱部材および電子装置
1か月前
デンカ株式会社
放熱部材および電子装置
1か月前
デンカ株式会社
窒化ケイ素粉末の製造方法
1か月前
デンカ株式会社
蛍光体、及びインク組成物
1か月前
デンカ株式会社
耐熱付与材及び樹脂組成物
25日前
デンカ株式会社
積層シート及び食品包装容器
1か月前
デンカ株式会社
セラミックス粉末の製造方法
1か月前
デンカ株式会社
窒化ホウ素粉末、及び樹脂成形体
1か月前
デンカ株式会社
窒化ホウ素粉末、及び樹脂成形体
1か月前
デンカ株式会社
樹脂組成物および複合材料セット
16日前
デンカ株式会社
樹脂組成物および複合材料セット
16日前
デンカ株式会社
容器の製造方法及び容器の製造装置
26日前
デンカ株式会社
窒化ケイ素粉末、及びその製造方法
1か月前
デンカ株式会社
窒化ケイ素粉末、及びその製造方法
1か月前
デンカ株式会社
無機粉末及びそれを用いた樹脂組成物
16日前
デンカ株式会社
バッテリー被覆用パテ、及びバッテリー
5日前
デンカ株式会社
アルミナ粉末、無機粉末および樹脂組成物
11日前
デンカ株式会社
アルミナ粉末、無機粉末および樹脂組成物
11日前
デンカ株式会社
アルミナ粉末、無機粉末および樹脂組成物
11日前
デンカ株式会社
半導体封止プロセス用熱可塑性離型フィルム
1か月前
デンカ株式会社
半導体封止プロセス用熱可塑性離型フィルム
1か月前
日本化学産業株式会社
土台水切りの遮水装置
1か月前
デンカ株式会社
窒化ホウ素粉末、及び窒化ホウ素粉末の製造方法
1か月前
デンカ株式会社
真贋判定システム、真贋判定方法、及び、印刷層
16日前
デンカ株式会社
窒化ケイ素粉末、及び窒化ケイ素焼結体の製造方法
1か月前
デンカ株式会社
バッテリー用耐火ウレタンフォーム、及びバッテリー
9日前
続きを見る
他の特許を見る