TOP
|
特許
|
意匠
|
商標
特許ウォッチ
Twitter
他の特許を見る
公開番号
2025176809
公報種別
公開特許公報(A)
公開日
2025-12-05
出願番号
2024083145
出願日
2024-05-22
発明の名称
テープ貼付装置
出願人
東レエンジニアリング株式会社
代理人
主分類
C09J
201/00 20060101AFI20251128BHJP(染料;ペイント;つや出し剤;天然樹脂;接着剤;他に分類されない組成物;他に分類されない材料の応用)
要約
【課題】テープの貼付面から接着剤が剥がれることを防止することができるテープ貼付装置を提供することを目的とする。
【解決手段】テープを押圧して被貼付面に貼り付ける貼付部と、前記被貼付面と対面するテープの貼付面に接着剤を塗布する塗布部と、を備えるテープ貼付装置であって、前記塗布部による前記接着剤の塗布前に、前記貼付面に凹凸を形成する貼付面処理機構をさらに備えている構成とする。
【選択図】図2
特許請求の範囲
【請求項1】
テープを押圧して被貼付面に貼り付ける貼付部と、
前記被貼付面と対面するテープの貼付面に接着剤を塗布する塗布部と、を備えるテープ貼付装置であって、
前記塗布部による前記接着剤の塗布前に、前記貼付面に凹凸を形成する貼付面処理機構をさらに備えていることを特徴とするテープ貼付装置。
続きを表示(約 770 文字)
【請求項2】
前記貼付面処理機構は、前記貼付面に短繊維を差し込むことにより、前記貼付面に前記短繊維による凸部を形成する凸部形成部を有していることを特徴とする請求項1に記載のテープ貼付装置。
【請求項3】
前記凸部形成部は、前記貼付面に前記短繊維を吹き付けて差し込むことを特徴とする請求項2に記載のテープ貼付装置。
【請求項4】
前記貼付面を加熱して軟化させる加熱部をさらに備えていることを特徴とする請求項1から請求項3のいずれかに記載のテープ貼付装置。
【請求項5】
前記加熱部とでテープを挟み込むように位置し、テープの前記貼付面の裏面を冷却する冷却部をさらに備えていることを特徴とする請求項4に記載のテープ貼付装置。
【請求項6】
前記貼付面処理機構は、前記貼付面に短繊維を付着させる付着部と、
前記付着部によって前記短繊維が付着した前記貼付面に押し当てられて前記貼付面に超音波振動を印加する超音波印加部と、を有していることを特徴とする請求項1に記載のテープ貼付装置。
【請求項7】
前記貼付面処理機構は、前記貼付面と接触する接触面に凸部が形成された凹部形成部を有していることを特徴とする請求項1に記載のテープ貼付装置。
【請求項8】
前記凹部形成部を加熱する加熱部をさらに備えていることを特徴とする請求項7に記載のテープ貼付装置。
【請求項9】
前記短繊維は、炭素繊維であることを特徴とする請求項1から請求項3のいずれかに記載のテープ貼付装置。
【請求項10】
前記被貼付面に凹凸を形成する被貼付面処理機構が設けられていることを特徴とする請求項1から請求項3のいずれかに記載のテープ貼付装置。
発明の詳細な説明
【技術分野】
【0001】
本発明は、ワークの被貼付面にテープを貼り付けるテープ貼付装置に関するものである。
続きを表示(約 1,300 文字)
【背景技術】
【0002】
航空機や自動車などの産業分野で要求される高性能な繊維強化プラスチック部品を製造するために、テープ貼付装置によって樹脂が炭素繊維などの繊維束に含侵されたテープをワーク(プラスチック部品)の被貼付面に張り付けることで、ワークの重量が重くなることを防ぎつつ、強度を向上させている。
【0003】
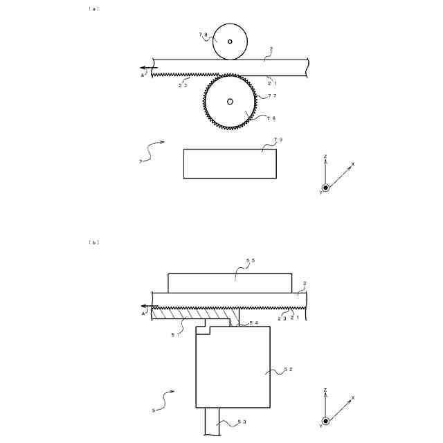
このようなテープ貼付装置では、被貼付面に貼り付けるテープを搬送する搬送部と、搬送部から搬送されたテープを被貼付面に圧着させる貼付部と、被貼付面と対面するテープの貼付面に接着剤を塗布する塗布部と、を備えている。そして、塗布部によって貼付面に接着剤が塗布されたテープが、搬送部によって貼付部に搬送され、貼付部によって被貼付面に圧着されるようになっている。これにより、テープが被貼付面に貼り付けられる(たとえば、下記特許文献1)。
【先行技術文献】
【特許文献】
【0004】
特開2022-151326号公報
【発明の概要】
【発明が解決しようとする課題】
【0005】
しかし、上記テープ貼付装置では、温度変化によるテープの膨張や収縮など、テープに変形が生じると、そのテープの変形に接着剤が追従できず、貼付面から接着剤が剥がれてしまう場合があった。貼付面から接着剤が剥がれると、被貼付面からテープが剥がれ、ワークの強度が低下してしまうという問題があった。
【0006】
本発明は、上記の問題点を鑑みてなされたものであり、テープの貼付面から接着剤が剥がれることを防止することができるテープ貼付装置を提供することを目的としている。
【課題を解決するための手段】
【0007】
上記課題を解決するための本発明のテープ貼付装置は、テープを押圧して被貼付面に貼り付ける貼付部と、前記被貼付面と対面するテープの貼付面に接着剤を塗布する塗布部と、を備えるテープ貼付装置であって、前記塗布部による前記接着剤の塗布前に、前記貼付面に凹凸を形成する貼付面処理機構をさらに備えていることを特徴としている。
【0008】
上記テープ貼付装置によれば、貼付面処理機構によってテープの貼付面に凹凸を形成することにより、貼付面に凸部を形成した場合は、凸部が接着剤に食い込んだ状態で接着剤が固まり、貼付面に凹部が形成された場合は、接着剤が凹部に入り込んで固まるため、貼付面に凹凸を形成しない場合よりも貼付面と接着剤の接着力を強くすることができる。したがって、テープの貼付面から接着剤が剥がれることを防止することができる。
【0009】
また、前記貼付面処理機構は、前記貼付面に短繊維を差し込むことにより、前記貼付面に前記短繊維による凸部を形成する凸部形成部を有している構成としてもよい。
【0010】
この構成によれば、凸部形成部によって貼付面に短繊維を差し込むことにより、貼付面に凸部を形成することができる。
(【0011】以降は省略されています)
特許ウォッチbot のツイートを見る
この特許をJ-PlatPat(特許庁公式サイト)で参照する
関連特許
日本化薬株式会社
インク
1か月前
日本化薬株式会社
インク
2か月前
ベック株式会社
水性被覆材
2か月前
ベック株式会社
被膜形成方法
2か月前
出光興産株式会社
構造体
1か月前
個人
絵具及び絵具セット
1か月前
日本化薬株式会社
インク組成物
2か月前
日本製紙株式会社
圧着紙
1か月前
日本化薬株式会社
前処理組成物
1か月前
日本化薬株式会社
インクセット
1か月前
株式会社日本触媒
インクセット
2か月前
個人
滑り止め分散剤組成物
1か月前
メック株式会社
表面処理剤
1か月前
東ソー株式会社
印刷インキ組成物
1か月前
株式会社KRI
潜熱蓄熱材組成物
1か月前
東亞合成株式会社
プライマー組成物
1か月前
株式会社グッドネス
保冷パック
1か月前
株式会社共和
粘着テープ
11日前
東ソー株式会社
土木用注入薬液組成物
2か月前
日澱化學株式会社
ホットメルト接着剤
2か月前
大日精化工業株式会社
顔料分散液
3か月前
アイカ工業株式会社
ホットメルト組成物
2か月前
デンカ株式会社
蛍光体
2か月前
東ソー株式会社
土質安定化注入薬液組成物
3か月前
東ソー株式会社
土質安定化注入薬液組成物
3か月前
マクセル株式会社
粘着テープ
1か月前
大日本印刷株式会社
積層シート
1か月前
リンテック株式会社
粘着シート
2か月前
日本化薬株式会社
インク組成物及び捺染方法
1か月前
ダイキン工業株式会社
撥剤
1か月前
artience株式会社
水性フレキソインキ
2か月前
東レエンジニアリング株式会社
テープ貼付装置
3日前
東洋アルミニウム株式会社
複合顔料
2か月前
東洋アルミニウム株式会社
複合顔料
1か月前
三菱ケミカル株式会社
粘着剤組成物
2か月前
住友理工株式会社
シール部材
2か月前
続きを見る
他の特許を見る