TOP
|
特許
|
意匠
|
商標
特許ウォッチ
Twitter
他の特許を見る
10個以上の画像は省略されています。
公開番号
2025156268
公報種別
公開特許公報(A)
公開日
2025-10-14
出願番号
2025059855
出願日
2025-03-31
発明の名称
集合継手
出願人
積水化学工業株式会社
代理人
個人
,
個人
,
個人
,
個人
主分類
E03C
1/12 20060101AFI20251002BHJP(上水;下水)
要約
【課題】液体により発生する騒音を低減させた集合継手を提供する。
【解決手段】集合継手120は、自身の軸線O1が上下方向に沿うように配置された継手本体26と、継手本体26の内周面上に配置される羽根支持部55、及び羽根支持部55から径方向内側に向かって突出する旋回羽根56を有する羽根ユニット121と、少なくとも羽根支持部55に設けられ、羽根支持部55の振動を低減させる振動低減部124と、を備える。
【選択図】図1
特許請求の範囲
【請求項1】
自身の軸線が上下方向に沿うように配置された継手本体と、
前記継手本体の内周面上に配置される羽根支持部、及び前記羽根支持部から径方向内側に向かって突出する旋回羽根を有する羽根ユニットと、
少なくとも前記羽根支持部に設けられ、前記羽根支持部の振動を低減させる振動低減部と、
を備える、集合継手。
続きを表示(約 890 文字)
【請求項2】
前記振動低減部は、前記継手本体及び前記羽根支持部に設けられ、前記継手本体及び前記羽根支持部を締嵌めにより互いに固定する、請求項1に記載の集合継手。
【請求項3】
前記振動低減部は、前記継手本体及び前記羽根支持部を、前記径方向の前記締嵌めにより互いに固定する、請求項2に記載の集合継手。
【請求項4】
前記振動低減部は、前記継手本体及び前記羽根支持部を、前記軸線方向の前記締嵌めにより互いに固定する、請求項2に記載の集合継手。
【請求項5】
前記旋回羽根は、前記羽根支持部における前記軸線方向の端に配置され、
前記羽根ユニットは、前記旋回羽根を挟んで、前記羽根支持部とは前記軸線方向の反対側に配置された第2羽根支持部を有し、
前記継手本体及び前記第2羽根支持部を、接着、嵌合、及び締嵌めの少なくとも一つにより互いに固定する第2振動低減部を備える、請求項2に記載の集合継手。
【請求項6】
前記旋回羽根及び前記第2羽根支持部にそれぞれ接続された第2補強部を備える、請求項5に記載の集合継手。
【請求項7】
前記第2補強部は、自身の厚さ方向が周方向に沿う板状に形成されている、請求項6に記載の集合継手。
【請求項8】
前記振動低減部は、前記羽根支持部に設けられ、前記羽根支持部を補強する、請求項1に記載の集合継手。
【請求項9】
前記羽根ユニットは、前記羽根支持部の端部に接続されるとともに、前記継手本体に装着可能な本体接続部を有し、
前記振動低減部は、前記羽根支持部の周方向の端から、前記羽根支持部から離間するように前記周方向に突出するとともに、前記本体接続部に接続されている、請求項8に記載の集合継手。
【請求項10】
前記振動低減部を2つ備え、
前記2つの振動低減部は、前記羽根支持部の前記周方向の端から、前記周方向にそれぞれ突出している、請求項9に記載の集合継手。
(【請求項11】以降は省略されています)
発明の詳細な説明
【技術分野】
【0001】
本発明は、集合継手に関する。
続きを表示(約 1,500 文字)
【背景技術】
【0002】
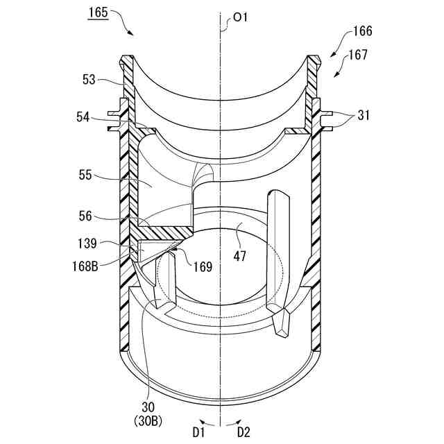
従来、集合継手に旋回羽根を設けるために、個別に形成された継手本体及び羽根ユニットを互いに嵌め合わせて、集合継手を構成することが知られている(例えば、特許文献1参照)。
羽根ユニットは、縦管接続部と、突出部と、羽根支持部と、旋回羽根と、を有する。
【0003】
縦管接続部の下端部は、継手本体の上端部の内周面に嵌め合わされている。突出部は、縦管接続部の下端部の内周面に、径方向内側に向かって突出するように設けられている。
羽根支持部は、縦管接続部の下端部から下方に向かって延びている。旋回羽根は、羽根支持部の内周面に、径方向内側に向かって突出するように設けられている。
縦管接続部内には、縦管の下端部が配置される。この際に、縦管は、突出部に、突出部の上方から、パッキンを介して係止する。
【0004】
排水設備から流れ出た排水(液体)は、縦管を通して集合継手内に流れ込む。排水は、旋回羽根に当たり、軸線回りに旋回しながら継手本体内を下方に向かって流れる。
【先行技術文献】
【特許文献】
【0005】
特開2019-112869号公報
【発明の概要】
【発明が解決しようとする課題】
【0006】
従来の集合継手では、継手本体と羽根ユニットの縦管接続部とが、接着による接着部により互いに固定されている。この場合、集合継手において排水が主に当たる旋回羽根は、固定される縦管接続部から比較的離間している。このため、旋回羽根等から生じる騒音が大きくなる虞がある。
【0007】
本発明は、このような問題点に鑑みてなされたものであって、液体により発生する騒音を低減させた集合継手を提供することを目的とする。
【課題を解決するための手段】
【0008】
前記課題を解決するために、この発明は以下の手段を提案している。
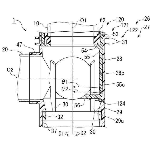
(1)本発明の態様1は、自身の軸線が上下方向に沿うように配置された継手本体と、前記継手本体の内周面上に配置される羽根支持部、及び前記羽根支持部から径方向内側に向かって突出する旋回羽根を有する羽根ユニットと、少なくとも前記羽根支持部に設けられ、前記羽根支持部の振動を低減させる振動低減部と、を備える、集合継手である。
【0009】
この発明では、例えば、継手本体に接続された縦管を通して継手本体内に流れ込んだ液体が、旋回羽根に当たる。このため、液体を旋回羽根により軸線回りに旋回させながら、継手本体内を下方に向かって流すことができる。
この際に、少なくとも羽根支持部に設けられた振動低減部が、羽根支持部の振動を低減させる。振動低減部は、特許文献1の縦管接続部よりも旋回羽根に近い羽根支持部に設けられるため、騒音が主に生じる旋回羽根の振動をより効果的に低減することができ、液体により発生する騒音を低減させることができる。
このように、本願では、旋回羽根の騒音を低減させるため、旋回羽根の振動を低減させることに着目した。従って、羽根支持部の振動を低減させる振動低減部は、羽根支持部の騒音を低減させる騒音低減部とも言える。
【0010】
(2)本発明の態様2は、前記振動低減部は、前記継手本体及び前記羽根支持部に設けられ、前記継手本体及び前記羽根支持部を締嵌めにより互いに固定する、(1)に記載の集合継手であってもよい。
この発明では、継手本体及び羽根支持部に設けられた振動低減部により、継手本体及び羽根支持部を締嵌めにより互いに固定することができる。
(【0011】以降は省略されています)
この特許をJ-PlatPat(特許庁公式サイト)で参照する
関連特許
積水化学工業株式会社
樹脂管
27日前
積水化学工業株式会社
集合継手
23日前
積水化学工業株式会社
製管装置
21日前
積水化学工業株式会社
配管構造
27日前
積水化学工業株式会社
解析方法
27日前
積水化学工業株式会社
積層構造体
27日前
積水化学工業株式会社
雨樋システム
2日前
積水化学工業株式会社
両面粘着テープ
27日前
積水化学工業株式会社
配管の接続構造
15日前
積水化学工業株式会社
両面粘着テープ
27日前
積水化学工業株式会社
防食用粘着テープ
23日前
積水化学工業株式会社
更生管の製管方法
28日前
積水化学工業株式会社
更生管の製管装置
21日前
積水化学工業株式会社
樹脂組成物、放熱部材
27日前
積水化学工業株式会社
基板積層体の製造方法
2日前
積水化学工業株式会社
継手構造および接続構造
27日前
積水化学工業株式会社
床の施工方法及び建築物
27日前
積水化学工業株式会社
集合継手及び排水システム
27日前
積水化学工業株式会社
配管構造及びプレハブ配管
20日前
積水化学工業株式会社
配管構造及びプレハブ配管
20日前
積水化学工業株式会社
軒樋支持具および雨樋システム
20日前
積水化学工業株式会社
竪樋支持具および排水システム
2日前
積水化学工業株式会社
継手、配管構造、配管の施工方法
28日前
積水化学工業株式会社
集合継手及び集合継手の製造方法
27日前
積水化学工業株式会社
粒体、地盤改良材及び地盤改良方法
23日前
積水化学工業株式会社
熱膨張性マイクロカプセル用組成物
1日前
積水化学工業株式会社
マスターバッチ、及びその製造方法
27日前
積水化学工業株式会社
防火区画貫通処理部材及び防火区画材
27日前
積水化学工業株式会社
鉄道用枕木、及び鉄道用枕木の製造方法
28日前
積水化学工業株式会社
防火区画貫通処理シート及び防火区画材
27日前
積水化学工業株式会社
樹脂材料、硬化物及び多層プリント配線板
28日前
積水化学工業株式会社
樹脂材料、硬化物及び多層プリント配線板
28日前
積水化学工業株式会社
硬化性樹脂組成物及び基板積層体の製造方法
27日前
積水化学工業株式会社
光ファイバ担持樹脂成形体及びその製造方法
27日前
積水化学工業株式会社
電気化学システム、及びカルボニル化合物の製造方法
27日前
積水化学工業株式会社
コンクリート試験体、及びコンクリート試験体の製造方法
27日前
続きを見る
他の特許を見る