TOP
|
特許
|
意匠
|
商標
特許ウォッチ
Twitter
他の特許を見る
10個以上の画像は省略されています。
公開番号
2025168548
公報種別
公開特許公報(A)
公開日
2025-11-07
出願番号
2025147597,2021194543
出願日
2025-09-05,2021-11-30
発明の名称
継手
出願人
積水化学工業株式会社
代理人
個人
,
個人
,
個人
,
個人
主分類
E03C
1/12 20060101AFI20251030BHJP(上水;下水)
要約
【課題】本発明は、継手の提供を目的とする。
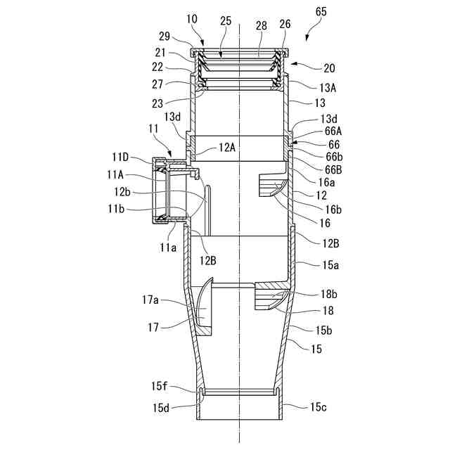
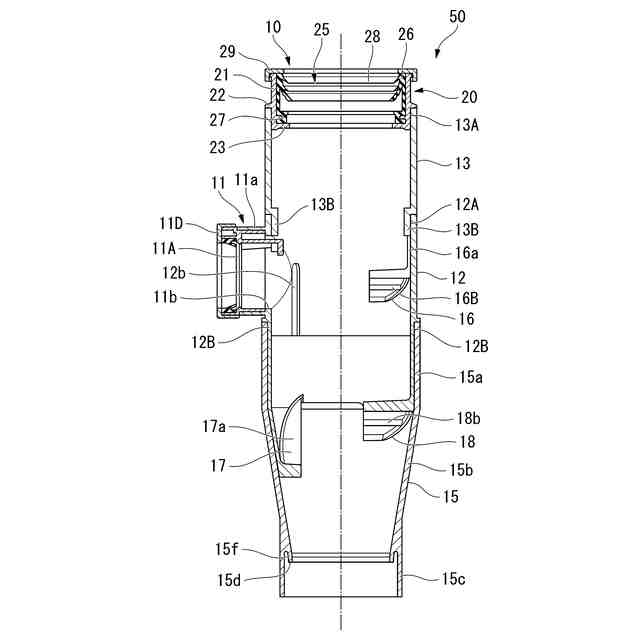
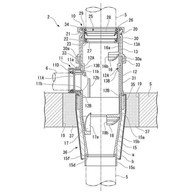
【解決手段】本発明の継手は、建物の床スラブに設けた貫通孔に設置される継手であって、上階から延びる縦管と接続される縦管接続部と、横管と接続される横管接続部を有する集合部と、前記縦管接続部と前記集合部とを接続し、前記縦管の内径よりも大きな内径を有する上部筒部と、下階から延びる縦管と接続される下部接続部と、を備え、少なくとも、前記上部筒部、前記集合部、前記下部接続部のいずれかは樹脂で構成され、前記上部筒部、前記集合部のいずれかの内部に第1旋回部材が設けられ、前記下部接続部の内部に第2旋回部材が設けられていることを特徴とする。
【選択図】図1
特許請求の範囲
【請求項1】
建物の床スラブに設けた貫通孔に設置される継手であって、
上階から延びる縦管と接続される縦管接続部と、
横管と接続される横管接続部を有する集合部と、
前記縦管接続部と前記集合部とを接続し、前記縦管の内径よりも大きな内径を有する上部筒部と、
下階から延びる縦管と接続される下部接続部と、
を備え、
少なくとも、前記上部筒部、前記集合部、前記下部接続部のいずれかは樹脂で構成され、
前記上部筒部、前記集合部のいずれかの内部に第1旋回部材が設けられ、
前記下部接続部の内部に第2旋回部材が設けられていることを特徴とする継手。
続きを表示(約 470 文字)
【請求項2】
前記上部筒部、前記集合部のそれぞれの内部に旋回部材が設けられている請求項1に記載の継手。
【請求項3】
前記上部筒部の上部は、前記縦管接続部の下部が挿入される受口であり、
前記上部筒部の下部は、前記集合部の上部に挿入される差口である請求項1または請求項2に記載の継手。
【請求項4】
前記上部筒部の外面を覆う第1の遮音カバーと前記集合部の外面を覆う第2の遮音カバーを備える請求項1~請求項3のいずれか一項に記載の継手。
【請求項5】
前記第1の遮音カバーと前記第2の遮音カバーは端面同士が対向するように設けられている請求項4に記載の継手。
【請求項6】
前記上部筒部および前記集合部の外面を覆う遮音カバーが設けられている請求項1~請求項5のいずれか一項に記載の継手。
【請求項7】
前記集合部と前記下部接続部を接続し、一端から他端まで同一内径の中間部を備えたことを特徴とする請求項1~請求項6のいずれか一項に記載の継手。
発明の詳細な説明
【技術分野】
【0001】
本発明は、継手に関する。
続きを表示(約 1,400 文字)
【背景技術】
【0002】
従来から、以下の特許文献1に記載されたような樹脂製の排水管継手が知られている。 この排水管継手は、建物の上階と下階とを仕切る床スラブを貫通して各階に設置され、上階の排水管と下階の排水管とを水密な状態で連通させる排水管継手である。
この排水管継手は、上階の排水管が接続される受け口を備える樹脂製の上胴部と、床スラブに埋設される部分で、上胴部の下端部に接続される上端接続部と、床スラブの天井面から下方に突出して、下階の排水管が接続される下端接続部を備える下胴部を有する。また、上述の排水管継手は、下胴部の内側に固定可能な構成で、流下する排水を導く羽根を備える樹脂製の内装部材を備えている。
【先行技術文献】
【特許文献】
【0003】
特開2014-58849号公報
【発明の概要】
【発明が解決しようとする課題】
【0004】
上述の排水管継手は高層建築物等に用いられるが、高層建築物の排水は、下層階になるほど各階からの排水が集まって水量が多くなるため、7L/s以上などのような多量の排水を流すことができる高い排水性能を有することが求められる。また、多量の排水を流した場合であっても、継手に封水破壊が生じないことも求められる。
【0005】
従来から、製造の容易な鋳鉄製の集合継手では上述のような高い排水性能を有する集合継手が知られている。ところが、樹脂製の集合継手は射出成型により、大きさに制約があること、複雑な形状に成型できないこと、などの制約から、高い排水性能を有する集合継手の提供が困難であった。
【0006】
本発明は、前述した事情に鑑み、高い排水性能を有する継手の提供を目的とする。
【課題を解決するための手段】
【0007】
前記課題を解決するために、本発明は以下の形態を提案している。
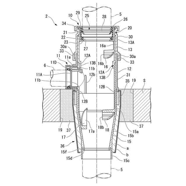
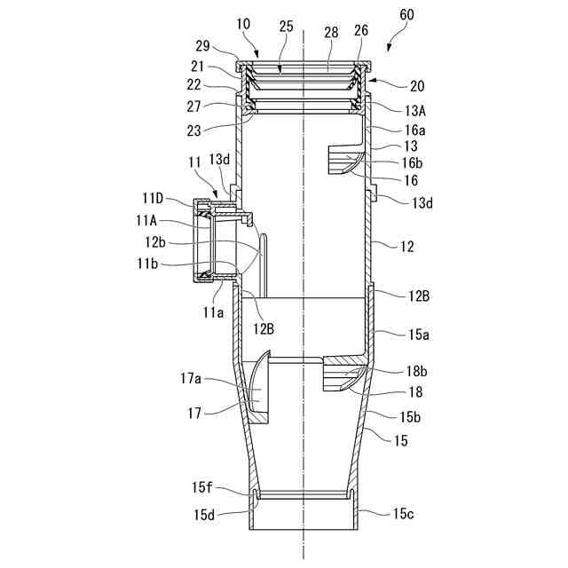
「1」本形態に係る継手は、建物の床スラブに設けた貫通孔に設置される継手であって、上階から延びる縦管と接続される縦管接続部と、横管と接続される横管接続部を有する集合部と、前記縦管接続部と前記集合部とを接続し、前記縦管の内径よりも大きな内径を有する上部筒部と、下階から延びる縦管と接続される下部接続部と、を備え、少なくとも、前記上部筒部、前記集合部、前記下部接続部のいずれかは樹脂で構成され、前記上部筒部、前記集合部のいずれかの内部に第1旋回部材が設けられ、前記下部接続部の内部に第2旋回部材が設けられていることを特徴とする。
【0008】
本形態によれば、上階から伸びる縦管の内径よりも大きな内径を有する上部筒部を備えているため、縦管から継手に排水が流れ込む部分の内容積が大きく、縦管から継手に至る部分において優れた排水能力を有する。
【0009】
「2」本形態に係る継手において、前記上部筒部、前記集合部のそれぞれの内部に旋回部材が設けられている構成を採用できる。
【0010】
縦管から流下する排水の一部を旋回部材により受けて旋回させ、旋回流を生成することができる。排水の一部を旋回流とし、整流化した上で下方に導くことができる。例えば、旋回部材により排水を旋回させながら下方に向かって流れるように導くと、排水の反射流が横管側に逆流することを抑制できる。よって、継手は排水性能に優れるようになる。
(【0011】以降は省略されています)
この特許をJ-PlatPat(特許庁公式サイト)で参照する
関連特許
丸一株式会社
排水配管部材
13日前
TOTO株式会社
トイレ装置
1か月前
株式会社田中設備
蓋体
1か月前
個人
ドクター中まミズつクル
2か月前
一文機工株式会社
トイレ装置
18日前
TOTO株式会社
排水システム
1か月前
TOTO株式会社
排水システム
1か月前
株式会社KVK
水栓
1か月前
TOTO株式会社
便座装置
2か月前
株式会社KVK
水栓
3か月前
株式会社KVK
水栓
3か月前
タイガースポリマー株式会社
側溝
2か月前
株式会社KVK
水栓
3か月前
ミサワホーム株式会社
外構
1か月前
TOTO株式会社
トイレ装置
2か月前
TOTO株式会社
トイレ装置
2か月前
TOTO株式会社
トイレ装置
2か月前
ホーコス株式会社
床置型グリース阻集器
2か月前
TOTO株式会社
洗面器及び洗面台
3か月前
クリナップ株式会社
キッチン
1か月前
TOTO株式会社
洗面器及び洗面台
3か月前
株式会社Deto
吐水器
1か月前
共立製薬株式会社
小便器用排水システム
12日前
飛島建設株式会社
仮設壁の構築方法
1か月前
株式会社LIXIL
便器装置
2か月前
株式会社LIXIL
便器装置
2か月前
株式会社タカギ
水栓
2か月前
株式会社タカギ
水栓
2か月前
積水化学工業株式会社
継手
2か月前
新明和工業株式会社
吸引車
2か月前
株式会社タカギ
吐水装置
2か月前
TOTO株式会社
トイレシステム及びトイレ装置
1か月前
積水化学工業株式会社
配管構造
1か月前
SANEI株式会社
水栓
3か月前
因幡電機産業株式会社
排水トラップ
2か月前
株式会社LIXIL
洗浄水タンク装置
2か月前
続きを見る
他の特許を見る