TOP
|
特許
|
意匠
|
商標
特許ウォッチ
Twitter
他の特許を見る
公開番号
2025128582
公報種別
公開特許公報(A)
公開日
2025-09-03
出願番号
2024025327
出願日
2024-02-22
発明の名称
水栓
出願人
SANEI株式会社
代理人
弁理士法人岡田国際特許事務所
主分類
E03C
1/042 20060101AFI20250827BHJP(上水;下水)
要約
【課題】回転式の操作部材を操作部材に対してがたつきを抑制できるように接続することが可能な水栓を提供すること。
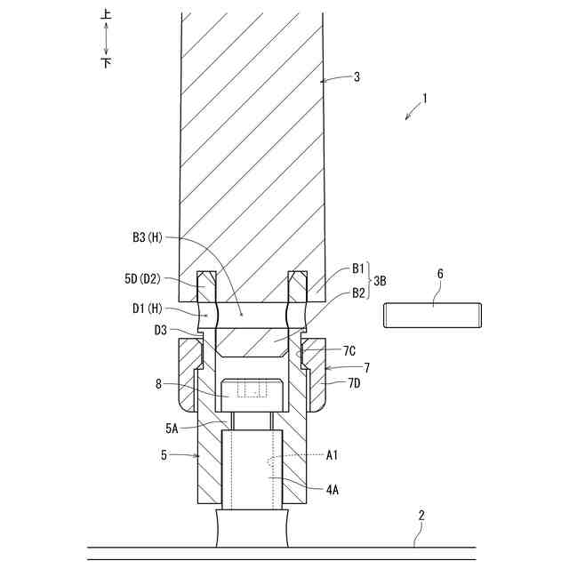
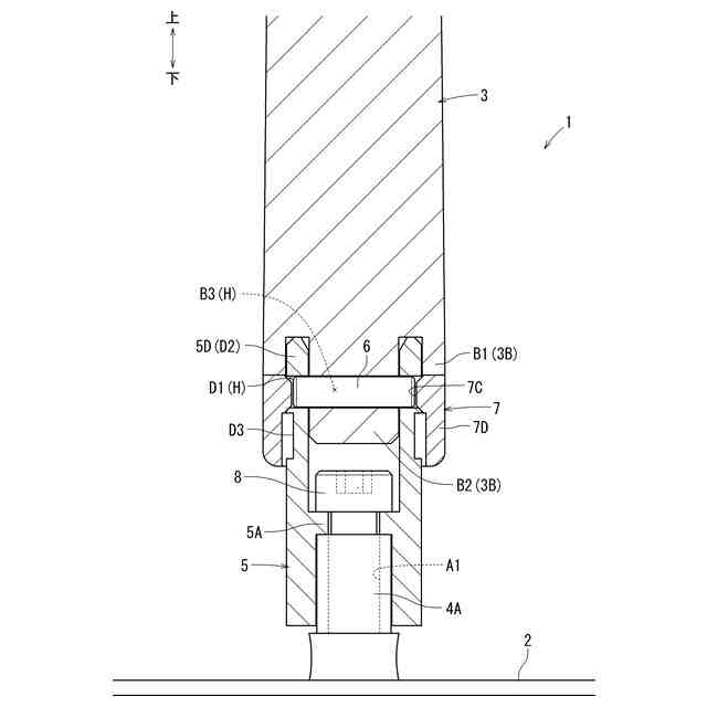
【解決手段】水栓1は、回転操作式の操作レバー3と、操作レバー3に対して操作力の伝達を受けられるように接続される接続金具5と、を有する。水栓1は、操作レバー3から軸方向に延出する嵌合軸部3Bと、嵌合軸部3Bと接続金具5とに形成される径方向の各孔部B3,D1と、を有する。嵌合軸部3Bは、接続金具5に対して回転可能となるように軸方向に嵌合される。各孔部B3,D1は、上記嵌合された嵌合軸部3Bの回転方向の位置合わせに伴い互いに径方向の外側に開口するように連通する差込孔Hを形成する。水栓1は、各孔部B3,D1に跨って径方向に差し込まれるピン6を更に有する。また、水栓1は、接続金具5に螺合されて、嵌合軸部3Bに対する軸方向の締め付けが可能とされた締結ナット7を更に有する。
【選択図】図8
特許請求の範囲
【請求項1】
回転操作式の操作部材と、該操作部材に対して操作力の伝達を受けられるように接続される接続部材と、を有する水栓であって、
前記操作部材から軸方向に延出し、前記接続部材に対して回転可能となるように軸方向に嵌合される嵌合軸部と、
該嵌合軸部と前記接続部材とに形成される径方向の各孔部であって、前記嵌合された前記嵌合軸部の回転方向の位置合わせに伴い互いに径方向の外側に開口するように連通する差込孔を形成する各前記孔部と、
各前記孔部に跨って径方向に差し込まれるピンと、
前記嵌合軸部及び前記接続部材のうちの一方に螺合され、他方に対する軸方向の締め付けが可能な締結ナットと、を有する水栓。
続きを表示(約 670 文字)
【請求項2】
請求項1に記載の水栓であって、
各前記孔部が、前記接続部材と前記嵌合軸部とに径方向に貫通するように形成され、
前記ピンが、各前記孔部に貫通するように差し込まれる水栓。
【請求項3】
請求項1又は請求項2に記載の水栓であって、
前記締結ナットが、前記他方への締め付けに伴い、前記差込孔を径方向の外側から覆う第1覆い部を有する水栓。
【請求項4】
請求項1又は請求項2に記載の水栓であって、
前記締結ナットが、前記他方への締め付けに伴い、前記締結ナットが螺合する前記一方の外周部に形成される締め付け前の前記締結ナットを遊嵌させておくことが可能な括れ部を外部に対して被覆する第2覆い部を有する水栓。
【請求項5】
請求項1又は請求項2に記載の水栓であって、
前記接続部材が、軸方向に円筒状に延出する接続円筒部を有し、
前記嵌合軸部が、前記接続円筒部に筒外側から嵌合される円筒状の外嵌合筒部と、該外嵌合筒部よりも軸方向に長く延出して前記接続円筒部の筒内に嵌合される内嵌合部と、を有し、
前記ピンが、前記接続円筒部と前記内嵌合部とに形成された各前記孔部に差し込まれ、
前記締結ナットが、前記接続円筒部に筒外側から螺合され、前記外嵌合筒部の筒端面に軸方向に締め付けられる水栓。
【請求項6】
請求項5に記載の水栓であって、
前記締結ナットが、前記外嵌合筒部の筒外周面と面一状のナット外周面を有する水栓。
発明の詳細な説明
【技術分野】
【0001】
本発明は、水栓に関する。詳しくは、回転操作式の操作部材と、操作部材に操作力の伝達を受けられるように接続される接続部材と、を有する水栓に関する。
続きを表示(約 1,400 文字)
【背景技術】
【0002】
特許文献1には、回転操作式のハンドルが操作軸(操作部材)に対して動力伝達可能なように接続された水栓が開示されている。具体的には、操作軸に、径方向外側へと突出するようにピンが横から差し込まれている。更に、このピンが差し込まれた操作軸に対し、ハンドルが軸方向に差し込まれている。
【0003】
ハンドルには、ピンを軸方向に受け入れた後、ハンドルを回転させることによって、ピンを回転方向に引き込んで軸方向に抜けないように係合させるL字状の係合溝が切られている。ハンドルは、上記のように操作軸に差し込まれた後、その中心部にハンドルと操作軸との両者にセレーション嵌合する嵌合部材が差し込まれることで、操作軸とが一体的に嵌合される。
【先行技術文献】
【特許文献】
【0004】
実開平4-128584号公報
【発明の概要】
【発明が解決しようとする課題】
【0005】
特許文献1に記載の構成では、ハンドルとピン及び/又は操作軸とピンとの間に形成される隙間により、ハンドルが操作軸に対して軸方向にがたつき得ることから、更なる改良の余地がある。そこで、本発明は、回転式の操作部材を操作部材に対してがたつきを抑制できるように接続することが可能な水栓を提供する。
【課題を解決するための手段】
【0006】
上記課題を解決するために、本発明の水栓は、次の手段をとる。
【0007】
すなわち、本発明の第1の発明は、回転操作式の操作部材と、該操作部材に対して操作力の伝達を受けられるように接続される接続部材と、を有する水栓であって、前記操作部材から軸方向に延出し、前記接続部材に対して回転可能となるように軸方向に嵌合される嵌合軸部と、該嵌合軸部と前記接続部材とに形成される径方向の各孔部であって、前記嵌合された前記嵌合軸部の回転方向の位置合わせに伴い互いに径方向の外側に開口するように連通する差込孔を形成する各前記孔部と、各前記孔部に跨って径方向に差し込まれるピンと、前記嵌合軸部及び前記接続部材のうちの一方に螺合され、他方に対する軸方向の締め付けが可能な締結ナットと、を有する水栓である。
【0008】
第1の発明によれば、嵌合軸部と接続部材との嵌合部分に横から差し込まれるピンにより、嵌合軸部が接続部材に対して回転方向と軸方向とに一体的となる状態に接続される。更に、この接続に加えて、嵌合軸部及び接続部材のうちの一方に螺合された締結ナットを他方に締め付けることで、嵌合軸部の接続部材に対する軸方向、径方向及び回転方向の各がたつきを抑制することができる。
【0009】
本発明の第2の発明は、上記第1の発明において、各前記孔部が、前記接続部材と前記嵌合軸部とに径方向に貫通するように形成され、前記ピンが、各前記孔部に貫通するように差し込まれる水栓である。
【0010】
第2の発明によれば、締結ナットの締め付け力によりピンを介して接続部材と嵌合軸部との間で掛けられる軸方向の押圧力が、径方向の片側に偏らないようにバランスされる。その結果、接続部材を嵌合軸部に対してより適切にがたつきを抑制した状態に接続することができる。
(【0011】以降は省略されています)
この特許をJ-PlatPat(特許庁公式サイト)で参照する
関連特許
SANEI株式会社
水栓装置
1か月前
SANEI株式会社
シングルレバー混合水栓用カートリッジ
1か月前
個人
蛇口
5か月前
丸一株式会社
排水配管部材
13日前
株式会社田中設備
蓋体
1か月前
TOTO株式会社
トイレ装置
1か月前
個人
ドクター中まミズつクル
2か月前
一文機工株式会社
トイレ装置
18日前
ヒロテツ工業株式会社
溝カバー
5か月前
TOTO株式会社
排水システム
1か月前
TOTO株式会社
排水システム
1か月前
株式会社タカギ
水栓装置
5か月前
ミサワホーム株式会社
外構
1か月前
株式会社KVK
水栓
3か月前
株式会社KVK
水栓
1か月前
タイガースポリマー株式会社
側溝
2か月前
TOTO株式会社
便座装置
2か月前
株式会社KVK
水栓
3か月前
株式会社KVK
水栓
3か月前
TOTO株式会社
トイレ装置
2か月前
TOTO株式会社
トイレ装置
2か月前
TOTO株式会社
トイレ装置
2か月前
株式会社タカギ
水栓装置
4か月前
株式会社大林組
雨水桝蓋
5か月前
株式会社 林物産発明研究所
土木構造体
5か月前
ホーコス株式会社
床置型グリース阻集器
2か月前
TOTO株式会社
浴室床
3か月前
TOTO株式会社
洗面器及び洗面台
3か月前
TOTO株式会社
洗面器及び洗面台
3か月前
クリナップ株式会社
キッチン
1か月前
三興建設株式会社
下水道バイパス装置
3か月前
株式会社Deto
吐水器
1か月前
TOTO株式会社
洗い場床
4か月前
丸一株式会社
排水装置及び封水形成部材
5か月前
TOTO株式会社
排水管継手
3か月前
TOTO株式会社
排水管継手
3か月前
続きを見る
他の特許を見る