TOP
|
特許
|
意匠
|
商標
特許ウォッチ
Twitter
他の特許を見る
10個以上の画像は省略されています。
公開番号
2025165369
公報種別
公開特許公報(A)
公開日
2025-11-04
出願番号
2025025797
出願日
2025-02-20
発明の名称
電気融着継手、配管システム、配管付き電気融着継手、及び配管更生構造
出願人
積水化学工業株式会社
代理人
個人
,
個人
,
個人
,
個人
主分類
F16L
47/03 20060101AFI20251027BHJP(機械要素または単位;機械または装置の効果的機能を生じ維持するための一般的手段)
要約
【課題】2つの端子が損傷するのを抑制するとともに、継手本体内を流れる液体が継手本体における2つの端子が配置された部分から漏れるのを抑えた電気融着継手を得る。
【解決手段】電気融着継手21は、自身の軸線O1方向の第1端部22aに第1開口22bが形成された継手本体22と、継手本体に埋設された電線24Aと、軸線方向において、電線よりも第1端部寄りの継手本体に配置され、電線の両端部に着脱可能な2つの端子29Aと、を備える。
【選択図】図2
特許請求の範囲
【請求項1】
自身の軸線方向の第1端部に第1開口が形成された継手本体と、
前記継手本体に埋設された電線と、
前記軸線方向において、前記電線よりも前記第1端部寄りの前記継手本体に配置され、前記電線の両端部に着脱可能な2つの端子と、
を備える、電気融着継手。
続きを表示(約 540 文字)
【請求項2】
前記継手本体は、筒状に形成され、
前記継手本体の内周面における、前記軸線方向において、前記電線よりも前記第1端部とは反対側の部分に配置され、径方向内側に向かって突出した突出部を備える、請求項1に記載の電気融着継手。
【請求項3】
筒状に形成されて、前記継手本体から径方向外側に向かって突出し、前記端子を囲う保護部材を備え、
前記保護部材の外径は、前記軸線に近づくに従い漸次大きくなる、請求項1又は2に記載の電気融着継手。
【請求項4】
請求項1又は2に記載の電気融着継手と、
自身の端部が前記第1開口を通して前記継手本体内に配置された配管と、
を備え、
前記継手本体の外径及び前記配管の外径は、互いに等しい、配管システム。
【請求項5】
請求項1又は2に記載の電気融着継手と、
前記継手本体の第2端部に形成された第2開口に連通するように、前記継手本体に接続された配管と、
を備える、配管付き電気融着継手。
【請求項6】
既設配管と、
前記既設配管内に配置された請求項4に記載の配管システムと、
を備える、配管更生構造。
発明の詳細な説明
【技術分野】
【0001】
本発明は、電気融着継手、配管システム、配管付き電気融着継手、及び配管更生構造に関する。
続きを表示(約 1,800 文字)
【背景技術】
【0002】
従来、既設配管内に樹脂管(配管)を配置して、既設配管を更生することが行われている(例えば、特許文献1参照)。
【先行技術文献】
【特許文献】
【0003】
特開平11-170367号公報
【発明の概要】
【発明が解決しようとする課題】
【0004】
ポリエチレン樹脂製の長い樹脂管が必要な場合、複数の樹脂管を電気融着継手を介して融着して、複数の樹脂管全体としての長さを長くすることが行われている。
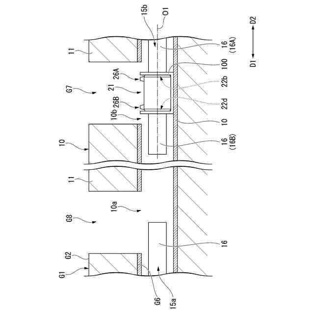
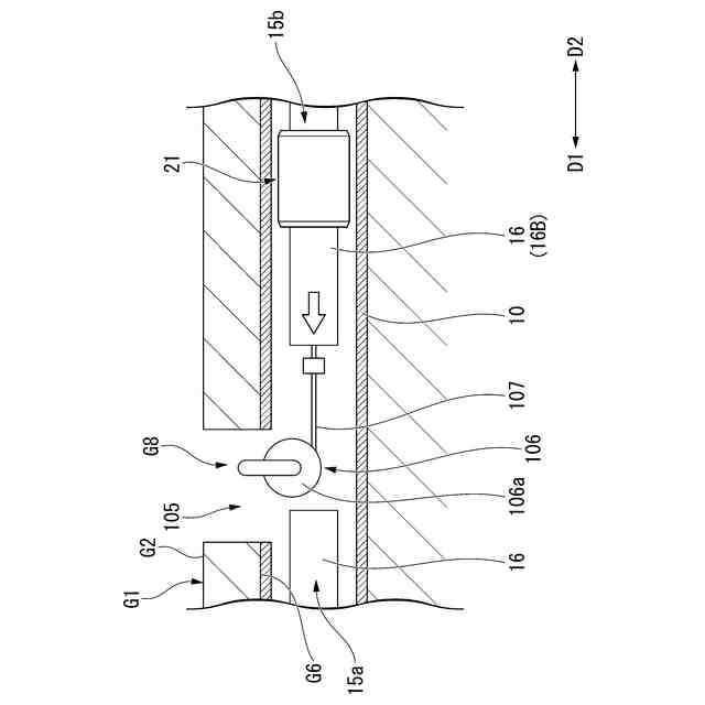
従来の電気融着継手は、継手本体と、電線と、2つの端子と、を備える。継手本体は、筒状に形成されている。電線は、継手本体に埋設されている。2つの端子は、継手本体の外周面から径方向外側に向かって突出し、電線の両端部に電気的に接続されている。2つの端子は、継手本体に、継手本体の軸線方向に間隔を空けて配置されている。
【0005】
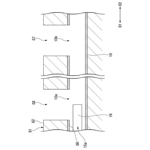
しかしながら、従来の電気融着継手及び樹脂管を用い、既設配管内にこれら電気融着継手及び樹脂管を配置して既設配管を更生すると、電気融着継手の2つの端子が既設配管に引っ掛かって、端子が損傷する虞がある。
また、継手本体における2つの端子が配置された部分では、2つの端子を配置する構造を確保するために、継手本体の厚さが薄くなる。このため、継手本体に樹脂管を融着したときに、継手本体内を流れる水(液体)が、継手本体と樹脂管との間を通して、継手本体における2つの端子が配置された部分から漏れる虞がある。
【0006】
本発明は、かかる問題点を解決するためになされたもので、2つの端子が損傷するのを抑制するとともに、継手本体内を流れる液体が継手本体における2つの端子が配置された部分から漏れるのを抑えた電気融着継手、配管システム、配管付き電気融着継手、及び配管更生構造を得ることを目的とする。
【課題を解決するための手段】
【0007】
前記課題を解決するために、この発明は以下の手段を提案している。
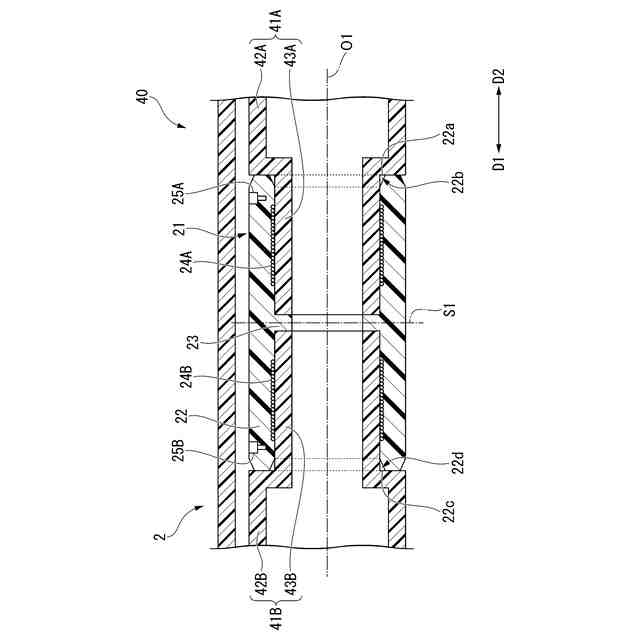
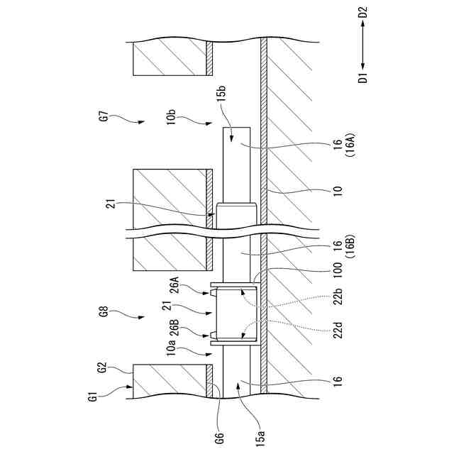
(1)本発明の態様1は、自身の軸線方向の第1端部に第1開口が形成された継手本体と、前記継手本体に埋設された電線と、前記軸線方向において、前記電線よりも前記第1端部寄りの前記継手本体に配置され、前記電線の両端部に着脱可能な2つの端子と、を備える、電気融着継手である。
【0008】
この発明では、2つの端子が電線の両端部に着脱可能であるため、例えば電気融着継手を移動させる前等に、予め2つの端子を離脱させておくことで、既設配管内に電気融着継手を配置して既設配管を更生する際に、2つの端子が損傷するのを抑制することができる。
また、2つの端子が、軸線方向において、電線よりも第1端部寄りの継手本体に配置されている。このため、継手本体の第1開口を通して継手本体内に配管を配置したときに、継手本体内を流れる液体による圧力は、継手本体と配管との間から液体が漏れようとする上流側である、配管の先端と継手本体との間には作用しやすい。一方で、この圧力は、継手本体と配管との間から液体が漏れようとする下流側である、継手本体における2つの端子が配置された部分には作用しにくい。従って、液体が継手本体における2つの端子が配置された部分から漏れるのを抑えることができる。
【0009】
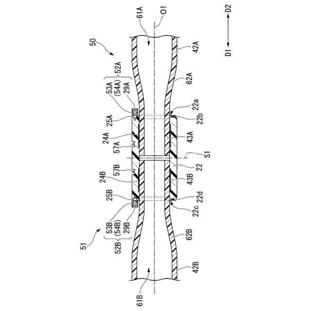
(2)本発明の態様2は、前記継手本体は、筒状に形成され、前記継手本体の内周面における、前記軸線方向において、前記電線よりも前記第1端部とは反対側の部分に配置され、径方向内側に向かって突出した突出部を備える、(1)に記載の電気融着継手であってもよい。
この発明では、例えば、継手本体内に配管を挿入する際に、突出部に配管を突き当てることで、継手本体内における配管の位置決めを容易に行うことができる。
【0010】
(3)本発明の態様3は、筒状に形成されて、前記継手本体から径方向外側に向かって突出し、前記端子を囲う保護部材を備え、前記保護部材の外径は、前記軸線に近づくに従い漸次大きくなる、(1)又は(2)に記載の電気融着継手であってもよい。
この発明では、保護部材により端子を保護するとともに、例えば、既設配管に保護部材が引っ掛かったときに、保護部材が折れにくくすることができる。
(【0011】以降は省略されています)
この特許をJ-PlatPat(特許庁公式サイト)で参照する
関連特許
積水化学工業株式会社
樹脂管
1か月前
積水化学工業株式会社
集合継手
1か月前
積水化学工業株式会社
製管装置
1か月前
積水化学工業株式会社
積層構造体
1か月前
積水化学工業株式会社
雨樋システム
29日前
積水化学工業株式会社
配管の接続構造
1か月前
積水化学工業株式会社
防食用粘着テープ
1か月前
積水化学工業株式会社
更生管の製管装置
1か月前
積水化学工業株式会社
太陽電池設置構造
14日前
積水化学工業株式会社
太陽電池設置構造
14日前
積水化学工業株式会社
太陽電池設置構造
14日前
積水化学工業株式会社
基板積層体の製造方法
26日前
積水化学工業株式会社
基板積層体の製造方法
29日前
積水化学工業株式会社
床の施工方法及び建築物
1か月前
積水化学工業株式会社
配管構造及びプレハブ配管
1か月前
積水化学工業株式会社
配管構造及びプレハブ配管
1か月前
積水化学工業株式会社
軒樋支持具および雨樋システム
1か月前
積水化学工業株式会社
竪樋支持具および排水システム
29日前
積水化学工業株式会社
太陽電池モジュールの取付構造
14日前
積水化学工業株式会社
集合継手及び集合継手の製造方法
1か月前
積水化学工業株式会社
マスターバッチ、及びその製造方法
1か月前
積水化学工業株式会社
熱膨張性マイクロカプセル用組成物
28日前
積水化学工業株式会社
粒体、地盤改良材及び地盤改良方法
1か月前
積水化学工業株式会社
ポリオルガノシロキサン、樹脂組成物
5日前
積水化学工業株式会社
防火区画貫通処理シート及び防火区画材
1か月前
積水化学工業株式会社
光ファイバ担持樹脂成形体及びその製造方法
1か月前
積水化学工業株式会社
超音波トランスデューサ、及び超音波センサ
14日前
積水化学工業株式会社
超音波トランスデューサおよび超音波センサ
14日前
積水化学工業株式会社
継手
19日前
積水化学工業株式会社
継手
26日前
積水化学工業株式会社
コンクリート試験体、及びコンクリート試験体の製造方法
1か月前
積水化学工業株式会社
熱伝導性シート保持体、及び熱伝導性シートの貼り付け方法
1か月前
積水化学工業株式会社
ガス製造装置
5日前
積水化学工業株式会社
防食用粘着テープ
1か月前
積水化学工業株式会社
施工管理システム
1か月前
積水化学工業株式会社
光ファイバ担持管梱包体および光ファイバ担持管梱包体用の支持部材
21日前
続きを見る
他の特許を見る