TOP
|
特許
|
意匠
|
商標
特許ウォッチ
Twitter
他の特許を見る
公開番号
2025154238
公報種別
公開特許公報(A)
公開日
2025-10-10
出願番号
2024057128
出願日
2024-03-29
発明の名称
床の施工方法及び建築物
出願人
積水化学工業株式会社
代理人
個人
,
個人
,
個人
,
個人
主分類
E04B
5/40 20060101AFI20251002BHJP(建築物)
要約
【課題】デッキプレートからコンクリートが漏れるのを防止して、床貫通孔が形成された床を施工する床の施工方法を提供する。
【解決手段】デッキプレート上にコンクリートが配置されて構成された床に、床貫通孔を形成する、床の施工方法S6であって、デッキプレートを配置するプレート配置工程S10と、デッキプレートの板本体にデッキ孔を形成する孔形成工程S11と、デッキ孔内にスリーブを、板本体からスリーブが上方及び下方に向かってそれぞれ突出するように配置するスリーブ配置工程S12と、デッキプレート上にコンクリートを打設し、スリーブに形成されたスリーブ孔により床貫通孔が形成された床を構成するコンクリート配置工程S13とを行う。
【選択図】図4
特許請求の範囲
【請求項1】
デッキプレート上にコンクリートが配置されて構成された床に、床貫通孔を形成する、床の施工方法であって、
前記デッキプレートを配置するプレート配置工程と、
前記デッキプレートの板本体にデッキ孔を形成する孔形成工程と、
前記デッキ孔内にスリーブを、前記板本体から前記スリーブが上方及び下方に向かってそれぞれ突出するように配置するスリーブ配置工程と、
前記デッキプレート上に前記コンクリートを打設し、前記スリーブに形成されたスリーブ孔により前記床貫通孔が形成された前記床を構成するコンクリート配置工程と
を行う、床の施工方法。
続きを表示(約 590 文字)
【請求項2】
前記スリーブは、
管材と、
前記管材における、前記管材の軸線方向の中間部の外周面に設けられ、前記管材から径方向外側に突出する鍔部と
を備え、
前記スリーブ配置工程では、前記デッキ孔に前記管材の一部が配置されるとともに、前記板本体における前記デッキ孔の開口周縁部に前記鍔部が前記板本体の上方から係止することで、前記管材が前記板本体から上方及び下方にそれぞれ突出する、請求項1に記載の床の施工方法。
【請求項3】
前記管材は耐火層を有する、請求項2に記載の床の施工方法。
【請求項4】
前記スリーブ配置工程では、前記管材の下端を、前記デッキプレートにおける前記板本体から下方に向かって突出した突出部の下端と同じ高さか、前記突出部の下端よりも上方に配置する、請求項2又は3に記載の床の施工方法。
【請求項5】
前記鍔部は、
前記管材の前記外周面に設けられた封止部材と、
前記封止部材における前記軸線方向を向く面に設けられ、自身の外径が前記封止部材の外径及び前記デッキ孔の径よりもそれぞれ大きい係止部材と、
を有する、請求項2又は3に記載の床の施工方法。
【請求項6】
請求項1に記載の床の施工方法により施工された前記床を備える、建築物。
発明の詳細な説明
【技術分野】
【0001】
本発明は、床の施工方法及び建築物に関する。
続きを表示(約 1,900 文字)
【背景技術】
【0002】
従来、スリーブを用いて、床に区画貫通孔(床貫通孔)を形成することが行われている(例えば、特許文献1参照)。
特許文献1では、床下地にスリーブを固定し、コンクリートを床下地に流し込む。これにより、スリーブの開口部(スリーブ孔)が、区画貫通孔として作用する。
【先行技術文献】
【特許文献】
【0003】
特開2017-227111号公報
【発明の概要】
【発明が解決しようとする課題】
【0004】
しかしながら、コンクリートを流し込む際に、コンクリートがスリーブに及ぼす力により、床下地からスリーブが浮き上がり(離間し)、床下地とスリーブとの間からコンクリートが漏れるという問題がある。
また、近年、床下地に代えて、デッキプレートが用いられている。
【0005】
本発明は、このような問題点に鑑みてなされたものであって、デッキプレートからコンクリートが漏れるのを防止して、床貫通孔が形成された床を施工する床の施工方法、及び、この床を備える建築物を提供することを目的とする。
【課題を解決するための手段】
【0006】
前記課題を解決するために、この発明は以下の手段を提案している。
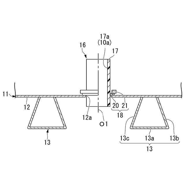
(1)本発明の態様1は、デッキプレート上にコンクリートが配置されて構成された床に、床貫通孔を形成する、床の施工方法であって、前記デッキプレートを配置するプレート配置工程と、前記デッキプレートの板本体にデッキ孔を形成する孔形成工程と、前記デッキ孔内にスリーブを、前記板本体から前記スリーブが上方及び下方に向かってそれぞれ突出するように配置するスリーブ配置工程と、前記デッキプレート上に前記コンクリートを打設し、前記スリーブに形成されたスリーブ孔により前記床貫通孔が形成された前記床を構成するコンクリート配置工程とを行う、床の施工方法である。
【0007】
この発明では、プレート配置工程においてデッキプレートを所定の位置に配置し、孔形成工程において板本体にデッキ孔を形成する。スリーブ配置工程においてデッキ孔内にスリーブを、板本体からスリーブが上方及び下方にそれぞれ突出するように配置し、コンクリート配置工程においてデッキプレート上にコンクリートを打設し、スリーブ孔により床貫通孔が形成された床を構成することで、床貫通孔が形成された床を施工することができる。
コンクリート配置工程を行う際に、コンクリートがスリーブに及ぼす力により、デッキプレートに対してスリーブが傾こうとする。しかし、板本体からスリーブが下方に向かって突出しているため、スリーブにおけるデッキ孔内に配置されている部分、及びこの突出している部分が板本体に干渉して、デッキプレートに対してスリーブが傾くのが抑えられる。さらに、デッキプレートに対してスリーブが傾いても、これらの部分が、板本体とスリーブとの間に隙間が形成されるのを抑制する。
従って、デッキプレートからコンクリートが漏れるのを防止することができる。
【0008】
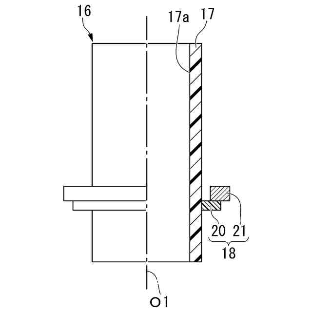
(2)本発明の態様2は、前記スリーブは、管材と、前記管材における、前記管材の軸線方向の中間部の外周面に設けられ、前記管材から径方向外側に突出する鍔部とを備え、前記スリーブ配置工程では、前記デッキ孔に前記管材の一部が配置されるとともに、前記板本体における前記デッキ孔の開口周縁部に前記鍔部が前記板本体の上方から係止することで、前記管材が前記板本体から上方及び下方にそれぞれ突出する、(1)に記載の床の施工方法であってもよい。
この発明では、スリーブ配置工程において板本体におけるデッキ孔の開口周縁部に鍔部が板本体の上方から係止することで、板本体に対する管材の上下方向の位置決めをすることができる。
【0009】
(3)本発明の態様3は、前記管材は耐火層を有する、(1)に記載の床の施工方法であってもよい。
この発明では、例えば、床が火災の影響を受けた場合でも、管材が一定程度火災に耐えることができる。
【0010】
(4)本発明の態様4は、前記スリーブ配置工程では、前記管材の下端を、前記デッキプレートにおける前記板本体から下方に向かって突出した突出部の下端と同じ高さか、前記突出部の下端よりも上方に配置する、(2)又は(3)に記載の床の施工方法であってもよい。
この発明では、スリーブにおける板本体から下方に向かって突出した部分が、床の施工時、及び床の使用時に支障となるのを防止することができる。
(【0011】以降は省略されています)
この特許をJ-PlatPat(特許庁公式サイト)で参照する
関連特許
積水化学工業株式会社
樹脂管
1か月前
積水化学工業株式会社
集合継手
1か月前
積水化学工業株式会社
製管装置
1か月前
積水化学工業株式会社
積層構造体
1か月前
積水化学工業株式会社
雨樋システム
27日前
積水化学工業株式会社
配管の接続構造
1か月前
積水化学工業株式会社
防食用粘着テープ
1か月前
積水化学工業株式会社
更生管の製管装置
1か月前
積水化学工業株式会社
太陽電池設置構造
12日前
積水化学工業株式会社
太陽電池設置構造
12日前
積水化学工業株式会社
太陽電池設置構造
12日前
積水化学工業株式会社
基板積層体の製造方法
24日前
積水化学工業株式会社
基板積層体の製造方法
27日前
積水化学工業株式会社
床の施工方法及び建築物
1か月前
積水化学工業株式会社
配管構造及びプレハブ配管
1か月前
積水化学工業株式会社
配管構造及びプレハブ配管
1か月前
積水化学工業株式会社
軒樋支持具および雨樋システム
1か月前
積水化学工業株式会社
竪樋支持具および排水システム
27日前
積水化学工業株式会社
太陽電池モジュールの取付構造
12日前
積水化学工業株式会社
集合継手及び集合継手の製造方法
1か月前
積水化学工業株式会社
マスターバッチ、及びその製造方法
1か月前
積水化学工業株式会社
熱膨張性マイクロカプセル用組成物
26日前
積水化学工業株式会社
粒体、地盤改良材及び地盤改良方法
1か月前
積水化学工業株式会社
ポリオルガノシロキサン、樹脂組成物
3日前
積水化学工業株式会社
防火区画貫通処理シート及び防火区画材
1か月前
積水化学工業株式会社
光ファイバ担持樹脂成形体及びその製造方法
1か月前
積水化学工業株式会社
超音波トランスデューサ、及び超音波センサ
12日前
積水化学工業株式会社
超音波トランスデューサおよび超音波センサ
12日前
積水化学工業株式会社
継手
17日前
積水化学工業株式会社
継手
24日前
積水化学工業株式会社
コンクリート試験体、及びコンクリート試験体の製造方法
1か月前
積水化学工業株式会社
熱伝導性シート保持体、及び熱伝導性シートの貼り付け方法
1か月前
積水化学工業株式会社
ガス製造装置
3日前
積水化学工業株式会社
防食用粘着テープ
1か月前
積水化学工業株式会社
施工管理システム
1か月前
積水化学工業株式会社
光ファイバ担持管梱包体および光ファイバ担持管梱包体用の支持部材
19日前
続きを見る
他の特許を見る