TOP
|
特許
|
意匠
|
商標
特許ウォッチ
Twitter
他の特許を見る
公開番号
2025154823
公報種別
公開特許公報(A)
公開日
2025-10-10
出願番号
2024058029
出願日
2024-03-29
発明の名称
樹脂管
出願人
積水化学工業株式会社
代理人
個人
,
個人
,
個人
,
個人
主分類
F16L
9/133 20060101AFI20251002BHJP(機械要素または単位;機械または装置の効果的機能を生じ維持するための一般的手段)
要約
【課題】容易にリサイクル可能な樹脂管を提供する。
【解決手段】本開示の樹脂管1は、管本体10と、管本体10の外周面に、管本体10の管軸方向に延びる帯状部20と、を備え、帯状部20は、管本体10と一体に形成され、管本体10の外周に対する帯状部20の一本あたりの幅の比率が5%未満であり、帯状部20の厚さが管本体10の厚さよりも小さく、0.02mm以上2.00mm以下である。
【選択図】図1
特許請求の範囲
【請求項1】
管本体と、
前記管本体の外周面に、前記管本体の管軸方向に延びる帯状部と、
を備え、
前記帯状部は、前記管本体と一体に形成され、前記管本体の外周に対する前記帯状部の一本あたりの幅の比率が5%未満であり、
前記帯状部の厚さが前記管本体の厚さよりも小さく、0.02mm以上2.00mm以下である、
樹脂管。
続きを表示(約 320 文字)
【請求項2】
前記帯状部が、前記管本体の周方向に複数本設けられ、
複数の前記帯状部のうち、少なくとも一部の前記帯状部の配置が、前記管本体の周方向の一部に偏在する、
請求項1に記載の樹脂管。
【請求項3】
前記帯状部の一本あたりの幅が、1mm以上20mm以下である、
請求項1または2に記載の樹脂管。
【請求項4】
前記管本体の外周に対する前記帯状部の幅の合計値が、30%未満である、
請求項1または2に記載の樹脂管。
【請求項5】
前記帯状部は、前記管本体の管軸に直交する平面に対してなす角度が85度以上である、
請求項1または2に記載の樹脂管。
発明の詳細な説明
【技術分野】
【0001】
本発明は、樹脂管に関する。
続きを表示(約 1,600 文字)
【背景技術】
【0002】
従来、ポリエチレン製の管(ポリエチレン樹脂管)等の樹脂管は、水道管、ガス管等の多種の用途に汎用されている。このため、樹脂管は、用途毎に色分けされている。樹脂管の用途が増えると、色調だけで識別しようとしても、各々の色調が近似してくる。用途毎の色調が近似してくると、樹脂管の用途を外見で識別しにくくなるという問題がある。特に、暗所において、色調で樹脂管の用途を識別するのは困難である。
【0003】
こうした問題に対し、例えば、特許文献1は、本体の外面に一体に形成され、本体の管軸方向に延びる1以上の識別層を備える樹脂管、及びその製造方法を開示している。
【先行技術文献】
【特許文献】
【0004】
特開2019-218999号公報
【発明の概要】
【発明が解決しようとする課題】
【0005】
しかしながら、識別層と樹脂管との色が異なることで、識別層を有する樹脂管のリサイクル品において色見不良が発生するという問題があった。このような問題を解決するために、識別層を有する樹脂管のリサイクル時には、識別層と樹脂管を分離する工程を実施することが好ましい。このとき、識別層1本あたりの周方向長さ(幅)が長い場合、識別層と樹脂管を分離する工程に時間を要するという問題があった。
【0006】
本開示は、このような事情を考慮してなされたものであり、容易にリサイクル可能な樹脂管を提供することを目的とする。
【課題を解決するための手段】
【0007】
上記課題を解決するために、この発明は以下の手段を提案している。
(1)本開示の樹脂管は、管本体と、前記管本体の外周面に、前記管本体の管軸方向に延びる帯状部と、を備え、前記帯状部は、前記管本体と一体に形成され、前記管本体の外周に対する前記帯状部の一本あたりの幅の比率が5%未満であり、前記帯状部の厚さが前記管本体の厚さよりも小さく、0.02mm以上2.00mm以下である。
(2)前記帯状部が、前記管本体の周方向に複数本設けられ、複数の前記帯状部のうち、少なくとも一部の前記帯状部の配置が、前記管本体の周方向の一部に偏在する。
(3)前記帯状部の一本あたりの幅が、1mm以上20mm以下であってもよい。
(4)前記管本体の外周に対する前記帯状部の幅の合計値が、30%未満であってもよい。
(5)前記帯状部は、前記管本体の管軸に直交する平面に対してなす角度が85度以上であってもよい。
【発明の効果】
【0008】
この発明では、容易にリサイクル可能な樹脂管を提供することができる。
【図面の簡単な説明】
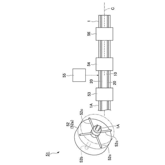
【0009】
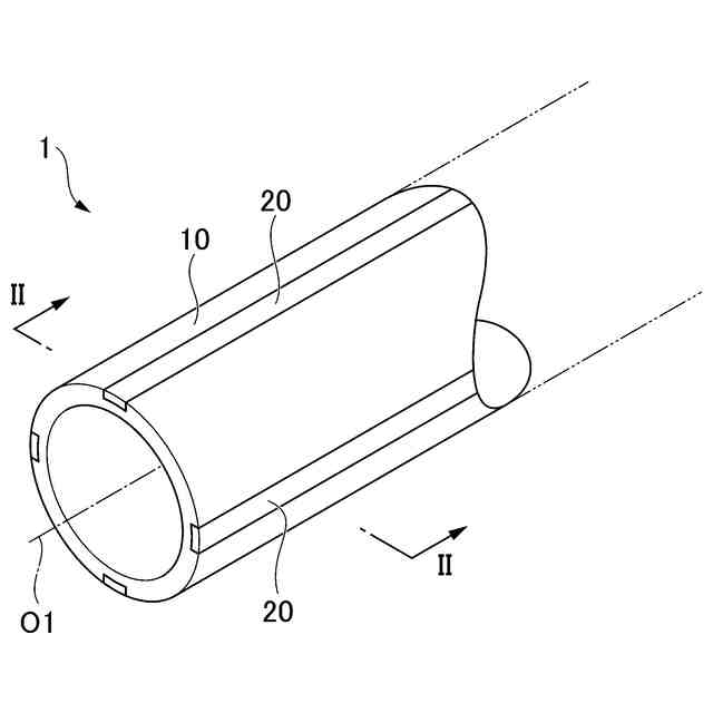
本開示の一実施形態の樹脂管の斜視図である。
図1に示す樹脂管のII-II断面図である。
本開示の一実施形態の樹脂管の側面図である。
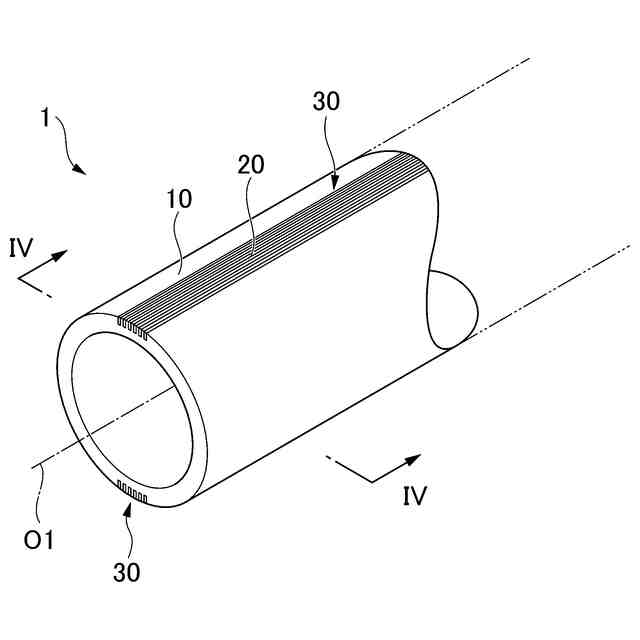
帯状部が管本体の外周面に螺旋状に形成されている場合の側面図である。
帯状部が偏在する偏在部を有する樹脂管の斜視図である。
図5に示す本開示の変形例の樹脂管のII-II断面図である。
樹脂管の製造装置を模式的に示す図である。
製造装置の引取り機の正面図である。
【発明を実施するための形態】
【0010】
以下、本実施形態に係る樹脂管1について、図面を参照して説明する。
図1に、本実施形態の樹脂管1の斜視図を示す。
図1に示すように、本開示の樹脂管1は、筒状の管本体10と、管本体10の外面に形成された帯状部20とを備える。
(【0011】以降は省略されています)
この特許をJ-PlatPat(特許庁公式サイト)で参照する
関連特許
積水化学工業株式会社
樹脂管
1か月前
積水化学工業株式会社
配管構造
1か月前
積水化学工業株式会社
製管装置
1か月前
積水化学工業株式会社
集合継手
1か月前
積水化学工業株式会社
解析方法
1か月前
積水化学工業株式会社
積層構造体
1か月前
積水化学工業株式会社
雨樋システム
27日前
積水化学工業株式会社
耐火処理構造
1か月前
積水化学工業株式会社
耐火処理構造
1か月前
積水化学工業株式会社
配管の接続構造
1か月前
積水化学工業株式会社
両面粘着テープ
1か月前
積水化学工業株式会社
両面粘着テープ
1か月前
積水化学工業株式会社
太陽電池設置構造
12日前
積水化学工業株式会社
太陽電池設置構造
12日前
積水化学工業株式会社
太陽電池設置構造
12日前
積水化学工業株式会社
更生管の製管装置
1か月前
積水化学工業株式会社
更生管の製管方法
1か月前
積水化学工業株式会社
防食用粘着テープ
1か月前
積水化学工業株式会社
基板積層体の製造方法
27日前
積水化学工業株式会社
樹脂組成物、放熱部材
1か月前
積水化学工業株式会社
基板積層体の製造方法
24日前
積水化学工業株式会社
床の施工方法及び建築物
1か月前
積水化学工業株式会社
継手構造および接続構造
1か月前
積水化学工業株式会社
集合継手及び排水システム
1か月前
積水化学工業株式会社
配管構造及びプレハブ配管
1か月前
積水化学工業株式会社
配管構造及びプレハブ配管
1か月前
積水化学工業株式会社
生産管理システムおよび方法
1か月前
積水化学工業株式会社
生産管理システムおよび方法
1か月前
積水化学工業株式会社
竪樋支持具および排水システム
27日前
積水化学工業株式会社
太陽電池モジュールの取付構造
12日前
積水化学工業株式会社
軒樋支持具および雨樋システム
1か月前
積水化学工業株式会社
集合継手及び集合継手の製造方法
1か月前
積水化学工業株式会社
継手、配管構造、配管の施工方法
1か月前
積水化学工業株式会社
プログラム及び情報処理システム
1か月前
積水化学工業株式会社
接着性樹脂組成物、及び、仮固定材
1か月前
積水化学工業株式会社
マスターバッチ、及びその製造方法
1か月前
続きを見る
他の特許を見る