TOP
|
特許
|
意匠
|
商標
特許ウォッチ
Twitter
他の特許を見る
公開番号
2025158451
公報種別
公開特許公報(A)
公開日
2025-10-17
出願番号
2024060998
出願日
2024-04-04
発明の名称
軒樋支持具および雨樋システム
出願人
積水化学工業株式会社
代理人
個人
,
個人
,
個人
,
個人
主分類
E04D
13/072 20060101AFI20251009BHJP(建築物)
要約
【課題】めくれ現象を抑制できる強度を備える軒樋支持具および雨樋システムを提供する。
【解決手段】軒樋支持具100は、建物201の屋根Aの軒先板先端部Bに取り付けられ、軒樋Cを支持する軒樋支持具100であって、前記軒樋Cの長手方向に開口する環状であり、上端が前記屋根Aに固定され、下端が前記軒樋Cを支持する支持体1と、前記支持体1に接続される補強支持部300と、前記建物201と前記補強支持部300とを支持する補強部材RMと、を備える。
【選択図】図1
特許請求の範囲
【請求項1】
建物の屋根の軒先板先端部に取り付けられ、軒樋を支持する軒樋支持具であって、
前記軒樋の長手方向に開口する環状であり、上端が前記屋根に固定され、下端が前記軒樋を支持する支持体と、
前記支持体に接続される補強支持部と、
前記建物と前記補強支持部とを支持する補強部材と、
を備える軒樋支持具。
続きを表示(約 720 文字)
【請求項2】
前記補強部材は、
前記屋根に接続される上側支持部と、
前記上側支持部から下方に延出され、下端が前記補強支持部に接続される下側支持部と、を備え、
前記補強部材は前記屋根と前記補強支持部とを支持する、
請求項1に記載の軒樋支持具。
【請求項3】
前記補強部材は、前記建物の壁面と前記補強支持部とを支持する、請求項1に記載の軒樋支持具。
【請求項4】
前記補強部材は、前記建物の前記壁面と前記補強支持部との間の距離を調節可能である、請求項3に記載の軒樋支持具。
【請求項5】
前記補強支持部と前記補強部材との接続位置は、前記支持体の上下方向の中心から下方側に設けられる、請求項1から4のいずれか一項に記載の軒樋支持具。
【請求項6】
前記支持体は、
前記軒先板先端部に接続され下部片および上部片を有する支持具本体部と、前記下部片の端部から下方に延出される縦片と、前記縦片の前記支持具本体部から遠い方の端部から延出される横片と、を含む後面材と、
前記横片の前記縦片から遠い方の端部から上方に延出される縦側係止片と、前記縦側係止片に取付けられるとともに、前記上部片の上側に位置して前記上部片に被着可能な延出片を有する取付片と、を含む前面材と、を備える、
請求項1から4のいずれか一項に記載の軒樋支持具。
【請求項7】
請求項1から4のいずれか一項に記載の軒樋支持具と、
前記軒樋支持具に支持される軒樋と、
前記軒樋と接続され、下方側に延びる竪樋と、
備える雨樋システム。
発明の詳細な説明
【技術分野】
【0001】
本発明は、軒樋支持具および雨樋システムに関する。
続きを表示(約 2,200 文字)
【背景技術】
【0002】
例えば特許文献1には、吊り杆の曲げ調節を簡単且つ確実に行うことのできる簡易な構造の折板吊金具用補強プレートが開示されている。
【先行技術文献】
【特許文献】
【0003】
特開2008-280794号公報
【発明の概要】
【発明が解決しようとする課題】
【0004】
しかしながら、特許文献1に開示された折板吊金具用補強プレートでは、軒樋の底面積が大きい場合、軒樋の上側に設けられた耳部だけを把持するのは強度上困難であるという課題がある。また、大型樋は受ける風圧が大きく、受具は吊具よりも大きいため、強度を上げるとコストと重量が過大となるという課題も内在する。
【0005】
本開示は、上述の事情に鑑みてなされたものであって、めくれ現象を抑制できる強度を備える軒樋支持具および雨樋システムを提供することを目的とする。
【課題を解決するための手段】
【0006】
前記課題を解決するために、本開示は以下の手段を提案している。
<1>本開示の一態様に係る軒樋支持具は、建物の屋根の軒先板先端部に取り付けられ、軒樋を支持する軒樋支持具であって、
前記軒樋の長手方向に開口する環状であり、上端が前記屋根に固定され、下端が前記軒樋を支持する支持体と、
前記支持体に接続される補強支持部と、
前記建物と前記補強支持部とを支持する補強部材と、
を備える。
<2>上記<1>に記載の軒樋支持具は、
前記補強部材が、
前記屋根に接続される上側支持部と、
前記上側支持部から下方に延出され、下端が前記補強支持部に接続される下側支持部と、を備え、
前記補強部材は前記屋根と前記補強支持部とを支持してもよい。
<3>上記<1>に記載の軒樋支持具は、
前記補強部材が、前記建物の壁面と前記補強支持部とを支持してもよい。
<4>上記<3>に記載の軒樋支持具は、
補強部材が、前記建物の前記壁面と前記補強支持部との間の距離を調節可能であってもよい。
<5>上記<1>から<4>のいずれか一項に記載の軒樋支持具は、
前記補強支持部と前記補強部材との接続位置が、前記支持体の上下方向の中心から下方側に設けられてもよい。
<6>上記<1>から<4>のいずれか一項に記載の軒樋支持具は、
前記支持体は、
前記軒先板先端部に接続され下部片および上部片を有する支持具本体部と、前記下部片の端部から下方に延出される縦片と、前記縦片の前記支持具本体部から遠い方の端部から延出される横片と、を含む後面材と、
前記横片の前記縦片から遠い方の端部から上方に延出される縦側係止片と、前記縦側係止片に取付けられるとともに、前記上部片の上側に位置して前記上部片に被着可能な延出片を有する取付片と、を含む前面材と、を備えてもよい。
<7>雨樋システムは、
上記<1>から<4>のいずれか一項に記載の軒樋支持具と、
前記軒樋支持具に支持される軒樋と、
前記軒樋と接続され、下方側に延びる竪樋と、
備える。
【発明の効果】
【0007】
本開示によれば、めくれ現象を抑制できる強度を備える軒樋支持具および雨樋システムを提供できる。
【図面の簡単な説明】
【0008】
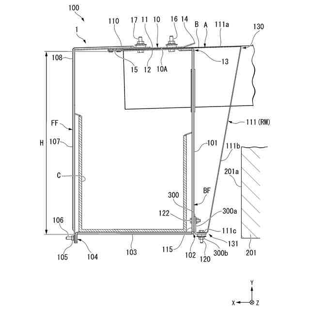
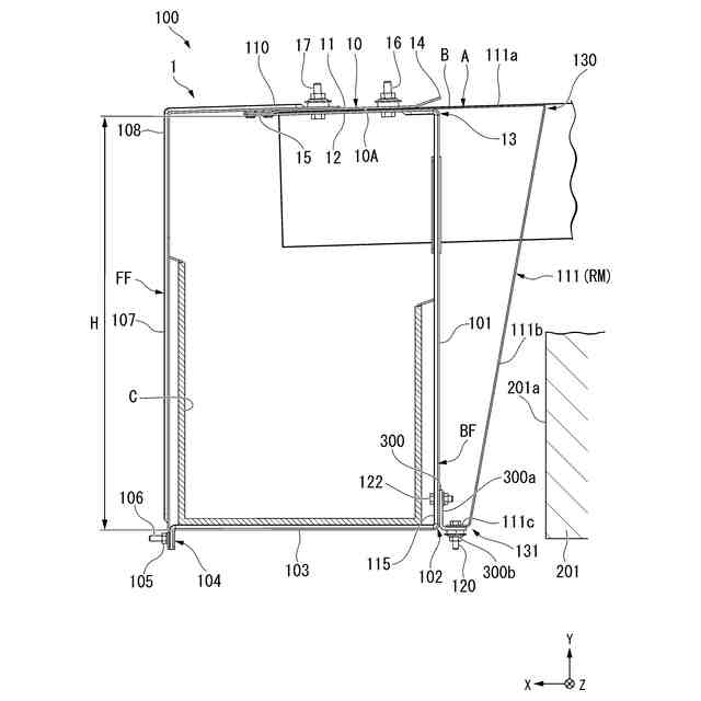
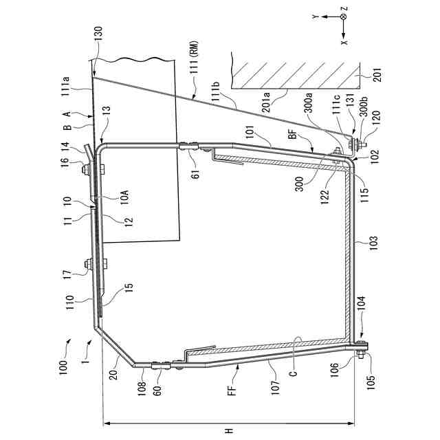
第一実施形態に係る軒樋支持具を説明するための概略的な側面図である。
第二実施形態に係る軒樋支持具を説明するための概略的な側面図である。
第二実施形態に係る軒樋支持具の変形例を説明するための概略的な側面図である。
第二実施形態に係る軒樋支持具に採用される補強支持部の他の例を説明するための概略的な図である。
支持体の第一変形例を説明するための概略的な側面図である。
支持体の第二変形例を説明するための概略的な側面図である。
第三実施形態に係る雨樋システムを説明するための概略的な側面図である。
【発明を実施するための形態】
【0009】
以下、図1から図6を参照し、本開示の実施形態に係る軒樋支持具および雨樋システムについて説明する。以下の実施形態に係る軒樋支持具は、例えば、折板屋根の軒先板先端部に取り付けられ、軒樋を支持するために使用される。軒樋には、軒先に設けられる軒樋に限らず、例えば、谷樋も含まれる。
【0010】
(第一実施形態)
図1を参照して、第一実施形態の詳細を説明する。図1は、本実施形態に係る軒樋支持具100により軒樋Cを支持した状態を示す部分断面図を示す。以下の説明では、軒樋支持具100が建物201に設置された折板屋根(屋根)Aに取付けられた状態において、軒樋支持具100の、折板屋根Aに近い方を後側、折板屋根Aから遠い方を前側という。図1に示すように、軒樋Cの長手方向をZ軸方向、Z軸方向に垂直で折板屋根Aから遠ざかる方向をX軸方向、Z軸およびX軸に垂直で上方向をY軸方向という。Y軸方向の正方向側が上方向、負方向側が下方向である。
(【0011】以降は省略されています)
この特許をJ-PlatPat(特許庁公式サイト)で参照する
関連特許
積水化学工業株式会社
樹脂管
1か月前
積水化学工業株式会社
集合継手
1か月前
積水化学工業株式会社
解析方法
1か月前
積水化学工業株式会社
配管構造
1か月前
積水化学工業株式会社
製管装置
1か月前
積水化学工業株式会社
積層構造体
1か月前
積水化学工業株式会社
雨樋システム
11日前
積水化学工業株式会社
配管の接続構造
24日前
積水化学工業株式会社
両面粘着テープ
1か月前
積水化学工業株式会社
両面粘着テープ
1か月前
積水化学工業株式会社
更生管の製管装置
1か月前
積水化学工業株式会社
防食用粘着テープ
1か月前
積水化学工業株式会社
基板積層体の製造方法
8日前
積水化学工業株式会社
基板積層体の製造方法
11日前
積水化学工業株式会社
樹脂組成物、放熱部材
1か月前
積水化学工業株式会社
床の施工方法及び建築物
1か月前
積水化学工業株式会社
継手構造および接続構造
1か月前
積水化学工業株式会社
集合継手及び排水システム
1か月前
積水化学工業株式会社
配管構造及びプレハブ配管
29日前
積水化学工業株式会社
配管構造及びプレハブ配管
29日前
積水化学工業株式会社
竪樋支持具および排水システム
11日前
積水化学工業株式会社
軒樋支持具および雨樋システム
29日前
積水化学工業株式会社
集合継手及び集合継手の製造方法
1か月前
積水化学工業株式会社
熱膨張性マイクロカプセル用組成物
10日前
積水化学工業株式会社
マスターバッチ、及びその製造方法
1か月前
積水化学工業株式会社
粒体、地盤改良材及び地盤改良方法
1か月前
積水化学工業株式会社
防火区画貫通処理部材及び防火区画材
1か月前
積水化学工業株式会社
防火区画貫通処理シート及び防火区画材
1か月前
積水化学工業株式会社
樹脂材料、硬化物及び多層プリント配線板
1か月前
積水化学工業株式会社
樹脂材料、硬化物及び多層プリント配線板
1か月前
積水化学工業株式会社
光ファイバ担持樹脂成形体及びその製造方法
1か月前
積水化学工業株式会社
硬化性樹脂組成物及び基板積層体の製造方法
1か月前
積水化学工業株式会社
継手
1日前
積水化学工業株式会社
継手
8日前
積水化学工業株式会社
電気化学システム、及びカルボニル化合物の製造方法
1か月前
積水化学工業株式会社
コンクリート試験体、及びコンクリート試験体の製造方法
1か月前
続きを見る
他の特許を見る