TOP
|
特許
|
意匠
|
商標
特許ウォッチ
Twitter
他の特許を見る
公開番号
2025152204
公報種別
公開特許公報(A)
公開日
2025-10-09
出願番号
2024053987
出願日
2024-03-28
発明の名称
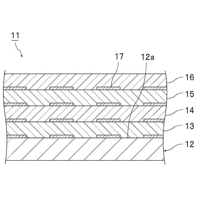
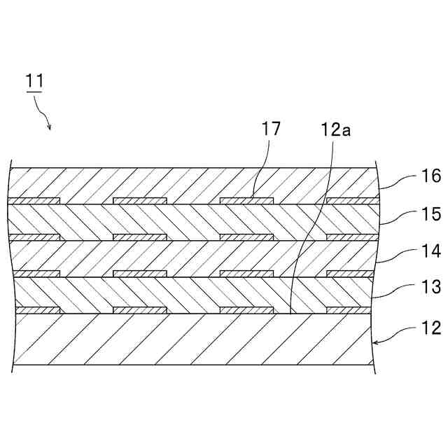
樹脂材料、硬化物及び多層プリント配線板
出願人
積水化学工業株式会社
代理人
弁理士法人大阪フロント特許事務所
主分類
C08G
59/40 20060101AFI20251002BHJP(有機高分子化合物;その製造または化学的加工;それに基づく組成物)
要約
【課題】絶縁層と金属層との層間剥離を抑えることができ、かつ、硬化物の誘電正接を低くすることができる樹脂材料を提供する。
【解決手段】本発明に係る樹脂材料は、エポキシ化合物(A)と、活性エステル化合物(B)と、硬化促進剤(C)と、無機充填材(D)とを含み、樹脂材料の25℃での密度をρ
A
とし、樹脂材料を130℃で30分間加熱した後、180℃で30分間加熱して得られる樹脂材料の硬化物の25℃での密度をρ
B
としたときに、下記式(X)で表される硬化収縮率が、2.5%以下である。
硬化収縮率(%)=[(ρ
B
-ρ
A
)/ρ
A
]×100 ・・・(X)
【選択図】図1
特許請求の範囲
【請求項1】
エポキシ化合物(A)と、活性エステル化合物(B)と、硬化促進剤(C)と、無機充填材(D)とを含み、
樹脂材料の25℃での密度をρ
A
とし、樹脂材料を130℃で30分間加熱した後、180℃で30分間加熱して得られる樹脂材料の硬化物の25℃での密度をρ
B
としたときに、下記式(X)で表される硬化収縮率が、2.5%以下である、樹脂材料。
硬化収縮率(%)=[(ρ
B
-ρ
A
)/ρ
A
]×100 ・・・(X)
続きを表示(約 690 文字)
【請求項2】
前記式(X)で表される硬化収縮率が、1.7%以下である、請求項1に記載の樹脂材料。
【請求項3】
前記エポキシ化合物(A)が、グリシジルエーテル骨格を有する脂肪族エポキシ化合物を含む、請求項1又は2に記載の樹脂材料。
【請求項4】
熱可塑性樹脂(E)をさらに含む、請求項1又は2に記載の樹脂材料。
【請求項5】
樹脂材料中の無機充填材(D)及び溶剤を除く成分100重量%中、前記熱可塑性樹脂(E)の含有量が、10重量%以上である、請求項4に記載の樹脂材料。
【請求項6】
樹脂材料中の無機充填材(D)及び溶剤を除く成分100重量%中、前記活性エステル化合物(B)の含有量が、20重量%以上である、請求項1又は2に記載の樹脂材料。
【請求項7】
樹脂材料中の無機充填材(D)及び溶剤を除く成分100重量%中、前記エポキシ化合物(A)の含有量が、40重量%以上である、請求項1又は2に記載の樹脂材料。
【請求項8】
樹脂材料中の溶剤を除く成分100重量%中、前記無機充填材(D)の含有量が、78重量%以下である、請求項1又は2に記載の樹脂材料。
【請求項9】
前記硬化促進剤(C)が、リン含有化合物、又はイミダゾール骨格を有さないアミン化合物を含む、請求項1又は2に記載の樹脂材料。
【請求項10】
前記硬化促進剤(C)が、25℃で液状のリン含有化合物を含む、請求項1又は2に記載の樹脂材料。
(【請求項11】以降は省略されています)
発明の詳細な説明
【技術分野】
【0001】
本発明は、エポキシ化合物を含む樹脂材料に関する。また、本発明は、上記樹脂材料の硬化物に関する。さらに、本発明は、上記樹脂材料を用いた多層プリント配線板に関する。
続きを表示(約 1,300 文字)
【背景技術】
【0002】
従来、半導体装置、積層板及びプリント配線板等の電子部品を得るために、様々な樹脂材料が用いられている。例えば、多層プリント配線板では、内部の層間を絶縁するための絶縁層を形成したり、表層部分に位置する絶縁層を形成したりするために、樹脂材料が用いられている。上記絶縁層の表面には、一般に金属である配線が積層される。また、上記絶縁層を形成するために、フィルム状の樹脂材料(樹脂フィルム)が用いられることがある。上記樹脂材料は、ビルドアップフィルムを含む多層プリント配線板用の絶縁材料等として用いられている。
【0003】
下記の特許文献1には、(A)リン含有硬化触媒と、(B)エポキシ樹脂と、(C)活性エステル化合物と、(D)無機充填材とを含む樹脂組成物が開示されている。この樹脂組成物では、(C)成分の含有量が、樹脂組成物中の不揮発成分を100質量%とした場合、10質量%以上であり、(D)成分の含有量が、樹脂組成物中の不揮発成分を100質量%とした場合、60質量%以上である。
【先行技術文献】
【特許文献】
【0004】
特開2022-109004号公報
【発明の概要】
【発明が解決しようとする課題】
【0005】
電子部品の絶縁層の材料として用いられる樹脂材料では、該樹脂材料の硬化物の誘電正接が低いことが望ましい。硬化物の誘電正接を低くするために、特許文献1に記載のような活性エステル化合物を含む樹脂材料が用いられることがある。しかしながら、活性エステル化合物を含む従来の樹脂材料では、絶縁層と金属層との層間剥離が発生しやすい。
【0006】
従来の樹脂材料では、絶縁層と金属層との層間剥離を抑えることと、硬化物の誘電正接を低くすることとの双方を達成することが困難である。
【0007】
本発明の目的は、絶縁層と金属層との層間剥離を抑えることができ、かつ、硬化物の誘電正接を低くすることができる樹脂材料を提供することである。また、本発明は、上記樹脂材料の硬化物を提供することも目的とする。さらに、本発明は、上記樹脂材料を用いた多層プリント配線板を提供することも目的とする。
【課題を解決するための手段】
【0008】
本明細書において、以下の樹脂材料、硬化物及び多層プリント配線板を開示する。
【0009】
項1.エポキシ化合物(A)と、活性エステル化合物(B)と、硬化促進剤(C)と、無機充填材(D)とを含み、樹脂材料の25℃での密度をρ
A
とし、樹脂材料を130℃で30分間加熱した後、180℃で30分間加熱して得られる樹脂材料の硬化物の25℃での密度をρ
B
としたときに、下記式(X)で表される硬化収縮率が、2.5%以下である、樹脂材料。
【0010】
硬化収縮率(%)=[(ρ
B
-ρ
A
)/ρ
A
]×100 ・・・(X)
(【0011】以降は省略されています)
この特許をJ-PlatPat(特許庁公式サイト)で参照する
関連特許
積水化学工業株式会社
樹脂管
1か月前
積水化学工業株式会社
配管構造
1か月前
積水化学工業株式会社
製管装置
1か月前
積水化学工業株式会社
集合継手
1か月前
積水化学工業株式会社
解析方法
1か月前
積水化学工業株式会社
積層構造体
1か月前
積水化学工業株式会社
雨樋システム
27日前
積水化学工業株式会社
両面粘着テープ
1か月前
積水化学工業株式会社
配管の接続構造
1か月前
積水化学工業株式会社
両面粘着テープ
1か月前
積水化学工業株式会社
太陽電池設置構造
12日前
積水化学工業株式会社
太陽電池設置構造
12日前
積水化学工業株式会社
太陽電池設置構造
12日前
積水化学工業株式会社
防食用粘着テープ
1か月前
積水化学工業株式会社
更生管の製管装置
1か月前
積水化学工業株式会社
更生管の製管方法
1か月前
積水化学工業株式会社
基板積層体の製造方法
24日前
積水化学工業株式会社
基板積層体の製造方法
27日前
積水化学工業株式会社
樹脂組成物、放熱部材
1か月前
積水化学工業株式会社
継手構造および接続構造
1か月前
積水化学工業株式会社
床の施工方法及び建築物
1か月前
積水化学工業株式会社
配管構造及びプレハブ配管
1か月前
積水化学工業株式会社
配管構造及びプレハブ配管
1か月前
積水化学工業株式会社
集合継手及び排水システム
1か月前
積水化学工業株式会社
軒樋支持具および雨樋システム
1か月前
積水化学工業株式会社
太陽電池モジュールの取付構造
12日前
積水化学工業株式会社
竪樋支持具および排水システム
27日前
積水化学工業株式会社
継手、配管構造、配管の施工方法
1か月前
積水化学工業株式会社
集合継手及び集合継手の製造方法
1か月前
積水化学工業株式会社
熱膨張性マイクロカプセル用組成物
26日前
積水化学工業株式会社
マスターバッチ、及びその製造方法
1か月前
積水化学工業株式会社
粒体、地盤改良材及び地盤改良方法
1か月前
積水化学工業株式会社
防火区画貫通処理部材及び防火区画材
1か月前
積水化学工業株式会社
ポリオルガノシロキサン、樹脂組成物
3日前
積水化学工業株式会社
鉄道用枕木、及び鉄道用枕木の製造方法
1か月前
積水化学工業株式会社
防火区画貫通処理シート及び防火区画材
1か月前
続きを見る
他の特許を見る