TOP
|
特許
|
意匠
|
商標
特許ウォッチ
Twitter
他の特許を見る
公開番号
2025151894
公報種別
公開特許公報(A)
公開日
2025-10-09
出願番号
2024053520
出願日
2024-03-28
発明の名称
継手、配管構造、配管の施工方法
出願人
積水化学工業株式会社
代理人
個人
,
個人
,
個人
,
個人
主分類
F16L
37/091 20060101AFI20251002BHJP(機械要素または単位;機械または装置の効果的機能を生じ維持するための一般的手段)
要約
【課題】施工中(水圧試験前)に目視で施工不良が発見しやすい。
【解決手段】継手本体11と、軸方向の第1側D1の端部が継手本体11に径方向の外側から装着され、端部よりも軸方向の第2側D2に位置する部分の内周面と、継手本体11の外周面と、の間に隙間S1が設けられたボディ21と、隙間S1に、第1側D1に移動可能に配置されたガイドリング41と、を備え、ボディ21は、継手本体11に径方向の外側から装着され端部を構成する第1部分22a、および、第1部分22aから第2側D2に延びるとともに内径が継手本体11の外径よりも大きい第2部分22b、を有するアウターボディ部材22と、第2部分22bに径方向の内側から装着されるとともに内径が継手本体11の外径よりも大きいインナーボディ部材23と、を備え、アウターボディ部材22の第2部分22bと、インナーボディ部材23と、は透明である。
【選択図】 図1
特許請求の範囲
【請求項1】
継手本体と、
軸方向の第1側の端部が前記継手本体に径方向の外側から装着され、前記端部よりも軸方向の第2側に位置する部分の内周面と、前記継手本体の外周面と、の間に隙間が設けられたボディと、
前記隙間に、前記第1側に移動可能に配置されたガイドリングと、を備え、
前記ボディは、
前記継手本体に径方向の外側から装着され前記端部を構成する第1部分、および、前記第1部分から前記第2側に延びるとともに内径が前記継手本体の外径よりも大きい第2部分、を有するアウターボディ部材と、
前記第2部分に径方向の内側から装着されるとともに内径が前記継手本体の外径よりも大きいインナーボディ部材と、を備え、
前記アウターボディ部材の前記第2部分と、前記インナーボディ部材と、は透明である、継手。
続きを表示(約 800 文字)
【請求項2】
前記インナーボディ部材の前記第1側の端は、前記第2部分の前記第1側の端よりも前記第2側に位置し、
前記インナーボディ部材は、有色の透明であり、
前記インナーボディ部材の色は、前記ガイドリングの補色である、請求項1に記載の継手。
【請求項3】
前記インナーボディ部材の前記第1側の端は、前記第2部分の前記第1側の端よりも前記第2側に位置し、
前記第2部分のうち、前記インナーボディ部材の前記第1側の端よりも前記第2側に位置する部分は、前記インナーボディ部材の前記第1側の端よりも前記第1側に位置する部分よりも、透明度が低い、請求項1に記載の継手。
【請求項4】
前記継手本体の外周面に設けられた溝に配置されたシール部材を更に備えている、請求項1に記載の継手。
【請求項5】
前記隙間に配置されたパイプに対して前記第2側へ抜け止めをする抜け止め部材を更に備え、
前記ボディは、前記アウターボディ部材または前記インナーボディ部材との間に前記抜け止め部材を保持するロックリングを更に備えている、請求項1に記載の継手。
【請求項6】
請求項1から5のいずれか1項に記載の継手と、
前記隙間に配置されたパイプと、を備え、
前記ガイドリングは、前記隙間内において前記パイプよりも前記第1側に配置されるとともに、前記アウターボディ部材を通して外部から視認可能である、配管構造。
【請求項7】
請求項1から5のいずれか1項に記載の継手と、パイプと、を組み付ける配管の施工方法であって、
前記パイプを前記隙間に前記第1側に向けて挿入するときに、前記アウターボディ部材および前記インナーボディ部材を通して前記ガイドリングを外部から視認する、配管の施工方法。
発明の詳細な説明
【技術分野】
【0001】
本発明は、継手、配管構造、配管の施工方法に関する。
続きを表示(約 1,600 文字)
【背景技術】
【0002】
従来、管の挿入不足による漏水を防止するための継手が検討されている。例えば、特許文献1に開示された継手は、施工後に水圧試験を行うことにより、管の挿入不足を確実に発見するとされている。
【先行技術文献】
【特許文献】
【0003】
特開2003-185076号公報
【発明の概要】
【発明が解決しようとする課題】
【0004】
この種の継手において、挿入の視認性を向上させ、施工中(水圧試験前)に目視で施工不良が発見しやすいことが望まれている。
【0005】
本発明は、このような問題点に鑑みてなされたものであって、施工中(水圧試験前)に目視で施工不良が発見しやすい継手を提供することを目的とする。
【課題を解決するための手段】
【0006】
前記課題を解決するために、この発明は以下の手段を提案している。
本発明のキャップは、継手本体と、軸方向の第1側の端部が前記継手本体に径方向の外側から装着され、前記端部よりも軸方向の第2側に位置する部分の内周面と、前記継手本体の外周面と、の間に隙間が設けられたボディと、前記隙間に、前記第1側に移動可能に配置されたガイドリングと、を備え、前記ボディは、前記継手本体に径方向の外側から装着され前記端部を構成する第1部分、および、前記第1部分から前記第2側に延びるとともに内径が前記継手本体の外径よりも大きい第2部分、を有するアウターボディ部材と、前記第2部分に径方向の内側から装着されるとともに内径が前記継手本体の外径よりも大きいインナーボディ部材と、を備え、前記アウターボディ部材の前記第2部分と、前記インナーボディ部材と、は透明である。
【発明の効果】
【0007】
本発明の継手によれば、施工中(水圧試験前)に目視で施工不良が発見しやすい。
【図面の簡単な説明】
【0008】
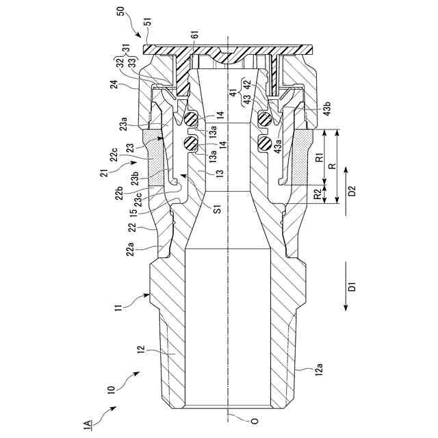
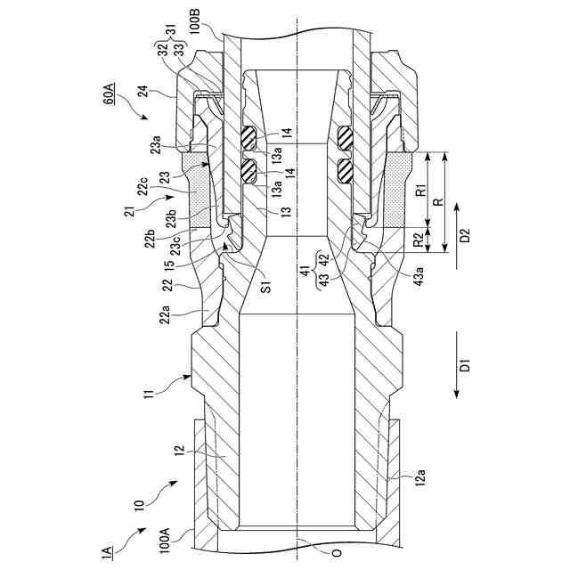
本発明の第1実施形態の継手の断面図である。
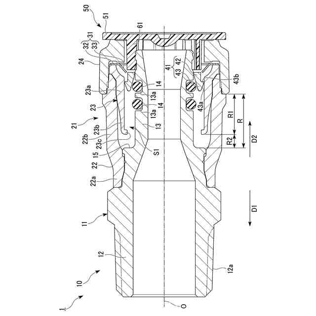
図1に示す継手にパイプを挿入する過程を示す断面図である。
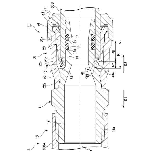
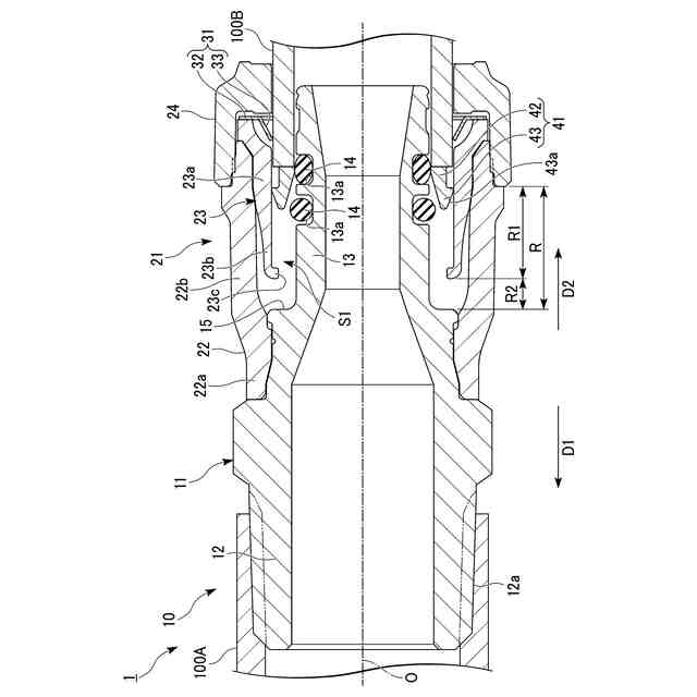
図1に示す継手にパイプを挿入し終えた状態を示す断面図である。
本発明の第2実施形態の継手の断面図である。
図4に示す継手にパイプを挿入し終えた状態を示す断面図である。
【発明を実施するための形態】
【0009】
(第1実施形態)
以下、本発明に係るキャップ付き継手の第1実施形態を、図1から図3を参照しながら説明する。
図1に示すように、本実施形態のキャップ付き継手1は、継手10と、キャップ50と、を備えている。図2及び図3に示すように、継手10は、第1管100A(パイプ)及び第2管100B(パイプ)と接続される。継手10及び管100A,100Bで、配管構造60を構成する。配管構造60は、図示しない、上水道管、排水管(下水管)、ガス管、空調管等の各種配管設備を構成する。配管構造60の主な配管場所は、例えば建物の床下等の暗所、狭所である。
【0010】
図1は、継手10に第2管100Bが接続されていない接続未完了状態を示している。図1に示すように、継手10は、継手本体11と、ボディ(外筒部)21と、抜け止め部材31と、ガイドリング(環状部材)41と、を備えている。
ここで、継手本体11及びボディ21は筒状に形成され、抜け止め部材31及びガイドリング41は環状に形成されている。継手本体11、ボディ21、抜け止め部材31、及びガイドリング41それぞれの中心軸は、共通軸と同軸に配置されている。以下では、共通軸を軸線Oと言う。軸線Oに沿う方向を軸線O方向(軸方向)と言う。軸線Oに直交する方向を径方向と言い、軸線O回りに周回する方向を周方向と言う。
(【0011】以降は省略されています)
この特許をJ-PlatPat(特許庁公式サイト)で参照する
関連特許
積水化学工業株式会社
雨樋システム
28日前
積水化学工業株式会社
配管の接続構造
1か月前
積水化学工業株式会社
太陽電池設置構造
13日前
積水化学工業株式会社
太陽電池設置構造
13日前
積水化学工業株式会社
太陽電池設置構造
13日前
積水化学工業株式会社
基板積層体の製造方法
25日前
積水化学工業株式会社
基板積層体の製造方法
28日前
積水化学工業株式会社
竪樋支持具および排水システム
28日前
積水化学工業株式会社
太陽電池モジュールの取付構造
13日前
積水化学工業株式会社
熱膨張性マイクロカプセル用組成物
27日前
積水化学工業株式会社
ポリオルガノシロキサン、樹脂組成物
4日前
積水化学工業株式会社
超音波トランスデューサおよび超音波センサ
13日前
積水化学工業株式会社
超音波トランスデューサ、及び超音波センサ
13日前
積水化学工業株式会社
継手
18日前
積水化学工業株式会社
継手
25日前
積水化学工業株式会社
ガス製造装置
4日前
積水化学工業株式会社
防食用粘着テープ
1か月前
積水化学工業株式会社
施工管理システム
1か月前
積水化学工業株式会社
光ファイバ担持管梱包体および光ファイバ担持管梱包体用の支持部材
20日前
積水化学工業株式会社
集合継手及び配管構造
25日前
積水化学工業株式会社
電気融着継手、配管システム、配管付き電気融着継手、及び配管更生構造
28日前
積水化学工業株式会社
アダプタおよび継手構造
12日前
積水化学工業株式会社
多口継手及び配管システム
12日前
積水化学工業株式会社
還元剤およびガスの製造方法
12日前
積水化学工業株式会社
ドレン部材、軒樋、及び雨樋
18日前
積水化学工業株式会社
雨樋用曲がり配管及び雨樋システム
25日前
積水化学工業株式会社
軒樋、軒樋システム、及び軒樋梱包体
4日前
積水化学工業株式会社
排水口用保護具及びルーフドレーンの施工方法
1か月前
積水化学工業株式会社
導電性粒子、ソケット、導電材料及び接続構造体
1か月前
積水化学工業株式会社
補強用接着シートおよびその巻回体並びに風力発電用ブレードの補修方法および風力発電用ブレード
1か月前
積水化学工業株式会社
区画貫通処理構造、区画貫通処理材、及び区画貫通処理構造の施工方法
1か月前
積水化学工業株式会社
ポリオール含有組成物、発泡性ウレタン樹脂組成物、及びポリウレタン発泡体
1か月前
積水化学工業株式会社
ポリオール含有組成物、発泡性ポリウレタン組成物及びポリウレタンフォーム
4日前
積水化学工業株式会社
アレルゲン低減化剤、アレルゲン低減化溶液、アレルゲン低減化塗料、樹脂組成物、アレルゲン低減化製品及びアレルゲン低減化方法
1か月前
積水化学工業株式会社
調光素子用シール剤、硬化性樹脂組成物の調光素子用シール剤としての使用、調光素子、及び、合わせガラス
1か月前
個人
留め具
1か月前
続きを見る
他の特許を見る