TOP
|
特許
|
意匠
|
商標
特許ウォッチ
Twitter
他の特許を見る
10個以上の画像は省略されています。
公開番号
2025170756
公報種別
公開特許公報(A)
公開日
2025-11-19
出願番号
2025071490
出願日
2025-04-23
発明の名称
超音波トランスデューサ、及び超音波センサ
出願人
積水化学工業株式会社
代理人
弁理士法人 HARAKENZO WORLD PATENT & TRADEMARK
主分類
H04R
17/00 20060101AFI20251112BHJP(電気通信技術)
要約
【課題】受信面を大面積化しても超音波の指向角を広くできる超音波トランスデューサ、及び超音波センサを提供する。
【解決手段】超音波トランスデューサは、第1電極層(12A)と、圧電体層(11)と、第2電極層(12B)と、がこの順に積層された積層体(10)を備え、積層体(10)の面内に、共振周波数又は振幅或いは位相が異なる複数の振動領域(SV1、SV2)が設けられている。
【選択図】図4
特許請求の範囲
【請求項1】
少なくとも1つの電極を含む第1電極層と、
発泡樹脂で構成されているエレクトレットシートを含む圧電体層と、
少なくとも1つの電極を含む第2電極層と、がこの順に積層された積層体を備え、
前記積層体の面内に、共振周波数又は振幅、或いは位相が異なる複数の振動領域が設けられている、超音波トランスデューサ。
続きを表示(約 1,200 文字)
【請求項2】
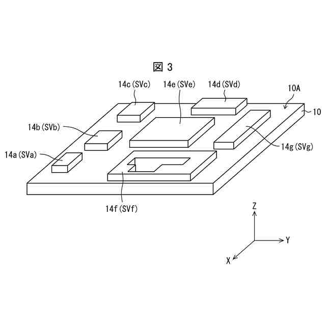
前記複数の振動領域は、前記積層体の面内において、弾性又は質量が異なる部位からなる、請求項1に記載の超音波トランスデューサ。
【請求項3】
前記積層体の一方の面に、前記積層体を支持する支持層を備え、
前記複数の振動領域は、前記積層体の一部の面と前記支持層とが固定されていない非固定部位、及び前記積層体の一部の面と前記支持層とが固定された固定部位とからなる、請求項1に記載の超音波トランスデューサ。
【請求項4】
前記第1電極層及び前記第2電極層の少なくともいずれかは、複数の電極を備え、
前記第1電極層と前記第2電極層とが対向して複数の電極ペアを形成しており、
前記複数の電極ペアには、それぞれ、異なる位相の電気信号が印加される、請求項1に記載の超音波トランスデューサ。
【請求項5】
前記複数の振動領域は、前記圧電体層において分極方向が互いに異なる部位からなる、請求項1に記載の超音波トランスデューサ。
【請求項6】
前記複数の振動領域は、共振周波数又は振幅、或いは位相が互いに異なる2種類の振動領域からなる、請求項1~5の何れか1項に記載の超音波トランスデューサ。
【請求項7】
前記複数の振動領域は、隣り合う振動領域の位相が2π/m(mは2以上の整数)ずつ異なるm種類の振動領域からなる、請求項1~5の何れか1項に記載の超音波トランスデューサ。
【請求項8】
前記積層体の一方の面に超音波を送受信する送受信面を有し、
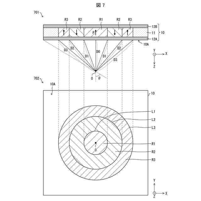
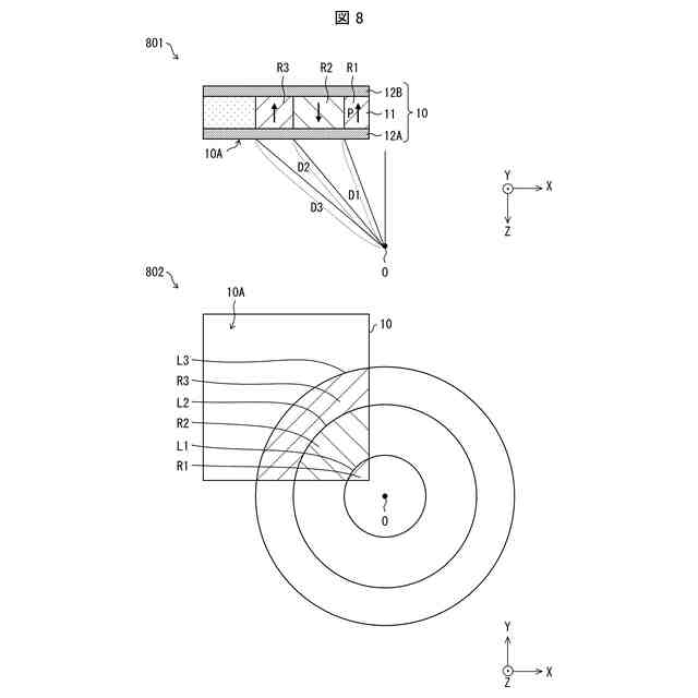
前記送受信面から所定の距離だけ離れた仮想の点を注目点Oとして、当該注目点Oから前記送受信面までの距離DnがD+n・λ/m(Dは任意の固定された距離、nは1以上の整数、λは超音波の波長)となるように、前記送受信面に複数の仮想線Lnを描いたとき、
仮想線Lnと仮想線Ln+1とに囲まれた領域を振動領域Rnとすると、振動領域Rnと振動領域Rn+1とは、位相が互いに2π/mずつ異なるように設けられている、請求項7に記載の超音波トランスデューサ。
【請求項9】
前記積層体の一方の面に超音波を送受信する送受信面を有し、
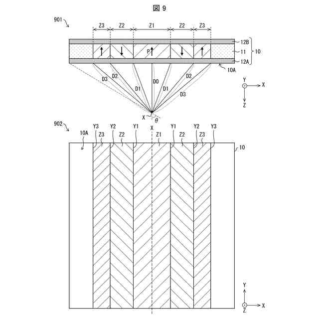
前記送受信面から所定の距離だけ離れた仮想線を注目線Xとして、当該注目線Xから前記送受信面までの距離DnがD+n・λ/m(Dは任意の固定された距離、nは1以上の整数、λは超音波の波長)となるように、前記送受信面に複数の仮想線Ynを描いたとき、
仮想線Ynと仮想線Yn+1とに囲まれた領域を振動領域Znとすると、振動領域Znと振動領域Zn+1とは、位相が互いに2π/mずつ異なるように設けられている、請求項7に記載の超音波トランスデューサ。
【請求項10】
mが4である、請求項7に記載の超音波トランスデューサ。
(【請求項11】以降は省略されています)
発明の詳細な説明
【技術分野】
【0001】
本発明の一態様は、超音波トランスデューサ、及び超音波センサに関する。
続きを表示(約 1,500 文字)
【背景技術】
【0002】
特許文献1には、可撓性を有する高分子材料で構成された圧電体を用いた超音波センサが開示されている。特許文献1の超音波センサは、基台と、この基台の表面に載置される圧電シートとを備える。さらに、特許文献1の超音波センサは、前記圧電シートが、圧電体と、前記圧電体の裏面側に積層される下電極と、少なくともその一部が前記下電極と対向するように前記圧電体の表面側に積層される上電極と、を有する。特許文献1の超音波センサでは、前記圧電シートが、平面視で前記上電極と対向する前記下電極の領域以外の領域で前記基台に固定されている。特許文献1の超音波センサでは、前記圧電体を構成する高分子材料として、例えばポリプロピレン(PP)で構成された発泡樹脂エレクレットが使用されている。
【先行技術文献】
【特許文献】
【0003】
特開2020-67371公報
【発明の概要】
【発明が解決しようとする課題】
【0004】
しかしながら、特許文献1のような、圧電体を構成する高分子材料として発泡樹脂エレクレットを用いた超音波センサでは、超音波センサの中心軸上において、超音波センサから遠方の音場強度は、超音波センサに印加した電圧×超音波センサの面積に比例する。このため、特許文献1の超音波センサは、超音波の送受信感度が低いため、超音波の送受信面を大面積化する必要がある。その一方で、特許文献1の超音波センサは、圧電体の厚み振動により超音波を送受信するため、大面積化しても超音波の指向性が狭く、超音波の検知ゾーンを広範囲にカバーすることができない。
【0005】
本発明の一態様は、送受信面を大面積化しても超音波の指向角を広くできる超音波トランスデューサ、及び超音波センサを実現することを目的とする。
【課題を解決するための手段】
【0006】
上記の課題を解決するために、本発明の態様1に係る超音波トランスデューサは、少なくとも1つの電極を含む第1電極層と、発泡樹脂で構成されているエレクトレットシートを含む圧電体層と、少なくとも1つの電極を含む第2電極層と、がこの順に積層された積層体を備え、前記積層体の面内に、共振周波数又は振幅、或いは位相が異なる複数の振動領域が設けられている。
【0007】
本発明の態様2に係る超音波トランスデューサは、態様1において、前記複数の振動領域は、前記積層体の面内において、弾性又は質量が異なる部位からなる。
【0008】
本発明の態様3に係る超音波トランスデューサは、態様1において、前記積層体の一方の面に、前記積層体を支持する支持層を備え、前記複数の振動領域は、前記積層体の一部の面と前記支持層とが固定されていない非固定部位、及び前記積層体の一部の面と前記支持層とが固定された固定部位とからなる。
【0009】
本発明の態様4に係る超音波トランスデューサは、態様1において、前記複数の振動領域は、前記圧電体層において分極方向が互いに異なる部位からなる。
【0010】
本発明の態様4に係る超音波トランスデューサは、態様1において、前記第1電極層及び前記第2電極層の少なくともいずれかは、複数の電極を備え、前記第1電極層と前記第2電極層とが対向して複数の電極ペアを形成しており、前記複数の電極ペアには、それぞれ、異なる位相の電気信号が印加される。
(【0011】以降は省略されています)
この特許をJ-PlatPat(特許庁公式サイト)で参照する
関連特許
積水化学工業株式会社
雨樋システム
20日前
積水化学工業株式会社
太陽電池設置構造
5日前
積水化学工業株式会社
太陽電池設置構造
5日前
積水化学工業株式会社
太陽電池設置構造
5日前
積水化学工業株式会社
基板積層体の製造方法
17日前
積水化学工業株式会社
基板積層体の製造方法
20日前
積水化学工業株式会社
太陽電池モジュールの取付構造
5日前
積水化学工業株式会社
竪樋支持具および排水システム
20日前
積水化学工業株式会社
熱膨張性マイクロカプセル用組成物
19日前
積水化学工業株式会社
超音波トランスデューサおよび超音波センサ
5日前
積水化学工業株式会社
超音波トランスデューサ、及び超音波センサ
5日前
積水化学工業株式会社
継手
10日前
積水化学工業株式会社
継手
17日前
積水化学工業株式会社
施工管理システム
25日前
積水化学工業株式会社
防食用粘着テープ
1か月前
積水化学工業株式会社
光ファイバ担持管梱包体および光ファイバ担持管梱包体用の支持部材
12日前
積水化学工業株式会社
集合継手及び配管構造
17日前
積水化学工業株式会社
アダプタおよび継手構造
4日前
積水化学工業株式会社
電気融着継手、配管システム、配管付き電気融着継手、及び配管更生構造
20日前
積水化学工業株式会社
多口継手及び配管システム
4日前
積水化学工業株式会社
ドレン部材、軒樋、及び雨樋
10日前
積水化学工業株式会社
還元剤およびガスの製造方法
4日前
積水化学工業株式会社
雨樋用曲がり配管及び雨樋システム
17日前
積水化学工業株式会社
導電性粒子、ソケット、導電材料及び接続構造体
1か月前
積水化学工業株式会社
補強用接着シートおよびその巻回体並びに風力発電用ブレードの補修方法および風力発電用ブレード
26日前
積水化学工業株式会社
区画貫通処理構造、区画貫通処理材、及び区画貫通処理構造の施工方法
25日前
積水化学工業株式会社
ポリオール含有組成物、発泡性ウレタン樹脂組成物、及びポリウレタン発泡体
1か月前
積水化学工業株式会社
調光素子用シール剤、硬化性樹脂組成物の調光素子用シール剤としての使用、調光素子、及び、合わせガラス
27日前
個人
イヤーピース
17日前
個人
イヤーマフ
1か月前
個人
監視カメラシステム
1か月前
キーコム株式会社
光伝送線路
1か月前
個人
スイッチシステム
25日前
サクサ株式会社
中継装置
1か月前
サクサ株式会社
中継装置
1か月前
WHISMR合同会社
収音装置
2か月前
続きを見る
他の特許を見る