TOP
|
特許
|
意匠
|
商標
特許ウォッチ
Twitter
他の特許を見る
10個以上の画像は省略されています。
公開番号
2025170557
公報種別
公開特許公報(A)
公開日
2025-11-19
出願番号
2024075228
出願日
2024-05-07
発明の名称
太陽電池設置構造
出願人
積水化学工業株式会社
代理人
弁護士法人クレオ国際法律特許事務所
主分類
E04D
13/18 20180101AFI20251112BHJP(建築物)
要約
【課題】主に、太陽電池と屋根との一体感が得られるようにする。
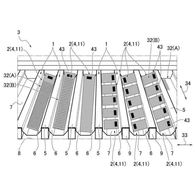
【解決手段】山部分1と谷部分2とを繰り返し有する凹凸状の折版屋根3に太陽電池4を設置する太陽電池設置構造に関する。
太陽電池4は、シート状または薄板状の太陽電池11とされる。
シート状または薄板状の太陽電池11は、折版屋根3の谷部分2に合う形状とされて、折版屋根3の谷部分2に設置される。
シート状または薄板状の太陽電池11は、凹形状として、谷部分2に下へ凹むように設置されても良い。
シート状または薄板状の太陽電池11は、凸形状として、谷部分2に上へ膨らむように設置されても良い。
【選択図】図2
特許請求の範囲
【請求項1】
山部分と谷部分とを繰り返し有する凹凸状の折版屋根に太陽電池を設置する太陽電池設置構造であって、
前記太陽電池は、シート状または薄板状の太陽電池とされ、
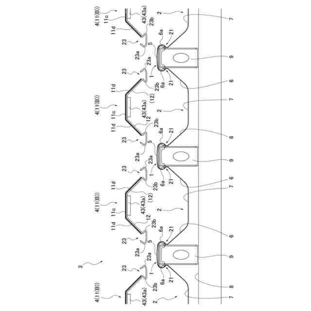
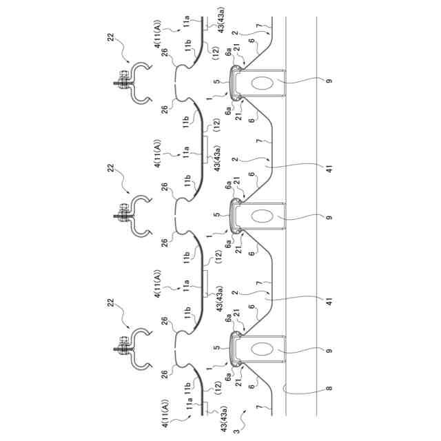
シート状または薄板状の前記太陽電池は、前記折版屋根の前記谷部分に合う形状とされて、前記谷部分に設置されていることを特徴とする太陽電池設置構造。
続きを表示(約 1,300 文字)
【請求項2】
請求項1に記載の太陽電池設置構造であって、
シート状または薄板状の前記太陽電池は、凹形状とされて、前記谷部分に下へ凹むように設置されていることを特徴とする太陽電池設置構造。
【請求項3】
請求項1に記載の太陽電池設置構造であって、
シート状または薄板状の前記太陽電池は、凸形状とされて、前記谷部分に上へ膨らむように設置されていることを特徴とする太陽電池設置構造。
【請求項4】
請求項1ないし請求項3のいずれか1項に記載の太陽電池設置構造であって、
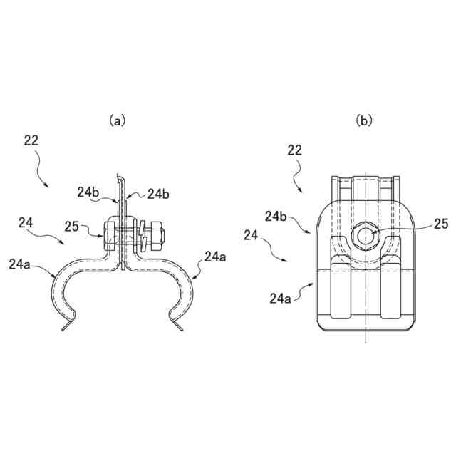
前記折版屋根は、前記山部分に引掛部が設けられており、
シート状または薄板状の前記太陽電池は、前記引掛部に引掛固定、または、前記引掛部が設けられた前記山部分と、前記山部分に上から取付けた固定金具とによって挟着固定されていることを特徴とする太陽電池設置構造。
【請求項5】
請求項1ないし請求項3のいずれか1項に記載の太陽電池設置構造であって、
シート状または薄板状の前記太陽電池は、電池本体の内部に複数のセルを有しており、
複数の前記セルは、前記電池本体の短辺方向または長辺方向に沿って並べられていることを特徴とする太陽電池設置構造。
【請求項6】
請求項1ないし請求項3のいずれか1項に記載の太陽電池設置構造であって、
前記折版屋根の前記谷部分と、シート状または薄板状の前記太陽電池との間に、隙間が形成されており、
シート状または薄板状の前記太陽電池のジャンクションボックスおよび配線は、前記折版屋根の側の面に設けられて、前記隙間に配置されていることを特徴とする太陽電池設置構造。
【請求項7】
請求項1ないし請求項3のいずれか1項に記載の太陽電池設置構造であって、
前記折版屋根は、軒先部分にパラペットが取付けられており、
シート状または薄板状の前記太陽電池のジャンクションボックスおよび配線は、前記パラペットを取付けた前記折版屋根の前記軒先部分に設置されていることを特徴とする太陽電池設置構造。
【請求項8】
請求項1ないし請求項3のいずれか1項に記載の太陽電池設置構造であって、
シート状または薄板状の前記太陽電池は、ジャンクションボックスどうしを向かい合わせた状態で、2列に並べて並設され、
片側の列は、隣接するシート状または薄板状の前記太陽電池の前記ジャンクションボックスにおける、近接した+部と-部とが順に接続され、
他側の列は、隣接するシート状または薄板状の前記太陽電池の前記ジャンクションボックスにおける、離れた+部と-部とが順に接続され、
列の両端部では、片側の列と他側の列の空いた+部どうし、および、空いた-部どうしが接続されていることを特徴とする太陽電池設置構造。
【請求項9】
請求項1ないし請求項3のいずれか1項に記載の太陽電池設置構造であって、
シート状または薄板状の前記太陽電池は、表面に透明な保護層を有していることを特徴とする太陽電池設置構造。
発明の詳細な説明
【技術分野】
【0001】
この発明は、太陽電池設置構造に関する。
続きを表示(約 1,000 文字)
【背景技術】
【0002】
太陽電池は、再生可能エネルギーの利用拡大によって建物などへの設置件数が増加する傾向にある。
【0003】
現在、一般的となっている太陽電池は、パネル状のモジュールとされており、固定金具を用いて建物の屋根の上に設置される(例えば、特許文献1参照)。
【0004】
これに対し、屋根の全面または広い範囲を、1枚のシート状の太陽電池で覆うことも検討されている(例えば、特許文献2参照)。
【先行技術文献】
【特許文献】
【0005】
実登第3242903号公報
特許第7253160号公報
【発明の概要】
【発明が解決しようとする課題】
【0006】
例えば、特許文献1に記載された太陽電池は、建物の屋根の上に、パネル状のモジュールを載置して固定するようにしていた。パネル状のモジュールは、平面視矩形状の太陽電池本体の外周を矩形枠で覆ったものであり、屋根とは無関係な独立した形状および構成の屋根搭載物であった。そのため、太陽電池は、屋根との一体感が乏しかった。
【0007】
また、特許文献2は、屋根の全面または広い範囲を、1枚のシート状の太陽電池で上から覆うようにしているため、例えば、雨漏り対策などのために屋根に防水シートを被せて補修作業を行っているような外観になり易く、屋根との一体感が乏しく、外観も良好とは言えなかった。
【0008】
そこで、本発明は、上記した問題点の改善に寄与することを主な目的としている。
【課題を解決するための手段】
【0009】
上記課題に対して、本発明は、
山部分と谷部分とを繰り返し有する凹凸状の折版屋根に太陽電池を設置する太陽電池設置構造であって、
前記太陽電池は、シート状または薄板状の太陽電池とされ、
シート状または薄板状の前記太陽電池は、前記折版屋根の前記谷部分に合う形状とされて、前記谷部分に設置されていることを特徴とする。
【発明の効果】
【0010】
本発明は、上記構成によって、太陽電池と屋根との一体感を得ることなどができる。
【図面の簡単な説明】
(【0011】以降は省略されています)
この特許をJ-PlatPat(特許庁公式サイト)で参照する
関連特許
積水化学工業株式会社
樹脂管
1か月前
積水化学工業株式会社
配管構造
1か月前
積水化学工業株式会社
解析方法
1か月前
積水化学工業株式会社
集合継手
1か月前
積水化学工業株式会社
製管装置
1か月前
積水化学工業株式会社
積層構造体
1か月前
積水化学工業株式会社
耐火処理構造
1か月前
積水化学工業株式会社
耐火処理構造
1か月前
積水化学工業株式会社
雨樋システム
20日前
積水化学工業株式会社
両面粘着テープ
1か月前
積水化学工業株式会社
配管の接続構造
1か月前
積水化学工業株式会社
両面粘着テープ
1か月前
積水化学工業株式会社
螺旋管の製管装置
1か月前
積水化学工業株式会社
螺旋管の製管装置
1か月前
積水化学工業株式会社
更生管の製管装置
1か月前
積水化学工業株式会社
太陽電池設置構造
5日前
積水化学工業株式会社
太陽電池設置構造
5日前
積水化学工業株式会社
太陽電池設置構造
5日前
積水化学工業株式会社
更生管の製管方法
1か月前
積水化学工業株式会社
防食用粘着テープ
1か月前
積水化学工業株式会社
樹脂組成物、放熱部材
1か月前
積水化学工業株式会社
基板積層体の製造方法
17日前
積水化学工業株式会社
基板積層体の製造方法
20日前
積水化学工業株式会社
床の施工方法及び建築物
1か月前
積水化学工業株式会社
継手構造および接続構造
1か月前
積水化学工業株式会社
配管構造及びプレハブ配管
1か月前
積水化学工業株式会社
配管構造及びプレハブ配管
1か月前
積水化学工業株式会社
集合継手及び排水システム
1か月前
積水化学工業株式会社
生産管理システムおよび方法
1か月前
積水化学工業株式会社
生産管理システムおよび方法
1か月前
積水化学工業株式会社
軒樋支持具および雨樋システム
1か月前
積水化学工業株式会社
膜付き基材の製造方法及び粉体
1か月前
積水化学工業株式会社
太陽電池モジュールの取付構造
5日前
積水化学工業株式会社
竪樋支持具および排水システム
20日前
積水化学工業株式会社
メタサーフェスシート及び窓構造
1か月前
積水化学工業株式会社
集合継手及び集合継手の製造方法
1か月前
続きを見る
他の特許を見る