TOP
|
特許
|
意匠
|
商標
特許ウォッチ
Twitter
他の特許を見る
10個以上の画像は省略されています。
公開番号
2025147907
公報種別
公開特許公報(A)
公開日
2025-10-07
出願番号
2024048413
出願日
2024-03-25
発明の名称
膜付き基材の製造方法及び粉体
出願人
積水化学工業株式会社
代理人
弁理士法人IPX
主分類
C23C
24/04 20060101AFI20250930BHJP(金属質材料への被覆;金属質材料による材料への被覆;化学的表面処理;金属質材料の拡散処理;真空蒸着,スパッタリング,イオン注入法,または化学蒸着による被覆一般;金属質材料の防食または鉱皮の抑制一般)
要約
【課題】容易かつ確実に、所望の成分を含有する膜を形成することができる、膜付き基材の製造方法を提供する。
【解決手段】膜付き基材の製造方法は、基材と、粒子の集合物である粉体とを準備する準備工程と、粉体を基材に吹き付けて、基材の表面に粉体由来の成分を含有する膜を形成して、膜付き基材を得る膜形成工程とを備える。粉体は、0.3g/cm
3
以上の嵩密度を有する。粉体の粒子の粒度分布は、2つ以上の極大値を有する。
【選択図】図1
特許請求の範囲
【請求項1】
膜付き基材の製造方法であって、
基材と、粒子の集合物である粉体とを準備する準備工程と、
前記粉体を前記基材に吹き付けて、前記基材の表面に前記粉体由来の成分を含有する膜を形成して、前記膜付き基材を得る膜形成工程とを備え、
前記粉体は、0.3g/cm
3
以上の嵩密度を有し、
前記粉体の前記粒子の粒度分布は、2つ以上の極大値を有する、
膜付き基材の製造方法。
続きを表示(約 1,000 文字)
【請求項2】
請求項1に記載の膜付き基材の製造方法において、
前記粒子の体積基準の粒度分布における累積10%径をD10とし、累積90%径をD90としたとき、
D10が0.05μm以上0.7μm以下、且つ、D90が0.8μm以上5μm以下である、
膜付き基材の製造方法。
【請求項3】
請求項1に記載の膜付き基材の製造方法において、
前記粉体の嵩密度は、0.5g/cm
3
以上3g/cm
3
以下である、
膜付き基材の製造方法。
【請求項4】
請求項1に記載の膜付き基材の製造方法において、
前記粉体は、化学組成が互いに異なる、2種類以上の粒子を含む、
膜付き基材の製造方法。
【請求項5】
請求項1に記載の膜付き基材の製造方法において、
前記粉体は、結晶構造が互いに異なる、2種類以上の粒子を含む、
膜付き基材の製造方法。
【請求項6】
請求項1に記載の膜付き基材の製造方法において、
前記粉体は、互いに異なる粒度分布を示す、2種類以上の粒子を含む、
膜付き基材の製造方法。
【請求項7】
請求項6に記載の膜付き基材の製造方法において、
前記2種類以上の粒子同士では、化学組成及び結晶構造の少なくとも一方が互いに異なる、
膜付き基材の製造方法。
【請求項8】
請求項4に記載の膜付き基材の製造方法において、
前記膜は、前記2種類以上の粒子のうち、1種類以上の粒子の少なくとも一部の形状が変化した状態で前記表面に付着することにより形成されている、
膜付き基材の製造方法。
【請求項9】
請求項4に記載の膜付き基材の製造方法において、
前記2種類以上の粒子のうち、1種類以上の粒子は、前記粉体に衝突エネルギーを付与するように作用し、
前記膜は、前記2種類以上の粒子の双方に由来する成分を含む、
膜付き基材の製造方法。
【請求項10】
請求項1に記載の膜付き基材の製造方法において、
さらに、前記膜形成工程の後、前記膜の形成に利用されなかった前記粉体の少なくとも一部を、再度利用する再利用工程を備える、
膜付き基材の製造方法。
(【請求項11】以降は省略されています)
発明の詳細な説明
【技術分野】
【0001】
本発明は、膜付き基材の製造方法及び粉体に関する。
続きを表示(約 1,700 文字)
【背景技術】
【0002】
基材の表面に成膜する方法として、エアロゾルデポジション法が知られている。特許文献1には、エアロゾルデポジション法における成膜時の歩留り(付着率)を向上させるための粉末が開示されている。この粉末は、希土類酸化物粒子の表面に、希土類アンモニウムフッ化物複塩を形成して前駆体粒子を調製する工程と、前駆体粒子を、350℃以上700℃以下の温度で熱処理する工程とを経て製造されている。
【先行技術文献】
【特許文献】
【0003】
特開2023ー118797号公報
【発明の概要】
【発明が解決しようとする課題】
【0004】
しかしながら、特許文献1に記載された粉末を得るためには、3時間の混合・熟成と、16時間の乾燥と、3時間の熱処理とを要する。したがって、エアロゾルデポジション法による成膜全体に要する時間、手間、及びコストが膨大になる。
【課題を解決するための手段】
【0005】
本発明の一態様によれば、膜付き基材の製造方法が提供される。この製造方法は、基材と、粒子の集合物である粉体とを準備する準備工程と、粉体を基材に吹き付けて、基材の表面に粉体由来の成分を含有する膜を形成して、膜付き基材を得る膜形成工程とを備える。粉体は、0.3g/cm
3
以上の嵩密度を有する。粉体の粒子の粒度分布は、2つ以上の極大値を有する。
【0006】
かかる態様によれば、容易かつ確実に、所望の成分を含有する膜を形成することができる。
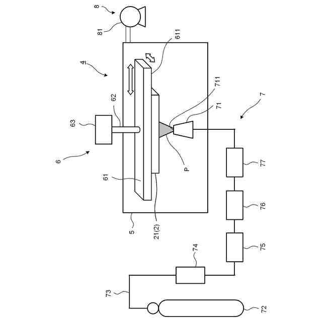
【図面の簡単な説明】
【0007】
基材の表面に吹き付けて、基材の表面に膜を形成するのに使用する粉体の構成を示す模式図である。
粉体を基材の表面に吹き付けることによって形成される膜付き基材の断面を示す模式図である。
膜付き基材の断面を拡大して示す模式図である。
膜付き基材の製造装置を示す概略図である。
膜付き基材の製造装置のブロック図である。
実施例5における粒度分布の測定結果を示す図である。
実施例6における粒度分布の測定結果を示す図である。
【発明を実施するための形態】
【0008】
[粉体]
まず、一実施形態に係る粉体Pについて説明する。この粉体Pは、基材2の表面に吹き付けて、基材2の面(表面)21に膜3を形成するのに使用され、粒子の集合物である。図1は、基材の表面に吹き付けて、基材の表面に膜を形成するのに使用する粉体の構成を示す模式図である。図2は、粉体を基材の表面に吹き付けることによって形成される膜付き基材の断面を示す模式図である。
【0009】
粉体Pは、平均粒径が互いに異なる2種類以上の粒子を含む。本実施形態では、図1に示すように、粉体Pが、小径粒子34と、小径粒子34よりも平均粒径が大きい大径粒子35とを含む場合を一例として説明する。小径粒子34及び大径粒子35は、各々独立した粒子として存在してもよいし、図1に一点鎖線で示すように、1以上の小径粒子34及び/又は1以上の大径粒子35を含有する複合粒子33として存在してもよい。
【0010】
小径粒子34及び大径粒子35の平均粒径は、例えば、以下のようにして求めることができる。走査型電子顕微鏡(SEM)を用いて取得した粉体Pの画像に基づいて、JISZ8827ー1:2018(ISO13322ー1:2014)にしたがって得られる面積円相当径を算術平均して得られた値を、小径粒子34及び大径粒子35の平均粒径とすることができる。すなわち、例えば、SEMを用いて取得した粉体Pの画像中の小径粒子34及び大径粒子35のうち、その全体が画像に含まれる小径粒子34及び大径粒子35を各々50個選択し、選択した各粒子について面積円相当径を取得し、得られた面積円相当径を小径粒子34及び大径粒子35のそれぞれについて算術平均した値を、小径粒子34の平均粒径及び大径粒子35の平均粒径とすることができる。
(【0011】以降は省略されています)
この特許をJ-PlatPat(特許庁公式サイト)で参照する
関連特許
積水化学工業株式会社
製管装置
22日前
積水化学工業株式会社
集合継手
24日前
積水化学工業株式会社
雨樋システム
3日前
積水化学工業株式会社
配管の接続構造
16日前
積水化学工業株式会社
防食用粘着テープ
24日前
積水化学工業株式会社
更生管の製管装置
22日前
積水化学工業株式会社
基板積層体の製造方法
3日前
積水化学工業株式会社
配管構造及びプレハブ配管
21日前
積水化学工業株式会社
配管構造及びプレハブ配管
21日前
積水化学工業株式会社
竪樋支持具および排水システム
3日前
積水化学工業株式会社
軒樋支持具および雨樋システム
21日前
積水化学工業株式会社
熱膨張性マイクロカプセル用組成物
2日前
積水化学工業株式会社
粒体、地盤改良材及び地盤改良方法
24日前
積水化学工業株式会社
熱伝導性シート保持体、及び熱伝導性シートの貼り付け方法
28日前
積水化学工業株式会社
施工管理システム
8日前
積水化学工業株式会社
防食用粘着テープ
14日前
積水化学工業株式会社
電気融着継手、配管システム、配管付き電気融着継手、及び配管更生構造
3日前
積水化学工業株式会社
集合継手および継手構造
21日前
積水化学工業株式会社
フレキシブルGHLC素子用シール剤
21日前
積水化学工業株式会社
排水口用保護具及びルーフドレーンの施工方法
21日前
積水化学工業株式会社
導電性粒子、ソケット、導電材料及び接続構造体
14日前
積水化学工業株式会社
補強用接着シートおよびその巻回体並びに風力発電用ブレードの補修方法および風力発電用ブレード
9日前
積水化学工業株式会社
調光素子用シール剤、硬化性樹脂組成物の調光素子用シール剤としての使用、調光素子、及び、合わせガラス
22日前
積水化学工業株式会社
区画貫通処理構造、区画貫通処理材及び区画貫通処理構造の施工方法
24日前
積水化学工業株式会社
区画貫通処理構造、区画貫通処理材、及び区画貫通処理構造の施工方法
8日前
積水化学工業株式会社
ポリオール組成物、難燃性ウレタン樹脂組成物、及びポリウレタン発泡体
24日前
積水化学工業株式会社
ポリオール含有組成物、発泡性ウレタン樹脂組成物、及びポリウレタン発泡体
14日前
積水化学工業株式会社
アレルゲン低減化剤、アレルゲン低減化溶液、アレルゲン低減化塗料、樹脂組成物、アレルゲン低減化製品及びアレルゲン低減化方法
17日前
積水化学工業株式会社
調光素子用シール剤、硬化性樹脂組成物の調光素子用シール剤としての使用、調光素子、及び、合わせガラス
10日前
個人
フッ素樹脂塗装鋼板の保管方法
3か月前
株式会社京都マテリアルズ
めっき部材
1か月前
株式会社カネカ
製膜装置
1か月前
株式会社カネカ
製膜装置
1か月前
トヨタ自動車株式会社
治具
9日前
株式会社KSマテリアル
防錆組成物
4か月前
株式会社三愛工業所
アルミニウム材
5か月前
続きを見る
他の特許を見る