TOP
|
特許
|
意匠
|
商標
特許ウォッチ
Twitter
他の特許を見る
10個以上の画像は省略されています。
公開番号
2025156400
公報種別
公開特許公報(A)
公開日
2025-10-14
出願番号
2025126271,2021024659
出願日
2025-07-29,2021-02-18
発明の名称
区画貫通処理構造、区画貫通処理材及び区画貫通処理構造の施工方法
出願人
積水化学工業株式会社
代理人
個人
,
個人
主分類
E04B
1/94 20060101AFI20251002BHJP(建築物)
要約
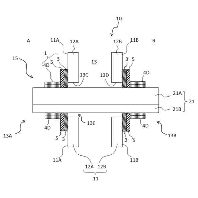
【課題】耐火性能のバラつきを低減し、かつ耐火性能を向上させることができる区画貫通処理構造、区画貫通処理材及び区画貫通処理構造の施工方法を提供する。
【解決手段】建築物の仕切り部11に形成され、かつ内部に長尺の挿通体21が挿通される区画貫通部を耐火構造とする区画貫通処理構造10であって、仕切り部11に設けられる区画貫通部15の開口と挿通体21との間の間隙を塞ぐ耐火構造体1を備え、耐火構造体1は、耐火材3と、耐火材3の少なくとも一部を被覆する被覆材4と、耐火材3を保持する保持材5、及び、耐火材3の区画貫通部15における位置を制御する位置制御材(6)の少なくともいずれかとを有する構造である、区画貫通処理構造。
【選択図】図1
特許請求の範囲
【請求項1】
建築物の仕切り部に形成され、かつ内部に長尺の挿通体が挿通される区画貫通部を耐火構造とする区画貫通処理構造であって、
前記仕切り部に設けられる前記区画貫通部の開口と前記挿通体との間の間隙を塞ぐ耐火構造体を備え、
前記耐火構造体は、耐火材と、前記耐火材の少なくとも一部を被覆する被覆材と、前記耐火材を保持する保持材、及び、前記耐火材の前記区画貫通部における位置を制御する位置制御材の少なくともいずれかとを有する構造である、区画貫通処理構造。
続きを表示(約 670 文字)
【請求項2】
シート状の前記耐火材が、シート状の基材である前記保持材に積層された積層構造を構成する、請求項1に記載の区画貫通処理構造。
【請求項3】
前記耐火材及び前記保持材のいずれも複数層有する、請求項2に記載の区画貫通処理構造。
【請求項4】
前記積層構造が、前記仕切り部に固定されている請求項2又は3に記載の区画貫通処理構造。
【請求項5】
前記耐火材が不定形部材である、請求項1~4のいずれか1項に記載の区画貫通処理構造。
【請求項6】
前記不定形部材が、前記保持材の内部に内包されている、請求項5に記載の区画貫通処理構造。
【請求項7】
前記位置制御部材が、前記仕切り部及び前記挿通体の少なくともいずれかに固定される、請求項1~6のいずれか1項に記載の区画貫通処理構造。
【請求項8】
前記位置制御部材がシート状である、請求項1~7のいずれか1項に記載の区画貫通処理構造。
【請求項9】
前記被覆材がシート状及び金属枠のいずれかである、請求項1~8のいずれか1項に記載の区画貫通処理構造。
【請求項10】
前記被覆材は、内側に配置された粘着性を有する耐火材層又は粘着剤層、外側から巻かれた紐状部材又は粘着テープ、及び、外側から設置された固定部材の少なくともいずれかによって前記挿通体に固定される、請求項1~9のいずれか1項に記載の区画貫通処理構造。
(【請求項11】以降は省略されています)
発明の詳細な説明
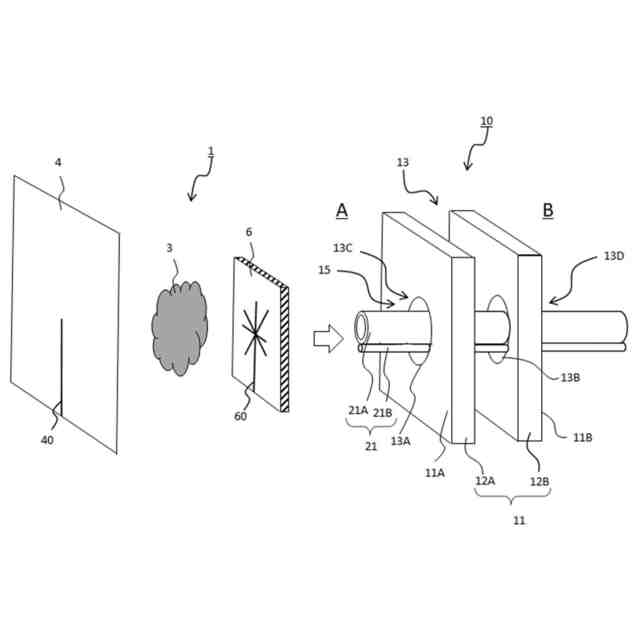
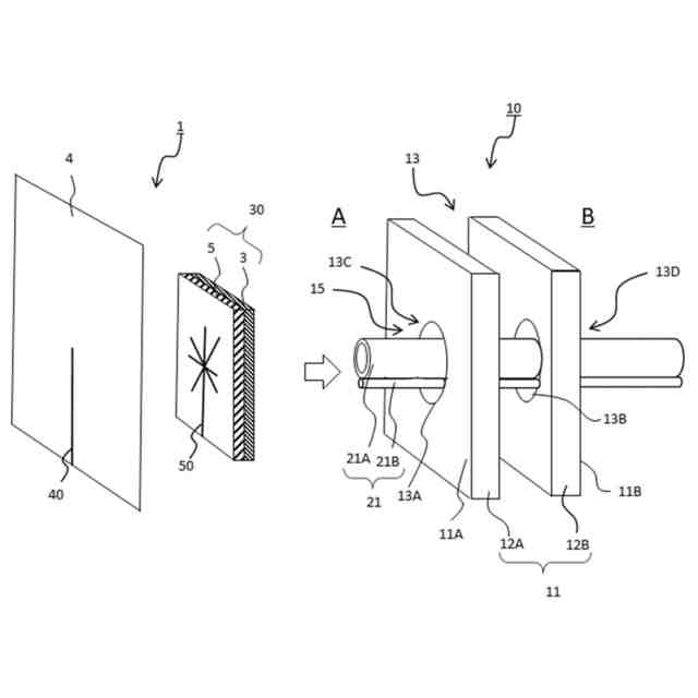
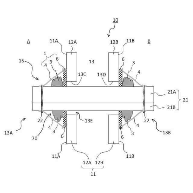
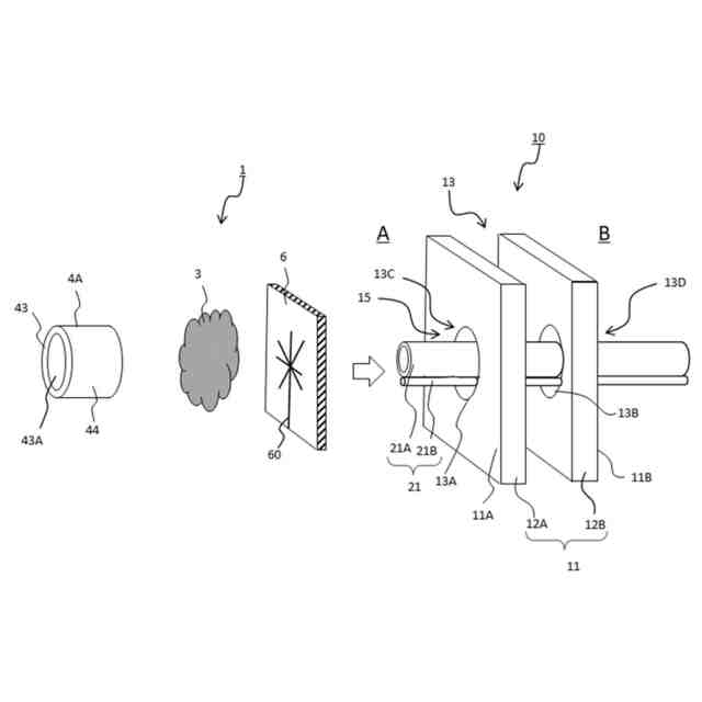
【技術分野】
【0001】
本発明は、建築物などの仕切り部において形成される区画貫通処理構造、区画貫通処理構造を形成するための区画貫通処理材、及び区画貫通処理構造の施工方法に関する。
続きを表示(約 2,900 文字)
【背景技術】
【0002】
集合住宅、オフィスビル、学校等の建築物において、壁等の仕切り部には、ケーブル類、配管類などの長尺の挿通体を通すために、区画貫通部が設けられることがある。区画貫通部は、いずれかの区画で火災が発生した際に、他の区画への延焼を防止するために、防火措置を施した構造(耐火構造)にすることが求められている。仕切り部は、2枚の壁部からなり、壁部間が中空部となっている中空壁が一般的である。
【0003】
区画貫通部を耐火構造とする方法は、例えば、長尺の挿通体と貫通孔の間隙に、耐火パテ、ロックウール及びグラスウールなどの不定形充填材を充填する方法が知られている。不定形充填材を使用する場合、各壁部の貫通孔内部と、挿通体の間には、耐火材よりなる筒状部材などが合わせて配設されることもある(例えば、特許文献1、2参照)。
【先行技術文献】
【特許文献】
【0004】
特許第6150933号公報
特許第6348320号公報
【発明の概要】
【発明が解決しようとする課題】
【0005】
しかしながら、区画貫通部の防火処理に不定形充填材を使用した場合、作業者によるバラつきがあり、十分な耐火性能が得られないことがある。また、躯体内に耐火材及びその付属品等を設置する場合、それらがどの程度(量や厚み、長さ等)設置されているか明確でなかったり、規定通りに設置されているか判断できなかったりすることがある。そのため、規定通りに耐火材などが設置されているか否かを確認するためには、区画貫通処理構造を破壊して、内部構造を確認する必要がある。
【0006】
また、作業者によるバラつきを低減するため、あらかじめ決められた量、及び大きさの部材が一体化されたキットがあったが、部材点数が多い傾向があり、部材紛失や設置し忘れが生じやすく、また、キットごとの梱包のため、発生するゴミが多いという問題もある。
【0007】
また、内部にケーブル類及び配管類等の長尺の挿通体が挿通される区画貫通構造においては、区画貫通処理構造を施した後に挿通体を動かした場合には、内部に設置された耐火材などが設置されていた適切な位置からずれてしまうことがある。また、地震等の外力によっても、耐火材などが設置されていた適切な位置からずれてしまうことがある。また、耐火材が均一に膨張せずに偏って膨張すると設置されていた適切な位置からずれたり、脱落したりすることがある。このように、耐火材などが設置されていた適切な位置からずれてしまうことによって、区画貫通部の耐火構造として望まれる耐火性能を発揮することが困難となる。
【0008】
そこで、本発明は、耐火性能のバラつきを低減し、かつ耐火性能を向上させることができる区画貫通処理構造、区画貫通処理材及び区画貫通処理構造の施工方法を提供することを課題とする。
【課題を解決するための手段】
【0009】
本発明は、上記課題を解決するためになされたものであり、本発明の要旨は、以下のとおりである。
[1]建築物の仕切り部に形成され、かつ内部に長尺の挿通体が挿通される区画貫通部を耐火構造とする区画貫通処理構造であって、前記仕切り部に設けられる前記区画貫通部の開口と前記挿通体との間の間隙を塞ぐ耐火構造体を備え、前記耐火構造体は、耐火材と、前記耐火材の少なくとも一部を被覆する被覆材と、前記耐火材を保持する保持材、及び、前記耐火材の前記区画貫通部における位置を制御する位置制御材の少なくともいずれかとを有する構造である、区画貫通処理構造。
[2]シート状の前記耐火材が、シート状の基材である前記保持材に積層された積層構造を構成する、[1]に記載の区画貫通処理構造。
[3]前記耐火材及び前記保持材のいずれも複数層有する、[2]に記載の区画貫通処理構造。
[4]前記積層構造が、前記仕切り部に固定されている[2]又は[3]に記載の区画貫通処理構造。
[5]前記耐火材が不定形部材である、[1]~[4]のいずれかに記載の区画貫通処理構造。
[6]前記不定形部材が、前記保持材の内部に内包されている、[5]に記載の区画貫通処理構造。
[7]前記位置制御部材が、前記仕切り部及び前記挿通体の少なくともいずれかに固定される、[1]~[6]のいずれかに記載の区画貫通処理構造。
[8]前記位置制御部材がシート状である、[1]~[7]のいずれかに記載の区画貫通処理構造。
[9]前記被覆材がシート状及び金属枠のいずれかである、[1]~[8]のいずれかに記載の区画貫通処理構造。
[10]前記被覆材は、内側に配置された粘着性を有する耐火材層又は粘着剤層、外側から巻かれた紐状部材又は粘着テープ、及び、外側から設置された固定部材の少なくともいずれかによって前記挿通体に固定される、[1]~[9]のいずれかに記載の区画貫通処理構造。
[11]前記耐火材の少なくとも一部が外部から視認可能である、[1]~[10]のいずれかに記載の区画貫通処理構造。
[12]前記耐火構造体を備える区画貫通処理材が、前記仕切り部の両側に設けられる[1]~[11]のいずれかに記載の区画貫通処理構造。
[13]前記耐火材が、前記挿通体に接する、[1]~[12]のいずれかに記載の区画貫通処理構造。
[14]建築物の仕切り部に形成され、かつ内部に長尺の挿通体が挿通される区画貫通部を耐火構造とするために用いる区画貫通処理材であって、前記仕切り部に設けられる前記区画貫通部の開口と前記挿通体との間の間隙を塞ぐ耐火構造体を備え、前記耐火構造体は、耐火材と、前記耐火材の少なくとも一部を被覆する被覆材と、前記耐火材を保持する保持材、又は、前記耐火材の前記区画貫通部における位置を制御する位置制御材とを有する構造である、区画貫通処理材。
[15]建築物の仕切り部に形成され、かつ内部に長尺の挿通体が挿通される区画貫通部を耐火構造とする区画貫通処理構造の施工方法であって、前記仕切り部に設けられる前記区画貫通部の開口と前記挿通体との間の間隙を塞ぐように耐火構造体を設置する工程を含み、
前記耐火構造体は、耐火材と、前記耐火材の少なくとも一部を被覆する被覆材と、前記耐火材を保持する保持材、又は、前記耐火材の前記区画貫通部における位置を制御する位置制御材とを有する構造である、区画貫通処理構造の施工方法。
【発明の効果】
【0010】
本発明によれば、耐火性能のバラつきを低減し、かつ耐火性能を向上させることができる区画貫通処理構造、区画貫通処理材及び区画貫通処理構造の施工方法を提供することができる。
【図面の簡単な説明】
(【0011】以降は省略されています)
この特許をJ-PlatPat(特許庁公式サイト)で参照する
関連特許
積水化学工業株式会社
樹脂管
1か月前
積水化学工業株式会社
製管装置
1か月前
積水化学工業株式会社
集合継手
1か月前
積水化学工業株式会社
解析方法
1か月前
積水化学工業株式会社
配管構造
1か月前
積水化学工業株式会社
積層構造体
1か月前
積水化学工業株式会社
雨樋システム
11日前
積水化学工業株式会社
耐火処理構造
1か月前
積水化学工業株式会社
耐火処理構造
1か月前
積水化学工業株式会社
両面粘着テープ
1か月前
積水化学工業株式会社
配管の接続構造
24日前
積水化学工業株式会社
両面粘着テープ
1か月前
積水化学工業株式会社
更生管の製管装置
1か月前
積水化学工業株式会社
更生管の製管方法
1か月前
積水化学工業株式会社
防食用粘着テープ
1か月前
積水化学工業株式会社
基板積層体の製造方法
11日前
積水化学工業株式会社
樹脂組成物、放熱部材
1か月前
積水化学工業株式会社
基板積層体の製造方法
8日前
積水化学工業株式会社
床の施工方法及び建築物
1か月前
積水化学工業株式会社
継手構造および接続構造
1か月前
積水化学工業株式会社
配管構造及びプレハブ配管
29日前
積水化学工業株式会社
配管構造及びプレハブ配管
29日前
積水化学工業株式会社
集合継手及び排水システム
1か月前
積水化学工業株式会社
竪樋支持具および排水システム
11日前
積水化学工業株式会社
軒樋支持具および雨樋システム
29日前
積水化学工業株式会社
継手、配管構造、配管の施工方法
1か月前
積水化学工業株式会社
集合継手及び集合継手の製造方法
1か月前
積水化学工業株式会社
マスターバッチ、及びその製造方法
1か月前
積水化学工業株式会社
粒体、地盤改良材及び地盤改良方法
1か月前
積水化学工業株式会社
熱膨張性マイクロカプセル用組成物
10日前
積水化学工業株式会社
防火区画貫通処理部材及び防火区画材
1か月前
積水化学工業株式会社
鉄道用枕木、及び鉄道用枕木の製造方法
1か月前
積水化学工業株式会社
防火区画貫通処理シート及び防火区画材
1か月前
積水化学工業株式会社
樹脂材料、硬化物及び多層プリント配線板
1か月前
積水化学工業株式会社
樹脂材料、硬化物及び多層プリント配線板
1か月前
積水化学工業株式会社
光ファイバ担持樹脂成形体及びその製造方法
1か月前
続きを見る
他の特許を見る