TOP
|
特許
|
意匠
|
商標
特許ウォッチ
Twitter
他の特許を見る
公開番号
2025150936
公報種別
公開特許公報(A)
公開日
2025-10-09
出願番号
2024052102
出願日
2024-03-27
発明の名称
耐火処理構造
出願人
積水化学工業株式会社
代理人
個人
,
個人
主分類
E04B
1/94 20060101AFI20251002BHJP(建築物)
要約
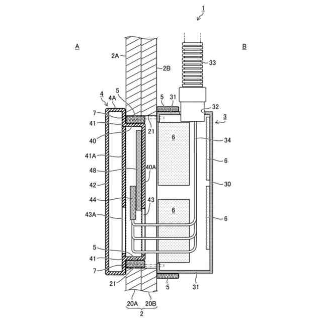
【課題】挿通体を通すための開口が設けられた壁材による仕切り部において、耐火性能のバラつきを低減し、かつ十分な耐火性能を維持させることができる耐火処理構造を提供する。
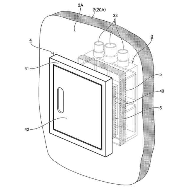
【解決手段】本発明の耐火処理構造1は、開口21が形成された壁材20A,20Bによる建築物の仕切り部2において、開口21を覆うように壁材20Bの背面2B側に設置される箱状部材3と、箱状部材3の前面側に対向するように設置される蓋状部材4とを備え、箱状部材3は、開口21と対向するように設置された背面板30と、背面板30の周縁を形成する側面板31とを有し、箱状部材3の側面板31の外周面、及び蓋状部材4の外周面の少なくとも一部に第1の耐火材5が配置され、箱状部材3の内部に、第2の耐火材6が配置されている。
【選択図】図1
特許請求の範囲
【請求項1】
開口が形成された壁材による建築物の仕切り部において、前記開口を覆うように前記壁材の背面側に設置される箱状部材と、前記箱状部材の前面側に対向するように設置される蓋状部材とを備え、
前記箱状部材は、前記開口と対向するように設置された背面板と、前記背面板の周縁を形成する側面板とを有し、
前記箱状部材の前記側面板の外周面、及び前記蓋状部材の外周面の少なくとも一部に第1の耐火材が配置され、
前記箱状部材の内部に、第2の耐火材が配置されている、耐火処理構造。
続きを表示(約 800 文字)
【請求項2】
前記蓋状部材が、前記壁材の前面側に配置される前面部と、前記前面部に接続し、かつ前記開口の内部に挿入して設置された挿入部とを備える、請求項1に記載の耐火処理構造。
【請求項3】
前記前面部が、前記壁材の前面側において前記開口を囲うように設置された枠体と、前記枠体に設けられ、前記壁材の前面側において開閉可能な扉部とを有する、請求項2に記載の耐火処理構造。
【請求項4】
前記第1の耐火材が前記壁材と接するように配置されている、請求項1に記載の耐火処理構造。
【請求項5】
前記第1の耐火材が、前記側面板の外周面、前記蓋状部材の外周面のいずれかを少なくとも1周以上囲っている、請求項1に記載の耐火処理構造。
【請求項6】
前記第1の耐火材が前記側面板の縁部に配置され、前記第1の耐火材が前記側面板と前記壁材との間の間隙の少なくとも一部を塞いでいる、請求項1に記載の耐火処理構造。
【請求項7】
前記第1の耐火材が前記蓋状部材の前記挿入部と前記壁材との間に配置され、前記蓋状部材の前記挿入部と前記壁材との間の間隙を塞いでいる、請求項2に記載の耐火処理構造。
【請求項8】
前記側面板及び前記背面板の少なくとも1つには、挿通体を挿通する挿通口を有し、
前記挿通口を有する前記側面板及び前記背面板以外の前記箱状部材を構成する部位に少なくとも前記第2の耐火材が配置されている、請求項1に記載の耐火処理構造。
【請求項9】
前記箱状部材の内部及び外部のいずれかに機能材が配置されている、請求項1に記載の耐火処理構造。
【請求項10】
前記第1の耐火材と前記第2の耐火材が異なる種類である、請求項1に記載の耐火処理構造。
(【請求項11】以降は省略されています)
発明の詳細な説明
【技術分野】
【0001】
本発明は、建築物などの仕切り部において形成される耐火処理構造に関する。
続きを表示(約 2,400 文字)
【背景技術】
【0002】
集合住宅、オフィスビル、学校等の建築物において、壁等の仕切り部には、ケーブル類、配管類などの挿通体を通すために、壁材に開口が設けられ、開口を挿通した挿通体を集約する情報盤、防火設備操作盤及び配電盤等の金属製の箱体が開口を覆うように設置されている(例えば、特許文献1参照)。
【0003】
開口が設けられた壁材による仕切り部は、いずれかの区画で火災が発生した際に、他の区画への延焼を防止するために、防火措置を施した構造(耐火構造)にすることが求められている。そこで、開口が設けられた壁材による仕切り部を耐火構造とする方法としては、例えば、開口における挿通体との間隙に、耐火パテなどの不定形充填材を充填する方法が知られている。
【先行技術文献】
【特許文献】
【0004】
特開2023-58922号公報
【発明の概要】
【発明が解決しようとする課題】
【0005】
しかしながら、開口が設けられた壁材の防火処理に不定形充填材を使用した場合、作業者によるバラつきがあり、十分な耐火性能が得られないことがある。また、情報盤、防火設備操作盤及び配電盤等の金属製の箱体は、壁材の経年劣化や箱体に作用する外力の蓄積によって、開口との界面に隙間が生じることがあり、不定形充填材を使用した耐火構造では耐火性能が悪化してしまうことがあり、耐火性能を維持することが困難である。
【0006】
そこで、本発明は、挿通体を通すための開口が設けられた壁材による仕切り部において、耐火性能のバラつきを低減し、かつ十分な耐火性能を維持させることができる耐火処理構造を提供することを課題とする。
【課題を解決するための手段】
【0007】
本発明は、上記課題を解決するためになされたものであり、本発明の要旨は、以下のとおりである。
[1]開口が形成された壁材による建築物の仕切り部において、前記開口を覆うように前記壁材の背面側に設置される箱状部材と、前記箱状部材の前面側に対向するように設置される蓋状部材とを備え、前記箱状部材は、前記開口と対向するように設置された背面板と、前記背面板の周縁を形成する側面板とを有し、前記箱状部材の前記側面板の外周面、及び前記蓋状部材の外周面の少なくとも一部に第1の耐火材が配置され、前記箱状部材の内部に、第2の耐火材が配置されている、耐火処理構造。
[2]前記蓋状部材が、前記壁材の前面側に配置される前面部と、前記前面部に接続し、かつ前記開口の内部に挿入して設置された挿入部とを備える、[1]に記載の耐火処理構造。
[3]前記前面部が、前記壁材の前面側において前記開口を囲うように設置された枠体と、前記枠体に設けられ、前記壁材の前面側において開閉可能な扉部とを有する、[2]に記載の耐火処理構造。
[4]前記第1の耐火材が前記壁材と接するように配置されている、[1]~[3]のいずれかに記載の耐火処理構造。
[5]前記第1の耐火材が、前記側面板の外周面、前記蓋状部材の外周面のいずれかを少なくとも1周以上囲っている、[1]~[4]のいずれかに記載の耐火処理構造。
[6]前記第1の耐火材が前記側面板の縁部に配置され、前記第1の耐火材が前記側面板と前記壁材との間の間隙の少なくとも一部を塞いでいる、請求項1に記載の耐火処理構造。
[7]前記第1の耐火材が前記蓋状部材の前記挿入部と前記壁材との間に配置され、前記蓋状部材の前記挿入部と前記壁材との間の間隙を塞いでいる、[2]~[6]のいずれかに記載の耐火処理構造。
[8]前記側面板及び前記背面板の少なくとも1つには、挿通体を挿通する挿通口を有し、前記挿通口を有する前記側面板及び前記背面板以外の前記箱状部材を構成する部位に少なくとも前記第2の耐火材が配置されている、[1]~[7]のいずれかに記載の耐火処理構造。
[9]前記箱状部材の内部及び外部のいずれかに機能材が配置されている、[1]~[8]のいずれかに記載の耐火処理構造。
[10]前記第1の耐火材と前記第2の耐火材が異なる種類である、[1]~[9]のいずれかに記載の耐火処理構造。
[11]前記第1の耐火材がテープ状である、[1]~[10]のいずれかに記載の耐火処理構造。
[12]前記第2の耐火材が前記箱状部材の内部に複数配置されている、[1]~[11]のいずれかに記載の耐火処理構造。
【発明の効果】
【0008】
本発明によれば、挿通体を通すための開口が設けられた壁材による仕切り部において、耐火性能のバラつきを低減し、かつ十分な耐火性能を維持させることができる耐火処理構造を提供することができる。
【図面の簡単な説明】
【0009】
本発明の第1の実施形態に係る耐火処理構造を示す断面図である。
本発明の第1の実施形態に係る耐火処理構造を構成する箱状部材の正面図である。
本発明の第1の実施形態に係る耐火処理構造を構成する蓋状部材の斜視図(その1)である。
本発明の第1の実施形態に係る耐火処理構造を構成する蓋状部材の斜視図(その2)である。
本発明の第1の実施形態に係る耐火処理構造を構成する箱状部材と蓋状部材の設置関係を示す斜視図である。
本発明の第2の実施形態に係る耐火処理構造を示す断面図である。
本発明のその他の実施形態に係る耐火処理構造を示す断面図である。
【発明を実施するための形態】
【0010】
以下、本発明について実施形態を用いてより詳細に説明する。
(【0011】以降は省略されています)
この特許をJ-PlatPat(特許庁公式サイト)で参照する
関連特許
積水化学工業株式会社
樹脂管
1か月前
積水化学工業株式会社
製管装置
1か月前
積水化学工業株式会社
集合継手
1か月前
積水化学工業株式会社
雨樋システム
28日前
積水化学工業株式会社
配管の接続構造
1か月前
積水化学工業株式会社
更生管の製管装置
1か月前
積水化学工業株式会社
太陽電池設置構造
13日前
積水化学工業株式会社
太陽電池設置構造
13日前
積水化学工業株式会社
太陽電池設置構造
13日前
積水化学工業株式会社
防食用粘着テープ
1か月前
積水化学工業株式会社
基板積層体の製造方法
25日前
積水化学工業株式会社
基板積層体の製造方法
28日前
積水化学工業株式会社
配管構造及びプレハブ配管
1か月前
積水化学工業株式会社
配管構造及びプレハブ配管
1か月前
積水化学工業株式会社
竪樋支持具および排水システム
28日前
積水化学工業株式会社
太陽電池モジュールの取付構造
13日前
積水化学工業株式会社
軒樋支持具および雨樋システム
1か月前
積水化学工業株式会社
熱膨張性マイクロカプセル用組成物
27日前
積水化学工業株式会社
粒体、地盤改良材及び地盤改良方法
1か月前
積水化学工業株式会社
マスターバッチ、及びその製造方法
1か月前
積水化学工業株式会社
ポリオルガノシロキサン、樹脂組成物
4日前
積水化学工業株式会社
超音波トランスデューサおよび超音波センサ
13日前
積水化学工業株式会社
超音波トランスデューサ、及び超音波センサ
13日前
積水化学工業株式会社
継手
18日前
積水化学工業株式会社
継手
25日前
積水化学工業株式会社
熱伝導性シート保持体、及び熱伝導性シートの貼り付け方法
1か月前
積水化学工業株式会社
ガス製造装置
4日前
積水化学工業株式会社
施工管理システム
1か月前
積水化学工業株式会社
防食用粘着テープ
1か月前
積水化学工業株式会社
光ファイバ担持管梱包体および光ファイバ担持管梱包体用の支持部材
20日前
積水化学工業株式会社
集合継手及び配管構造
25日前
積水化学工業株式会社
集合継手および継手構造
1か月前
積水化学工業株式会社
ポリオール組成物、発泡性ウレタン樹脂組成物、及びポリウレタン発泡体
1か月前
積水化学工業株式会社
電気融着継手、配管システム、配管付き電気融着継手、及び配管更生構造
28日前
積水化学工業株式会社
アダプタおよび継手構造
12日前
積水化学工業株式会社
多口継手及び配管システム
12日前
続きを見る
他の特許を見る