TOP
|
特許
|
意匠
|
商標
特許ウォッチ
Twitter
他の特許を見る
公開番号
2025153674
公報種別
公開特許公報(A)
公開日
2025-10-10
出願番号
2024056273
出願日
2024-03-29
発明の名称
集合継手及び排水システム
出願人
積水化学工業株式会社
代理人
個人
,
個人
,
個人
,
個人
主分類
E03C
1/12 20060101AFI20251002BHJP(上水;下水)
要約
【課題】複数のサイフォン排水管から勢いの強い排水が多量に集中して流入しても、騒音や振動の発生を抑制できる集合継手及び排水システムを提供する。
【解決手段】床スラブSの貫通孔Hに設置され、サイフォン排水管P4が接続される集合継手10であり、集合継手10は、床スラブSよりも上にある立管P1と接続される上部立管受口19が設けられた継手上部11と、床スラブSよりも下にある立管P1と接続される下部立管受口18が設けられた継手下部12と、継手上部11または継手下部12の内面に複数設けられた突起部20と、を備え、継手上部11は側面に横管接続口14を備え、サイフォン排水管P4は上部立管受口19または横管接続口14に接続され、突起部20は、サイフォン排水管P4が接続される上部立管受口19または横管接続口14よりも下流側に位置している。
【選択図】図1
特許請求の範囲
【請求項1】
床スラブの貫通孔に設置され、サイフォン排水管が接続される集合継手であって、
前記集合継手は、
前記床スラブよりも上にある立管と接続される上部立管受口が設けられた継手上部と、
前記床スラブよりも下にある立管と接続される下部立管受口が設けられた継手下部と、
前記継手上部または前記継手下部の内面に複数設けられた突起部と、
を備え、
前記継手上部は側面に横管接続口を備え、
前記サイフォン排水管は前記上部立管受口または前記横管接続口に接続され、
前記突起部は、前記サイフォン排水管が接続される前記上部立管受口または前記横管接続口よりも下流側に位置している、
集合継手。
続きを表示(約 820 文字)
【請求項2】
前記継手上部と、前記継手下部と、前記突起部は樹脂製であり、
前記継手上部と、前記継手下部とは別部材で構成され、
前記突起部は、前記継手上部及び/又は前記継手下部の内部に設けられている、
請求項1に記載の集合継手。
【請求項3】
前記突起部は、少なくとも1つが前記横管接続口よりも下流側に位置している、
請求項1に記載の集合継手。
【請求項4】
前記突起部の下端は、前記横管接続口よりも下流側に位置している、
請求項1に記載の集合継手。
【請求項5】
前記突起部の継手内面からの突出幅は15mm以上である、
請求項1に記載の集合継手。
【請求項6】
前記突起部は、前記継手下部において互いに対向する位置に複数設けられている、
請求項1に記載の集合継手。
【請求項7】
前記突起部の1つは前記継手上部に設けられ、
他の1つは前記継手下部に設けられている、
請求項1に記載の集合継手。
【請求項8】
床スラブの貫通孔に設置され、サイフォン排水管と集合継手とが接続された排水システムであって、
前記集合継手は、
前記床スラブよりも上にある立管と接続される上部立管受口が設けられた継手上部と、
前記床スラブよりも下にある立管と接続される下部立管受口が設けられた継手下部と、
前記継手上部または前記継手下部の内面に複数設けられた突起部と、
を備え、
前記継手上部は側面に横管接続口を備え、
前記サイフォン排水管は前記上部立管受口または前記横管接続口に接続され、
前記突起部は、前記サイフォン排水管が接続された前記上部立管受口または前記横管接続口よりも下流側に位置している
排水システム。
発明の詳細な説明
【技術分野】
【0001】
本発明は、集合継手及び排水システムに関する。
続きを表示(約 1,800 文字)
【背景技術】
【0002】
集合住宅などの多層建築物は、各階の排水を横管により立管に導いて流下させる排水システムを備える。多層建築物の排水システムとして、サイフォン排水管を用いたシステムが知られている(例えば下記特許文献1、2参照)。
この排水システムは、各階の排水源からの排水を横管によりサイフォン排水管に導き、サイフォン排水管から集合継手を介して立管に合流させる。サイフォン排水管は、各階の排水を下の階に流下させることで得られる水頭を利用して排水を流すため、横管の勾配を無くすことができる。
【先行技術文献】
【特許文献】
【0003】
特開2020-94612号公報
特開2017-89369号公報
【発明の概要】
【発明が解決しようとする課題】
【0004】
サイフォン排水管を用いた排水システムは、横管の勾配が不要のため各階の広い範囲の排水を流下できる。そのため多くのサイフォン排水管からの排水を下の階で立管に合流することができる。例えば特許文献1では、複数のサイフォン排水管が、立管に設けた合流継手の上部に設けられた受口に合流している。特許文献2では、複数のサイフォン排水管が、継手の本管部の側部に設けられた受口に本体管を介して合流している。
【0005】
このような排水システムでは、立管に流入する排水は上階から流下するため、排水の圧力や速度等の勢いが強い。しかも、複数のサイフォン排水管からより多くの排水が1つの受口に集中して流入することで、過剰な流入量となる場合も生じる。
そのためサイフォン排水管を用いた排水システムでは、局所的に予め想定された集合継手の排水性能を超える恐れがあった。樹脂製の集合継手では、高流速や高流量により、振動や騒音が発生するなどの問題点があった。
【0006】
本発明は、前述した事情に鑑みてなされたものであって、複数のサイフォン排水管から勢いの強い排水が多量に集中して流入しても、排水性能を確保できる集合継手及び排水システムを提供することを目的とする。
【課題を解決するための手段】
【0007】
前記課題を解決するために、本発明は以下の手段を提案している。
本発明の一態様に係る集合継手は、床スラブの貫通孔に設置され、サイフォン排水管が接続される集合継手であって、前記集合継手は、前記床スラブよりも上にある立管と接続される上部立管受口が設けられた継手上部と、前記床スラブよりも下にある立管と接続される下部立管受口が設けられた継手下部と、前記継手上部または前記継手下部の内面に複数設けられた突起部と、を備え、前記継手上部は側面に横管接続口を備え、前記サイフォン排水管は前記上部立管受口または前記横管接続口に接続され、前記突起部は、前記サイフォン排水管が接続される前記上部立管受口または前記横管接続口よりも下流側に位置している。
【発明の効果】
【0008】
本発明によれば、複数のサイフォン排水管から勢いの強い排水が多量に集中して流入しても、排水性能を確保できる集合継手及び排水システムを提供することができる。
【図面の簡単な説明】
【0009】
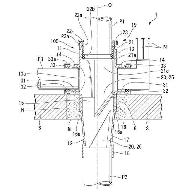
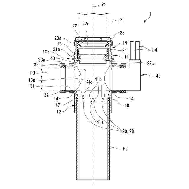
図1は、本発明の第1実施形態に係る集合継手を用いた排水システムの一部を示す概略断面図である。
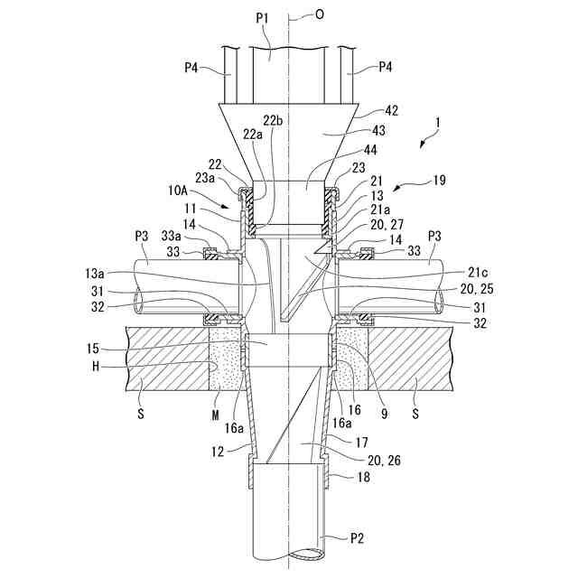
図2は、第1実施形態の第1変形例に係る集合継手を用いた排水システムの一部を示す概略断面図である。
図3は、第1実施形態の第2変形例に係る集合継手を用いた排水システムの一部を示す概略断面図である。
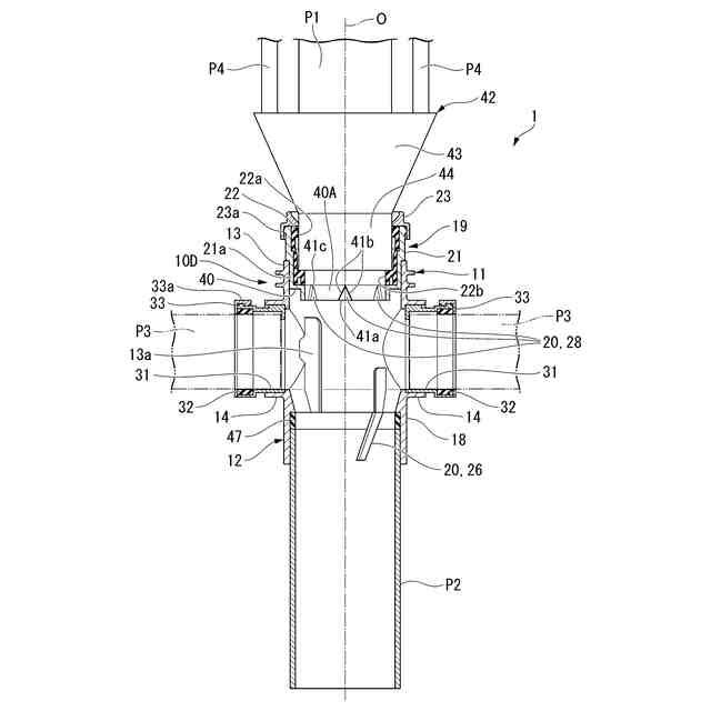
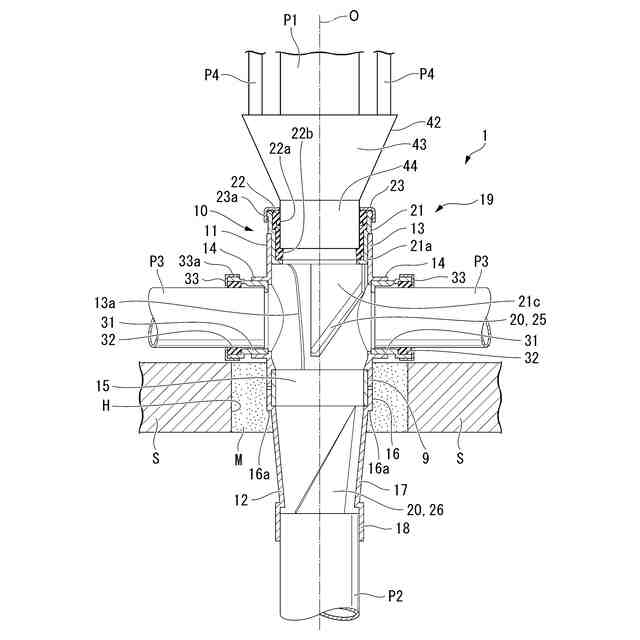
図4は、本発明の第2実施形態に係る集合継手を用いた排水システムの一部を示す概略断面図である。
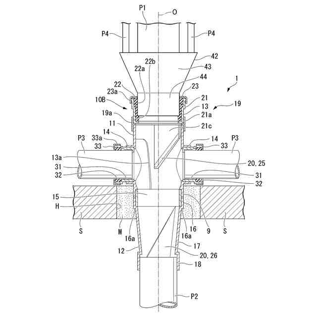
図5は、本発明の第3実施形態に係る集合継手を用いた排水システムの一部を示す概略断面図である。
図6は、本発明の第3実施形態に係る集合継手を用いた排水システムの一部を示す概略断面図である。
【発明を実施するための形態】
【0010】
以下、図面を参照しつつ本発明の実施形態に係る集合継手及びこの集合継手を用いた排水システムについて説明する。
(【0011】以降は省略されています)
この特許をJ-PlatPat(特許庁公式サイト)で参照する
関連特許
積水化学工業株式会社
樹脂管
7日前
積水化学工業株式会社
配管構造
7日前
積水化学工業株式会社
製管装置
1日前
積水化学工業株式会社
集合継手
3日前
積水化学工業株式会社
解析方法
7日前
積水化学工業株式会社
積層構造体
7日前
積水化学工業株式会社
耐火処理構造
8日前
積水化学工業株式会社
耐火処理構造
8日前
積水化学工業株式会社
両面粘着テープ
7日前
積水化学工業株式会社
両面粘着テープ
7日前
積水化学工業株式会社
更生管の製管方法
8日前
積水化学工業株式会社
更生管の製管装置
1日前
積水化学工業株式会社
防食用粘着テープ
3日前
積水化学工業株式会社
樹脂組成物、放熱部材
7日前
積水化学工業株式会社
床の施工方法及び建築物
7日前
積水化学工業株式会社
継手構造および接続構造
7日前
積水化学工業株式会社
配管構造及びプレハブ配管
今日
積水化学工業株式会社
配管構造及びプレハブ配管
今日
積水化学工業株式会社
集合継手及び排水システム
7日前
積水化学工業株式会社
生産管理システムおよび方法
8日前
積水化学工業株式会社
軒樋支持具および雨樋システム
今日
積水化学工業株式会社
集合継手及び集合継手の製造方法
7日前
積水化学工業株式会社
継手、配管構造、配管の施工方法
8日前
積水化学工業株式会社
マスターバッチ、及びその製造方法
7日前
積水化学工業株式会社
粒体、地盤改良材及び地盤改良方法
3日前
積水化学工業株式会社
防火区画貫通処理部材及び防火区画材
7日前
積水化学工業株式会社
防火区画貫通処理シート及び防火区画材
7日前
積水化学工業株式会社
鉄道用枕木、及び鉄道用枕木の製造方法
8日前
積水化学工業株式会社
樹脂材料、硬化物及び多層プリント配線板
8日前
積水化学工業株式会社
樹脂材料、硬化物及び多層プリント配線板
8日前
積水化学工業株式会社
光ファイバ担持樹脂成形体及びその製造方法
7日前
積水化学工業株式会社
硬化性樹脂組成物及び基板積層体の製造方法
7日前
積水化学工業株式会社
電気化学システム、及びカルボニル化合物の製造方法
7日前
積水化学工業株式会社
コンクリート試験体、及びコンクリート試験体の製造方法
7日前
積水化学工業株式会社
熱伝導性シート保持体、及び熱伝導性シートの貼り付け方法
7日前
積水化学工業株式会社
フラットデッキ、防火区画構造及びフラットデッキの製造方法
8日前
続きを見る
他の特許を見る