TOP
|
特許
|
意匠
|
商標
特許ウォッチ
Twitter
他の特許を見る
10個以上の画像は省略されています。
公開番号
2025170558
公報種別
公開特許公報(A)
公開日
2025-11-19
出願番号
2024075229
出願日
2024-05-07
発明の名称
太陽電池設置構造
出願人
積水化学工業株式会社
代理人
弁護士法人クレオ国際法律特許事務所
主分類
E04D
13/18 20180101AFI20251112BHJP(建築物)
要約
【課題】主に、透過性のある屋根部に設置された太陽電池のメンテナンスや交換などを容易化し得るようにする。
【解決手段】
建物1の屋外2に設けられた、透過性のある屋根材3を有する屋根部4に、太陽電池5を設置する太陽電池設置構造に関する。
太陽電池5は、シート状の太陽電池11とされて、透過性のある屋根材3の裏面に設置される。
屋根部4は、屋根材3の下側に、屋根材3を固定する固定桟21を有し、シート状の太陽電池11は、固定桟21と屋根材3とで挟み込んで固定されても良い。
【選択図】図1
特許請求の範囲
【請求項1】
建物の屋外に設けられた、透過性のある屋根材を有する屋根部に、太陽電池を設置する太陽電池設置構造であって、
前記太陽電池は、シート状の太陽電池とされて、透過性のある前記屋根材の裏面に設置されていることを特徴とする太陽電池設置構造。
続きを表示(約 1,000 文字)
【請求項2】
請求項1に記載の太陽電池設置構造であって、
前記屋根部は、前記屋根材の下側に、前記屋根材を固定する固定桟を有し、
シート状の前記太陽電池は、前記固定桟と前記屋根材とで挟み込んで固定されていることを特徴とする太陽電池設置構造。
【請求項3】
請求項2に記載の太陽電池設置構造であって、
前記屋根部は、前記固定桟を下側から支える支持桟を有し、
シート状の前記太陽電池は、前記支持桟の上部に取付けたスペーサと前記屋根材とで挟み込んで固定されていることを特徴とする太陽電池設置構造。
【請求項4】
請求項1ないし請求項3のいずれか1項に記載の太陽電池設置構造であって、
シート状の前記太陽電池は、前記屋根部に設けられた全ての前記屋根材に全面に亘って設置されていることを特徴とする太陽電池設置構造。
【請求項5】
請求項1ないし請求項3のいずれか1項に記載の太陽電池設置構造であって、
シート状の前記太陽電池は、前記屋根部に設けられた前記屋根材の一部に設置されていることを特徴とする太陽電池設置構造。
【請求項6】
請求項1ないし請求項3のいずれか1項に記載の太陽電池設置構造であって、
シート状の前記太陽電池は、電池本体の内部に複数のセルを有しており、
複数の前記セルは、前記電池本体の短辺方向または長辺方向に沿って並べられていることを特徴とする太陽電池設置構造。
【請求項7】
請求項1ないし請求項3のいずれか1項に記載の太陽電池設置構造であって、
シート状の前記太陽電池は、ジャンクションボックスおよび配線が、前記屋根部の辺の周辺に設置されていることを特徴とする太陽電池設置構造。
【請求項8】
請求項1ないし請求項3のいずれか1項に記載の太陽電池設置構造であって、
前記屋根部は、柱によって支持されており、
シート状の前記太陽電池から延びる配線は、前記柱に沿って設置されていることを特徴とする太陽電池設置構造。
【請求項9】
請求項1ないし請求項3のいずれか1項に記載の太陽電池設置構造であって、
シート状の前記太陽電池のパワーコンディショナーは、前記建物に設置されていることを特徴とする太陽電池設置構造。
発明の詳細な説明
【技術分野】
【0001】
この発明は、太陽電池設置構造に関する。
続きを表示(約 1,200 文字)
【背景技術】
【0002】
太陽電池は、再生可能エネルギーの利用拡大によって設置数が増加する傾向にある(例えば、特許文献1参照)。
【先行技術文献】
【特許文献】
【0003】
特開2007-154509号公報
【発明の概要】
【発明が解決しようとする課題】
【0004】
例えば、特許文献1に記載された太陽電池は、フィルム状とされて、カーポートなどの屋根部の上面に直接貼付けられている。そのため、屋根部の上面に貼付けられた太陽電池は、メンテナンスや交換が難しくなっていた。
【0005】
そこで、本発明は、上記した問題点の改善に寄与することを主な目的としている。
【課題を解決するための手段】
【0006】
上記課題に対して、本発明は、
建物の屋外に設けられた、透過性のある屋根材を有する屋根部に、太陽電池を設置する太陽電池設置構造であって、
前記太陽電池は、シート状の太陽電池とされて、透過性のある前記屋根材の裏面に設置されていることを特徴とする。
【発明の効果】
【0007】
本発明は、上記構成によって、透過性のある屋根部に設置された太陽電池のメンテナンスや交換などを容易化することなどができる。
【図面の簡単な説明】
【0008】
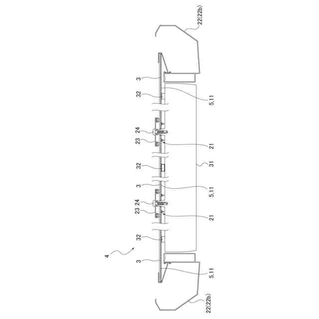
実施例にかかる太陽電池設置構造を備えた屋根部を上側から見た全体斜視図である。
図1の屋根部を下側から見た全体斜視図である。
図1の屋根部の固定桟部分の概略構造を示す部分拡大縦断面図である。
図3の固定桟部分の、より具体的な構造図である。
図1の屋根部の支持桟部分の概略構造を示す部分拡大縦断面図である。
図4の支持桟部分の、より具体的な構造図である。
他の実施例にかかる屋根部を上側から見た全体斜視図である。
別の実施例にかかる屋根部を上側から見た全体斜視図である。
更に別の実施例にかかる屋根部を上側から見た全体斜視図である。
シート状の太陽電池の構造図である。このうち、(a)は平面図、(b)は断面図である。
シート状の太陽電池の別の構造を示す平面図である。
図2の屋根部の下部の拡大正面図である。
【発明を実施するための形態】
【0009】
本実施の形態は、図1~図12を用いて詳細に説明される。
【実施例】
【0010】
<構成>この実施例は、以下の構成を有している
図1(図2)に示すように、建物1の屋外2に設けられた、透過性のある屋根材3を有する屋根部4に、太陽電池5を設置する。
(【0011】以降は省略されています)
この特許をJ-PlatPat(特許庁公式サイト)で参照する
関連特許
積水化学工業株式会社
樹脂管
1か月前
積水化学工業株式会社
集合継手
1か月前
積水化学工業株式会社
配管構造
1か月前
積水化学工業株式会社
製管装置
1か月前
積水化学工業株式会社
解析方法
1か月前
積水化学工業株式会社
積層構造体
1か月前
積水化学工業株式会社
雨樋システム
20日前
積水化学工業株式会社
耐火処理構造
1か月前
積水化学工業株式会社
耐火処理構造
1か月前
積水化学工業株式会社
両面粘着テープ
1か月前
積水化学工業株式会社
両面粘着テープ
1か月前
積水化学工業株式会社
配管の接続構造
1か月前
積水化学工業株式会社
防食用粘着テープ
1か月前
積水化学工業株式会社
太陽電池設置構造
5日前
積水化学工業株式会社
太陽電池設置構造
5日前
積水化学工業株式会社
太陽電池設置構造
5日前
積水化学工業株式会社
更生管の製管装置
1か月前
積水化学工業株式会社
更生管の製管方法
1か月前
積水化学工業株式会社
樹脂組成物、放熱部材
1か月前
積水化学工業株式会社
基板積層体の製造方法
17日前
積水化学工業株式会社
基板積層体の製造方法
20日前
積水化学工業株式会社
床の施工方法及び建築物
1か月前
積水化学工業株式会社
継手構造および接続構造
1か月前
積水化学工業株式会社
配管構造及びプレハブ配管
1か月前
積水化学工業株式会社
集合継手及び排水システム
1か月前
積水化学工業株式会社
配管構造及びプレハブ配管
1か月前
積水化学工業株式会社
生産管理システムおよび方法
1か月前
積水化学工業株式会社
生産管理システムおよび方法
1か月前
積水化学工業株式会社
竪樋支持具および排水システム
20日前
積水化学工業株式会社
太陽電池モジュールの取付構造
5日前
積水化学工業株式会社
軒樋支持具および雨樋システム
1か月前
積水化学工業株式会社
集合継手及び集合継手の製造方法
1か月前
積水化学工業株式会社
継手、配管構造、配管の施工方法
1か月前
積水化学工業株式会社
プログラム及び情報処理システム
1か月前
積水化学工業株式会社
接着性樹脂組成物、及び、仮固定材
1か月前
積水化学工業株式会社
粒体、地盤改良材及び地盤改良方法
1か月前
続きを見る
他の特許を見る