TOP
|
特許
|
意匠
|
商標
特許ウォッチ
Twitter
他の特許を見る
公開番号
2025159204
公報種別
公開特許公報(A)
公開日
2025-10-17
出願番号
2025137575,2021158953
出願日
2025-08-21,2021-09-29
発明の名称
排水口用保護具及びルーフドレーンの施工方法
出願人
積水化学工業株式会社
代理人
個人
,
個人
,
個人
,
個人
主分類
E04D
13/04 20060101AFI20251009BHJP(建築物)
要約
【課題】屋上、バルコニー等を施工する際に、排水口を保護する。
【解決手段】スラブ上面に形成された排水口を覆う排水口用保護具200であって、天壁部210と、前記天壁部210の下面から下方に延びる2以上の脚部と、前記2以上の脚部の外方に位置し前記天壁部210の下面から下方に延びる第一の囲繞壁部220と、を有し、前記第一の囲繞壁部220は、前記天壁部210の軸線O1回りに周回し、前記排水口を覆った状態で、前記第一の囲繞壁部220の下端と前記スラブ上面とが離間することよりなる。
【選択図】図2
特許請求の範囲
【請求項1】
スラブ上面に形成された排水口を覆う排水口用保護具であって、
天壁部と、前記天壁部の下面から下方に延びる2以上の脚部と、前記2以上の脚部の外方に位置し前記天壁部の下面から下方に延びる第一の囲繞壁部と、を有し、
前記第一の囲繞壁部は、前記天壁部の軸線回りに周回し、
前記排水口を覆った状態で、前記第一の囲繞壁部の下端と前記スラブ上面とが離間する、排水口用保護具。
続きを表示(約 1,000 文字)
【請求項2】
前記脚部と前記第一の囲繞壁部とを間に、第二の囲繞壁部を有し、
前記第二の囲繞壁部は、前記天壁部の軸線回りに周回している、請求項1に記載の排水口用保護具。
【請求項3】
前記天壁部には、前記第一の囲繞壁部と前記第二の囲繞壁部との間に、切断予定線を有する、請求項2に記載の排水口用保護具。
【請求項4】
前記脚部は前記第二の囲繞壁部の内面に接している、請求項2又は3に記載の排水口用保護具。
【請求項5】
前記天壁部は、その周縁から中心に向かうに従い窄んでいる、請求項1~4のいずれか一項に記載の排水口用保護具。
【請求項6】
樹脂成形体である、請求項1~5のいずれか一項に記載の排水口用保護具。
【請求項7】
着色されている、請求項1~6のいずれか一項に記載の排水口用保護具。
【請求項8】
請求項1に記載の排水口用保護具を用いたルーフドレーンの施工方法であって、
前記脚部を下方とし、前記第一の囲繞壁部の下端と前記スラブ上面とが離間した状態で前記排水口を前記排水口用保護具で覆う工程と、
前記排水口用保護具で前記排水口を覆った状態で、前記スラブ上面に防水シートを接着する工程と、
前記スラブ上面に前記防水シートを接着した後に、前記排水口用保護具を取り除き、前記排水口にルーフドレーンを設ける工程と、
を有する、ルーフドレーンの施工方法。
【請求項9】
請求項2~4のいずれか一項に記載の排水口用保護具を用いたルーフドレーンの施工方法であって、
前記脚部を下方とし、前記第一の囲繞壁部の下端及び前記第二の囲繞壁部の下端と前記スラブ上面とが離間した状態で前記排水口を前記排水口用保護具で覆う工程と、
前記第一の囲繞壁部と前記第二の囲繞壁部との間で前記天壁部を切断し、前記第二の囲繞壁部よりも外方を取り除き、残部を小径保護具とする工程と、
前記第二の囲繞壁部の下端が前記スラブ上面と接した状態で、前記小径保護具で前記排水口を覆い、前記スラブ上面に防水シートを接着する工程と、
前記スラブ上面に前記防水シートを接着した後に、前記小径保護具を取り除き、前記排水口にルーフドレーンを設ける工程と、
を有する、ルーフドレーンの施工方法。
発明の詳細な説明
【技術分野】
【0001】
本発明は、排水口用保護具及びルーフドレーンの施工方法に関する。
続きを表示(約 2,500 文字)
【背景技術】
【0002】
建築物の屋上、バルコニーのスラブには、排水口が形成されている。この排水口は、下方に延びるドレーン管に接続され、雨水等は排水口からドレーン管へ排水される。
排水口には、ルーフドレーンが設けられることがある。ルーフドレーンを設けることで、排水効率の向上等が図られる。
例えば、特許文献1には、排水部材と接続短管とを備え、排水部材は接続短管の上端に螺合され、接続短管の下端はドレーン管と接続される樹脂配管接続部が形成されているルーフドレーンが提案されている。特許文献1の発明によれば、排水部材とドレーン管との接続の効率化が図られている。
【先行技術文献】
【特許文献】
【0003】
特開2020-153224号公報
【発明の概要】
【発明が解決しようとする課題】
【0004】
ところで、屋上等に排水口を形成し、排水口にルーフドレーンを設けるまでの施工の間、排水口がむき出しになる。この施工の間に、硬質の異物(ボルト、ナット等の部品、スパナ等の工具等)が誤って排水口から侵入し、ドレーン管内に落下すると、ドレーン管を破損するおそれがある。このため、屋上等を施工する際に、排水口を保護する必要がある。
そこで、本発明は、排水口を保護する排水口用保護具を目的とする。
【課題を解決するための手段】
【0005】
本発明は以下の態様を有する。
<1>
スラブ上面に形成された排水口を覆う排水口用保護具であって、
天壁部と、前記天壁部の下面から下方に延びる2以上の脚部と、前記2以上の脚部の外方に位置し前記天壁部の下面から下方に延びる第一の囲繞壁部と、を有し、
前記第一の囲繞壁部は、前記天壁部の軸線回りに周回し、
前記排水口を覆った状態で、前記第一の囲繞壁部の下端と前記スラブ上面とが離間する、排水口用保護具。
<2>
前記脚部と前記第一の囲繞壁部とを間に、第二の囲繞壁部を有し、
前記第二の囲繞壁部は、前記天壁部の軸線回りに周回している、<1>に記載の排水口用保護具。
<3>
前記天壁部には、前記第一の囲繞壁部と前記第二の囲繞壁部との間に、切断予定線を有する、<2>に記載の排水口用保護具。
<4>
前記脚部は前記第二の囲繞壁部の内面に接している、<2>又は<3>に記載の排水口用保護具。
<5>
前記天壁部は、その周縁から中心に向かうに従い窄んでいる、<1>~<4>のいずれかに記載の排水口用保護具。
<6>
樹脂成形体である、<1>~<5>のいずれかに記載の排水口用保護具。
<7>
着色されている、<1>~<6>のいずれかに記載の排水口用保護具。
【0006】
<8>
<1>に記載の排水口用保護具を用いたルーフドレーンの施工方法であって、
前記脚部を下方とし、前記第一の囲繞壁部の下端と前記スラブ上面とが離間した状態で前記排水口を前記排水口用保護具で覆う工程と、
前記排水口用保護具で前記排水口を覆った状態で、前記スラブ上面に防水シートを接着する工程と、
前記スラブ上面に前記防水シートを接着した後に、前記排水口用保護具を取り除き、前記排水口にルーフドレーンを設ける工程と、
を有する、ルーフドレーンの施工方法。
<9>
<2>~<4>のいずれかに記載の排水口用保護具を用いたルーフドレーンの施工方法であって、
前記脚部を下方とし、前記第一の囲繞壁部の下端及び前記第二の囲繞壁部の下端と前記スラブ上面とが離間した状態で前記排水口を前記排水口用保護具で覆う工程と、
前記第一の囲繞壁部と前記第二の囲繞壁部との間で前記天壁部を切断し、前記第二の囲繞壁部よりも外方を取り除き、残部を小径保護具とする工程と、
前記第二の囲繞壁部の下端が前記スラブ上面と接した状態で、前記小径保護具で前記排水口を覆い、前記スラブ上面に防水シートを接着する工程と、
前記スラブ上面に前記防水シートを接着した後に、前記小径保護具を取り除き、前記排水口にルーフドレーンを設ける工程と、
を有する、ルーフドレーンの施工方法。
【発明の効果】
【0007】
本発明の排水口用保護具によれば、施工中の排水口を保護できる。
【図面の簡単な説明】
【0008】
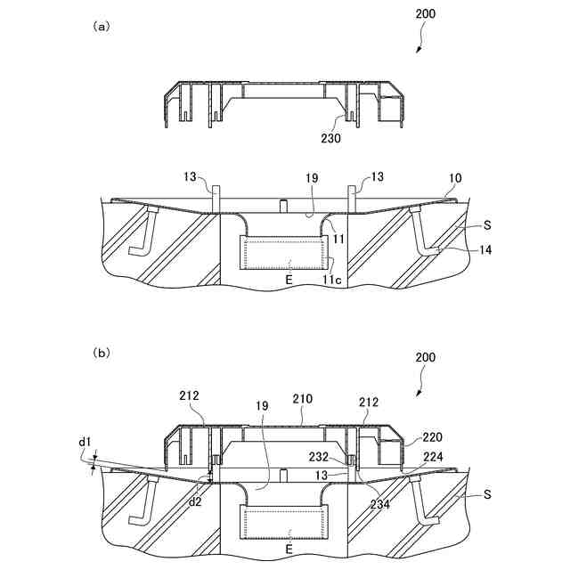
本発明の一実施形態のルーフドレーンの断面図である。
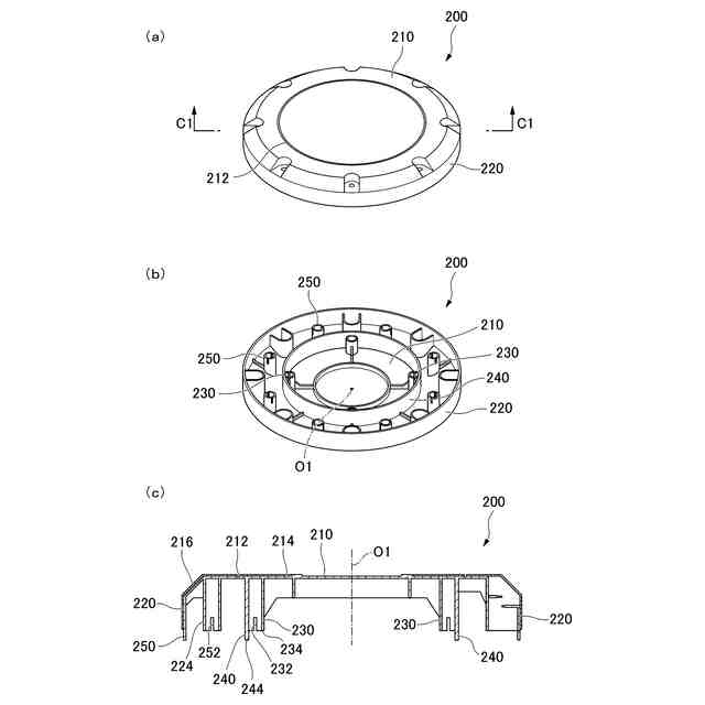
(a)本発明の一実施形態に係る排水口用保護具の平面斜視図である。(b)本発明の一実施形態に係る排水口用保護具の底面斜視図である。(c)図2(a)のC1-C1断面図である。
本発明の一実施形態に係る排水口用保護具の使用方法を説明する工程図である。
本発明の一実施形態に係る排水口用保護具の使用方法を説明する工程図である。
(a)他の実施形態に係る排水口用保護具の平面斜視図である。(b)他の実施形態に係る排水口用保護具の底面斜視図である。(c)図5(a)のC2-C2断面図である。
【発明を実施するための形態】
【0009】
(ルーフドレーン)
ルーフドレーンの一実施形態について、図面を参照して説明する。
図1は、屋上やバルコニーのスラブ(ルーフスラブ)Sの抜孔Saに設けられた状態のルーフドレーン100の断面図である。
本実施形態のルーフドレーン100は、いわゆるサイフォン式のルーフドレーンである。
【0010】
ルーフドレーン100の下端部には、建築物の内部を通って下方に延びるドレーン管Eが接続されている。ルーフドレーン100は、アンカー14でスラブSに固定されている。
(【0011】以降は省略されています)
この特許をJ-PlatPat(特許庁公式サイト)で参照する
関連特許
積水化学工業株式会社
集合継手
1か月前
積水化学工業株式会社
製管装置
1か月前
積水化学工業株式会社
雨樋システム
27日前
積水化学工業株式会社
配管の接続構造
1か月前
積水化学工業株式会社
更生管の製管装置
1か月前
積水化学工業株式会社
防食用粘着テープ
1か月前
積水化学工業株式会社
太陽電池設置構造
12日前
積水化学工業株式会社
太陽電池設置構造
12日前
積水化学工業株式会社
太陽電池設置構造
12日前
積水化学工業株式会社
基板積層体の製造方法
24日前
積水化学工業株式会社
基板積層体の製造方法
27日前
積水化学工業株式会社
配管構造及びプレハブ配管
1か月前
積水化学工業株式会社
配管構造及びプレハブ配管
1か月前
積水化学工業株式会社
軒樋支持具および雨樋システム
1か月前
積水化学工業株式会社
竪樋支持具および排水システム
27日前
積水化学工業株式会社
太陽電池モジュールの取付構造
12日前
積水化学工業株式会社
マスターバッチ、及びその製造方法
1か月前
積水化学工業株式会社
熱膨張性マイクロカプセル用組成物
26日前
積水化学工業株式会社
粒体、地盤改良材及び地盤改良方法
1か月前
積水化学工業株式会社
ポリオルガノシロキサン、樹脂組成物
3日前
積水化学工業株式会社
超音波トランスデューサ、及び超音波センサ
12日前
積水化学工業株式会社
超音波トランスデューサおよび超音波センサ
12日前
積水化学工業株式会社
継手
17日前
積水化学工業株式会社
継手
24日前
積水化学工業株式会社
熱伝導性シート保持体、及び熱伝導性シートの貼り付け方法
1か月前
積水化学工業株式会社
ガス製造装置
3日前
積水化学工業株式会社
防食用粘着テープ
1か月前
積水化学工業株式会社
施工管理システム
1か月前
積水化学工業株式会社
光ファイバ担持管梱包体および光ファイバ担持管梱包体用の支持部材
19日前
積水化学工業株式会社
集合継手及び配管構造
24日前
積水化学工業株式会社
電気融着継手、配管システム、配管付き電気融着継手、及び配管更生構造
27日前
積水化学工業株式会社
アダプタおよび継手構造
11日前
積水化学工業株式会社
集合継手および継手構造
1か月前
積水化学工業株式会社
多口継手及び配管システム
11日前
積水化学工業株式会社
ドレン部材、軒樋、及び雨樋
17日前
積水化学工業株式会社
還元剤およびガスの製造方法
11日前
続きを見る
他の特許を見る