TOP
|
特許
|
意匠
|
商標
特許ウォッチ
Twitter
他の特許を見る
10個以上の画像は省略されています。
公開番号
2025159183
公報種別
公開特許公報(A)
公開日
2025-10-17
出願番号
2025136888,2024074489
出願日
2025-08-20,2018-09-11
発明の名称
集合継手および継手構造
出願人
積水化学工業株式会社
代理人
個人
,
個人
,
個人
,
個人
主分類
F16L
41/02 20060101AFI20251009BHJP(機械要素または単位;機械または装置の効果的機能を生じ維持するための一般的手段)
要約
【課題】構造の簡素化、製造の容易化を図る。
【解決手段】上部接続管と、下部接続管を備える集合継手であって、上部接続管は、横管接続部と、横管接続部に接続されたブッシュ50と、を備え、ブッシュ50は、本体管51と、区画壁52と、閉塞部53と、パッキンと、偏心リングを有し、本体管51は、横管接続部に嵌合される第1端部と、横管接続部から突出する第2端部を有し、区画壁52は、本体管51内に設けられ、本体管51の中心軸に交差する断面において本体管51内を第1空間S1と第2空間S2とに区画し、閉塞部53は、第1空間S1を閉塞し、パッキンは、第2空間S2の端部内に配置され、偏心リングは、第1空間S1の端部、かつ、本体管51の第2端部に嵌合されている。
【選択図】図4
特許請求の範囲
【請求項1】
上部接続管と、下部接続管を備える集合継手であって、
前記上部接続管は、横管接続部と、前記横管接続部に接続されたブッシュと、を備え、
前記ブッシュは、本体管と、区画壁と、閉塞部と、パッキンと、偏心リングを有し、
前記本体管は、前記横管接続部に嵌合される第1端部と、前記横管接続部から突出する第2端部を有し、
前記区画壁は、前記本体管内に設けられ、前記本体管の中心軸に交差する断面において前記本体管内を第1空間と第2空間とに区画し、
前記閉塞部は、前記第1空間を閉塞し、
前記パッキンは、前記第2空間の端部内に配置され、
前記偏心リングは、前記第1空間の端部、かつ、前記本体管の前記第2端部に嵌合されている、
集合継手。
続きを表示(約 730 文字)
【請求項2】
前記ブッシュは、前記区画壁に設けられた張り出し部を備え、
前記本体管と、前記区画壁と、前記閉塞部と、前記張り出し部は一体成形されている、
請求項1に記載の集合継手。
【請求項3】
前記張り出し部の端部に突出部が設けられている、請求項2に記載の集合継手。
【請求項4】
前記本体管の外面には、前記横管接続部の端面と当接する段差が設けられている、請求項1ないし3のいずれか1項に記載の集合継手。
【請求項5】
前記本体管の前記第2端部は拡径部とされている、請求項1ないし4のいずれか1項に記載の集合継手。
【請求項6】
前記閉塞部は、前記本体管の中心軸に直交する板状に形成されている、請求項1ないし5のいずれか1項に記載の集合継手。
【請求項7】
前記偏心リングは、本体リングと、偏心フランジとを備え、
前記本体リングは、前記本体管の前記第2端部が挿入され、
前記偏心フランジは、前記本体管の前記第2端部が突き当たる、請求項1ないし6のいずれか1項に記載の集合継手。
【請求項8】
前記偏心リングは、本体リングと、偏心フランジとを備え、
前記本体リングには、前記本体管の前記第2端部が挿入され、
前記偏心フランジは、前記パッキンを押さえる、請求項1ないし7のいずれか1項に記載の集合継手。
【請求項9】
第1の縦管と、第2の縦管と、前記第1の縦管と前記第2の縦管とを接続する請求項1ないし8のいずれか1項に記載の集合継手と、前記集合継手に接続された横管と、を備える、継手構造。
発明の詳細な説明
【技術分野】
【0001】
本発明は、集合継手および継手構造に関する。
続きを表示(約 1,400 文字)
【背景技術】
【0002】
従来から、例えば下記特許文献1に記載されているような継手が知られている。
【先行技術文献】
【特許文献】
【0003】
特開2001-208257号公報
【発明の概要】
【発明が解決しようとする課題】
【0004】
ところで、この種の継手には、構造の簡素化、製造の容易化が望まれる。
【0005】
本発明は、前述した事情に鑑みてなされたものであって、構造の簡素化、製造の容易化を図ることを目的とする。
【課題を解決するための手段】
【0006】
前記課題を解決するために、本発明は以下の手段を提案している。
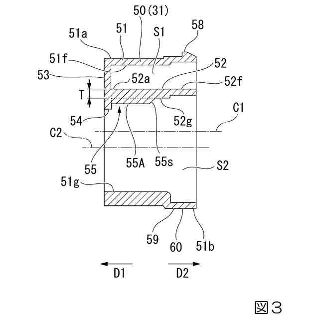
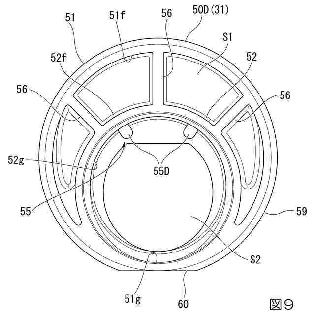
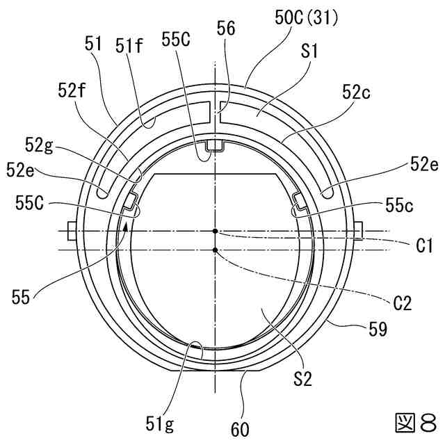
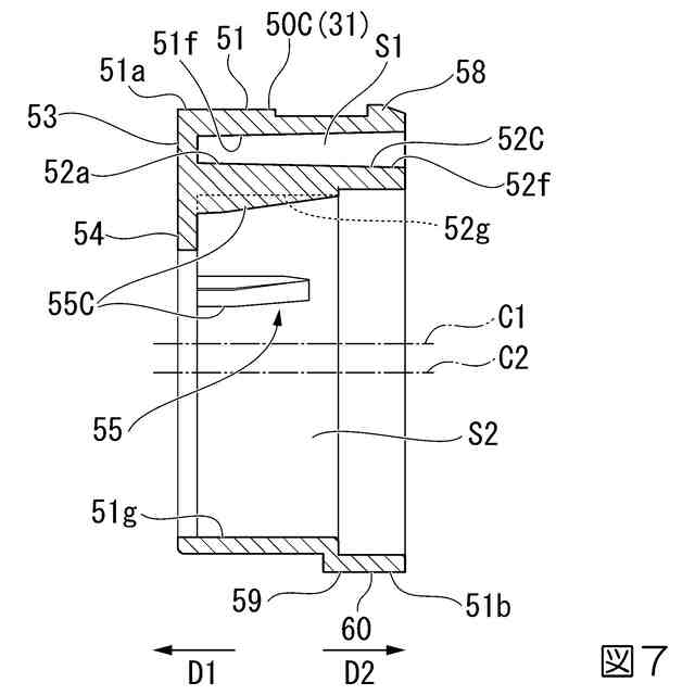
本発明に係るブッシュは、本体管と、前記本体管内に設けられ、前記本体管の中心軸に交差する断面において前記本体管内を第1空間と第2空間とに区画する区画壁と、前記第1空間を閉塞する閉塞部と、前記区画壁から前記第2空間内に張り出す張り出し部と、を備える。
【0007】
ブッシュは、例えば、互いに径が異なる第1の管と第2の管との間に配置され、両者間の径差を調整した上で両者を接続する(なお、ここでの第1の管や第2の管には継手が含まれる)。例えば、本体管を第1の管に挿入し、第1の管よりも径が小さい第2の管を第2空間に挿入することで、第1の管と第2の管とを接続することができる。
このブッシュでは、張り出し部が、区画壁から第2空間内に張り出している。したがって、第2空間に挿入される第2の管の外周面の一部が前記張り出し部に突き当たり、第2の管が第2空間内に保持される。
張り出し部が第2空間内に張り出している。したがって、張り出し部の第2空間内への張り出し寸法を増減させることによって、区画壁の位置や形状を固定した上で、第2空間の横断面積(内径)を増減させることができる。よって、区画壁の位置や形状などについての設計の自由度を確保しつつ、多様なサイズの第2の管に対応した第2空間を形成することができる。
ところで、例えば、ブッシュを金型で製造する場合、第1空間や第2空間の形状(区画壁の形状)に応じて、第1空間や第2空間から金型を抜く方向に制約が生じるおそれがある。この制約のため、区画壁の位置や形状によっては、閉塞部の中心軸方向の位置が制限される。場合によっては、閉塞部を本体管と別部材によって形成し、閉塞部を本体管に後付けする必要が生じる可能性もある。
しかしながら、このブッシュによれば、区画壁の設計の自由度が高められている。したがって、閉塞部と本体管とを一体に成形しつつも、閉塞部の中心軸方向の位置が制限され難く、閉塞部の中心軸方向の位置の自由度を高めることができる。その結果、例えば、閉塞部を、本体管の中心軸方向の端部に配置すること等ができる。これにより、例えば、製造の簡素化を図りつつ、第1空間への外部からの流体の流入を規制することができる。
【0008】
前記閉塞部は、前記本体管の中心軸方向の端部に設けられていてもよい。
【0009】
閉塞部が、本体管の中心軸方向の端部に設けられている。したがって、第1空間に、閉塞部が設けられた側から流体が流れ込むのを抑えることができる。
【0010】
前記張り出し部は、複数の突部を備えていてもよい。
(【0011】以降は省略されています)
この特許をJ-PlatPat(特許庁公式サイト)で参照する
関連特許
積水化学工業株式会社
粘着テープ
5日前
積水化学工業株式会社
粘着テープ
5日前
積水化学工業株式会社
表示素子用封止剤
1日前
積水化学工業株式会社
液晶デバイス用シール剤
1日前
積水化学工業株式会社
表面材及び表面材付き基材
5日前
積水化学工業株式会社
ポリオルガノシロキサン、樹脂組成物
12日前
積水化学工業株式会社
既設管更生方法および既設管更生設備
6日前
積水化学工業株式会社
硬化性樹脂組成物及び表示素子用封止剤
1日前
積水化学工業株式会社
ガス製造装置
12日前
積水化学工業株式会社
ポリビニルアセタール樹脂
5日前
積水化学工業株式会社
ポリビニルアセタール樹脂
5日前
積水化学工業株式会社
ポリビニルアセタール樹脂
5日前
積水化学工業株式会社
ポリビニルアセタール樹脂
5日前
積水化学工業株式会社
ポリビニルアセタール樹脂
5日前
積水化学工業株式会社
ポリビニルアセタール樹脂
1日前
積水化学工業株式会社
ポリビニルアセタール樹脂
5日前
積水化学工業株式会社
ポリビニルアセタール樹脂
5日前
積水化学工業株式会社
ポリビニルアセタール樹脂
5日前
積水化学工業株式会社
ポリビニルアセタール樹脂
5日前
積水化学工業株式会社
ポリビニルアセタール樹脂
5日前
積水化学工業株式会社
軒樋、軒樋システム、及び軒樋梱包体
12日前
積水化学工業株式会社
ウレタン樹脂組成物及びポリウレタンフォーム
5日前
積水化学工業株式会社
ポリビニルアセタール樹脂、ポリビニルアセタール樹脂溶液の製造方法
5日前
積水化学工業株式会社
ポリビニルアセタール樹脂、ポリビニルアセタール樹脂溶液の製造方法
5日前
積水化学工業株式会社
ポリビニルアセタール樹脂、ポリビニルアセタール樹脂溶液の製造方法
5日前
積水化学工業株式会社
ポリオール含有組成物、発泡性ポリウレタン組成物及びポリウレタンフォーム
12日前
個人
留め具
1か月前
個人
鍋虫ねじ
3か月前
個人
回転伝達機構
4か月前
個人
紛体用仕切弁
3か月前
個人
差動歯車用歯形
5か月前
個人
ジョイント
2か月前
個人
給排気装置
2か月前
個人
ナット
2か月前
個人
地震の揺れ回避装置
4か月前
株式会社不二工機
電磁弁
5か月前
続きを見る
他の特許を見る