TOP
|
特許
|
意匠
|
商標
特許ウォッチ
Twitter
他の特許を見る
10個以上の画像は省略されています。
公開番号
2025172229
公報種別
公開特許公報(A)
公開日
2025-11-20
出願番号
2025157241,2021158763
出願日
2025-09-22,2021-09-29
発明の名称
多口継手及び配管システム
出願人
積水化学工業株式会社
代理人
個人
,
個人
,
個人
,
個人
主分類
F16L
41/03 20060101AFI20251113BHJP(機械要素または単位;機械または装置の効果的機能を生じ維持するための一般的手段)
要約
【課題】施工性に優れていながら、火災が発生した際の止水性を確保できるため軽易耐熱試験に合格可能であり、消火配管システムに好適に使用できる多口継手と消火配管システムを提供することを課題とする。
【解決手段】管の一端に装着されたソケットが、シーリング部材を介して挿入される複数の受口を有する多口継手であって、前記複数の受口は、分岐部で連結され、前記分岐部と受口は樹脂で構成され、前記受口は、前記分岐部側から、基端部と、肉薄部と、受口側鍔部と、を有し、前記肉薄部の外径は、前記基端部および前記受口側鍔部の外径よりも小さく、かつ、前記肉薄部の肉厚が5.8mm以上であり、前記受口の内径は、前記基端部から前記肉薄部まではほぼ均一とされていることよりなる。
【選択図】図7
特許請求の範囲
【請求項1】
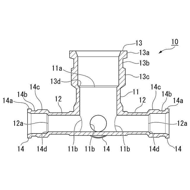
管の一端に装着されたソケットが、シーリング部材を介して挿入される複数の受口を有する多口継手であって、
前記複数の受口は、分岐部で連結され、
前記分岐部と受口は樹脂で構成され、
前記受口は、前記分岐部側から、基端部と、肉薄部と、受口側鍔部と、を有し、
前記肉薄部の外径は、前記基端部および前記受口側鍔部の外径よりも小さく、かつ、前記肉薄部の肉厚が5.8mm以上であり、
前記受口の内径は、前記基端部から前記肉薄部まではほぼ均一とされている、
多口継手。
続きを表示(約 730 文字)
【請求項2】
前記複数の受口が、入側受口と、複数の出側受口とからなる、請求項1に記載の多口継手。
【請求項3】
前記複数の受口と前記分岐部とは、バット融着により接合されて連結されている、請求項1または2に記載の多口継手。
【請求項4】
管と、
請求項1~3のいずれか一項に記載の多口継手と、
前記複数の受口の各々に、シーリング部材を介して挿入された、前記管の一端に装着されたソケットと、
前記管または前記管の先端に装着されたソケットが前記複数の受口の各々から抜けることを防止する固定部材を備え、
前記ソケットは、前記管に挿入される管挿入部と、前記多口継手の受口に挿入される接続部と、前記管挿入部と前記接続部の間の中間部と、が一体とされて構成され、
前記中間部は、ソケット側鍔部と、凸状と、前記ソケット側鍔部および前記凸状の外径よりも小さい外径の環状凹部と、で構成され、
前記接続部は、外面に環状溝が形成され、前記環状溝に前記シーリング部材が嵌められ、
前記固定部材は、前記接続部が前記受口に挿入された状態で、前記肉薄部と前記環状凹部に嵌合されている、
配管システム。
【請求項5】
前記環状溝は、前記接続部の外面に2つ形成され、前記シーリング部材は2つの前記環状溝のそれぞれに設けられ、
2つの前記シーリング部材のうち、1の前記シーリング部材は前記受口の軸方向における前記肉薄部の内面と接する位置に配置され、他の前記シーリング部材は、前記受口の軸方向における前記基端部の内面と接する位置に配置される、
請求項4に記載の配管システム。
発明の詳細な説明
【技術分野】
【0001】
本発明は、多口継手及び配管システムに関する。さらに詳しくは、スプリンクラー消火配管に適した多口継手及び配管システムに関する。
続きを表示(約 3,000 文字)
【背景技術】
【0002】
スプリンクラーは、火災発生時に被害が拡大しやすい場所や消火活動が困難な場所等に設置が義務付けられている消火設備である。スプリンクラー消火配管システムでは、給水用の主管から分岐管を通じて多数のスプリンクラーヘッドに水を分配できるようになっている。
【0003】
消火配管システムで使用される主管と分岐管との接続には、種々の継手が使用されている。
例えば、非特許文献1には、管との接触面に電熱線が埋設され、電気融着により管と一体化される合成樹脂管用多口継手が開示されている。また、特許文献1には、シーリング部材を用いてワンタッチで接続が行える多口継手が記載されている。このワンタッチ継手等のメカニカル継手は、止水性を確保するためにシーリング部材を使用している。
【先行技術文献】
【特許文献】
【0004】
特許第4839062号公報
【非特許文献】
【0005】
”三井消火配管システム エルメックス-SP”、[online]、2020年6月、三井化学資産株式会社、[令和3年6月17日検索]、インターネット<URL:https://www.mitsui-sanshi.co.jp/common/pdf/system/d40_4sp01/4sp01_catalog1.pdf>
【発明の概要】
【発明が解決しようとする課題】
【0006】
非特許文献1に開示された合成樹脂管用多口継手は電気融着によって管と一体化されるため、シーリング部材が不要で、火災が発生した際には管か継手が破壊されない限り漏水することはない。そのため、火災を想定した軽易耐熱試験(「合成樹脂製の管及び管継手の基準」(平成十三年三月三十日消防庁告示第十九号))に合格する配管システムの構築も可能である。しかし、融着工程は長時間かつ複雑であるため、施工性が悪い。
【0007】
これに対して、特許文献1の多口継手は管をワンタッチで接続することができるので施工が容易である。
しかし、火災が発生した際、多口継手構成する樹脂が熱により膨張してシーリング部材を加圧する力が弱まるため、止水性を確保するのに必要なシーリング圧縮率を維持しにくい。
【0008】
そのため、ワンタッチ継手等のメカニカル継手は、火災でスプリンクラーが正常に作動する前に漏水しやすく、軽易耐熱試験に合格できないため、限られた条件においてしか使用できなかった。
なお、多口継手を構成する樹脂が熱膨張することを考慮して、シーリング部材の圧縮率が高くなるように設計することも考えられるが、その場合、多口継手に管を挿入する際に強い力で挿入しなければならず、施工性が低下してしまう。
【0009】
本発明は上記事情に鑑み、施工性に優れていながら、火災が発生した際の止水性を確保できるため軽易耐熱試験に合格可能であり、消火配管システムに好適に使用できる多口継手と消火配管システムを提供することを課題とする。
【課題を解決するための手段】
【0010】
上記の課題を達成するために、本発明は以下の構成を採用した。
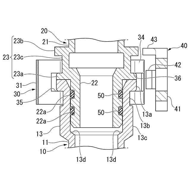
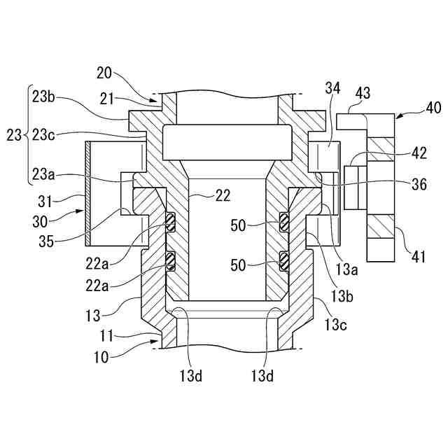
[1]管または管の一端に装着されたソケットが、シーリング部材を介して挿入される複数の受口を有する多口継手であって、
プロピレンとエチレンがランダム重合した樹脂で構成されており、
前記プロピレンに基づく単位と前記エチレンに基づく単位の合計に対する前記プロピレンに基づく単位の割合[P/P+E]が、93~99質量%である、ことを特徴とする多口継手。
[2]前記複数の受口が、入側受口と、複数の出側受口とからなる、[1]に記載の多口継手。
[3]前記樹脂の熱流束示差走査熱量測定による融点が135℃以上である、[1]又は[2]に記載の多口継手。
[4]前記複数の受口は、最小肉厚が5.8mm以上である、[1]~[3]のいずれか一項に記載の多口継手。
[5][1]~[4]のいずれか一項に記載の多口継手と、前記複数の受口の各々に、シーリング部材を介して挿入された、管または管の一端に装着されたソケットを備える配管システム。
[6]前記管がいずれも樹脂製である、[5]に記載の配管システム。
[7]さらに、前記管または前記管の先端に装着されたソケットが前記複数の受口の各々から抜けることを防止する固定部材を備える、[5]又は[6]に記載の配管システム。
[8]消火配管システムである、[5]~[7]のいずれか一項に記載の配管システム。
また、本発明は以下の態様を有する。
<1>
管の一端に装着されたソケットが、シーリング部材を介して挿入される複数の受口を有する多口継手であって、
前記複数の受口は、分岐部で連結され、
前記分岐部と受口は樹脂で構成され、
前記受口は、前記分岐部側から、基端部と、肉薄部と、受口側鍔部と、を有し、
前記肉薄部の外径は、前記基端部および前記受口側鍔部の外径よりも小さく、かつ、前記肉薄部の肉厚が5.8mm以上であり、
前記受口の内径は、前記基端部から前記肉薄部まではほぼ均一とされている、
多口継手。
<2>
前記複数の受口が、入側受口と、複数の出側受口とからなる、<1>に記載の多口継手。
<3>
前記複数の受口と前記分岐部とは、バット融着により接合されて連結されている、<1>または<2>に記載の多口継手。
<4>
管と、
<1>~<3>のいずれかに記載の多口継手と、
前記複数の受口の各々に、シーリング部材を介して挿入された、前記管の一端に装着されたソケットと、
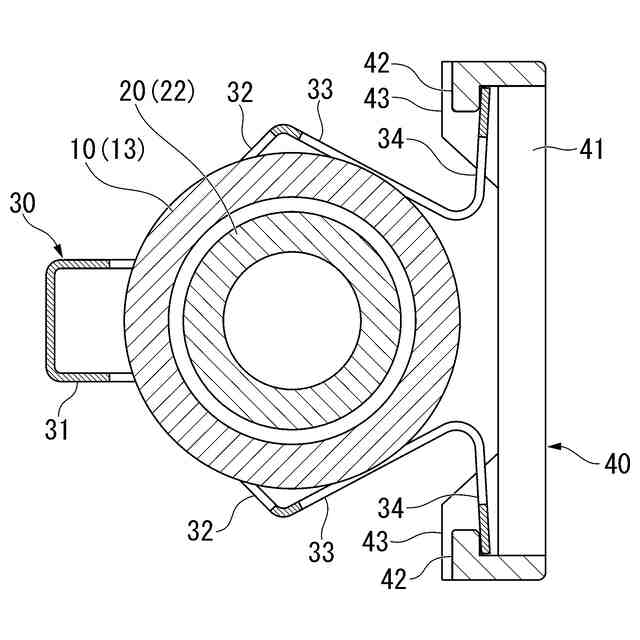
前記管または前記管の先端に装着されたソケットが前記複数の受口の各々から抜けることを防止する固定部材を備え、
前記ソケットは、前記管に挿入される管挿入部と、前記多口継手の受口に挿入される接続部と、前記管挿入部と前記接続部の間の中間部と、が一体とされて構成され、
前記中間部は、ソケット側鍔部と、凸状と、前記ソケット側鍔部および前記凸状の外径よりも小さい外径の環状凹部と、で構成され、
前記接続部は、外面に環状溝が形成され、前記環状溝に前記シーリング部材が嵌められ、
前記固定部材は、前記接続部が前記受口に挿入された状態で、前記肉薄部と前記環状凹部に嵌合されている、
配管システム。
<5>
前記環状溝は、前記接続部の外面に2つ形成され、前記シーリング部材は2つの前記環状溝のそれぞれに設けられ、
2つの前記シーリング部材のうち、1の前記シーリング部材は前記受口の軸方向における前記肉薄部の内面と接する位置に配置され、他の前記シーリング部材は、前記受口の軸方向における前記基端部の内面と接する位置に配置される、
<4>に記載の配管システム。
【発明の効果】
(【0011】以降は省略されています)
この特許をJ-PlatPat(特許庁公式サイト)で参照する
関連特許
積水化学工業株式会社
雨樋システム
20日前
積水化学工業株式会社
太陽電池設置構造
5日前
積水化学工業株式会社
太陽電池設置構造
5日前
積水化学工業株式会社
太陽電池設置構造
5日前
積水化学工業株式会社
基板積層体の製造方法
17日前
積水化学工業株式会社
基板積層体の製造方法
20日前
積水化学工業株式会社
太陽電池モジュールの取付構造
5日前
積水化学工業株式会社
竪樋支持具および排水システム
20日前
積水化学工業株式会社
熱膨張性マイクロカプセル用組成物
19日前
積水化学工業株式会社
超音波トランスデューサおよび超音波センサ
5日前
積水化学工業株式会社
超音波トランスデューサ、及び超音波センサ
5日前
積水化学工業株式会社
継手
10日前
積水化学工業株式会社
継手
17日前
積水化学工業株式会社
施工管理システム
25日前
積水化学工業株式会社
防食用粘着テープ
1か月前
積水化学工業株式会社
光ファイバ担持管梱包体および光ファイバ担持管梱包体用の支持部材
12日前
積水化学工業株式会社
集合継手及び配管構造
17日前
積水化学工業株式会社
アダプタおよび継手構造
4日前
積水化学工業株式会社
電気融着継手、配管システム、配管付き電気融着継手、及び配管更生構造
20日前
積水化学工業株式会社
多口継手及び配管システム
4日前
積水化学工業株式会社
ドレン部材、軒樋、及び雨樋
10日前
積水化学工業株式会社
還元剤およびガスの製造方法
4日前
積水化学工業株式会社
雨樋用曲がり配管及び雨樋システム
17日前
積水化学工業株式会社
導電性粒子、ソケット、導電材料及び接続構造体
1か月前
積水化学工業株式会社
補強用接着シートおよびその巻回体並びに風力発電用ブレードの補修方法および風力発電用ブレード
26日前
積水化学工業株式会社
区画貫通処理構造、区画貫通処理材、及び区画貫通処理構造の施工方法
25日前
積水化学工業株式会社
ポリオール含有組成物、発泡性ウレタン樹脂組成物、及びポリウレタン発泡体
1か月前
積水化学工業株式会社
調光素子用シール剤、硬化性樹脂組成物の調光素子用シール剤としての使用、調光素子、及び、合わせガラス
27日前
個人
留め具
1か月前
個人
鍋虫ねじ
3か月前
個人
回転伝達機構
3か月前
個人
紛体用仕切弁
3か月前
個人
ホース保持具
7か月前
個人
差動歯車用歯形
5か月前
個人
トーションバー
7か月前
個人
給排気装置
1か月前
続きを見る
他の特許を見る