TOP
|
特許
|
意匠
|
商標
特許ウォッチ
Twitter
他の特許を見る
10個以上の画像は省略されています。
公開番号
2025147905
公報種別
公開特許公報(A)
公開日
2025-10-07
出願番号
2024048410
出願日
2024-03-25
発明の名称
螺旋管の製管装置
出願人
積水化学工業株式会社
代理人
弁理士法人湧泉特許事務所
主分類
B29C
63/32 20060101AFI20250930BHJP(プラスチックの加工;可塑状態の物質の加工一般)
要約
【課題】製管装置によって帯状部材から螺旋管を製管する際に、製管装置の駆動ローラの回転駆動によって帯状部材が損傷を受けるのを防止する。
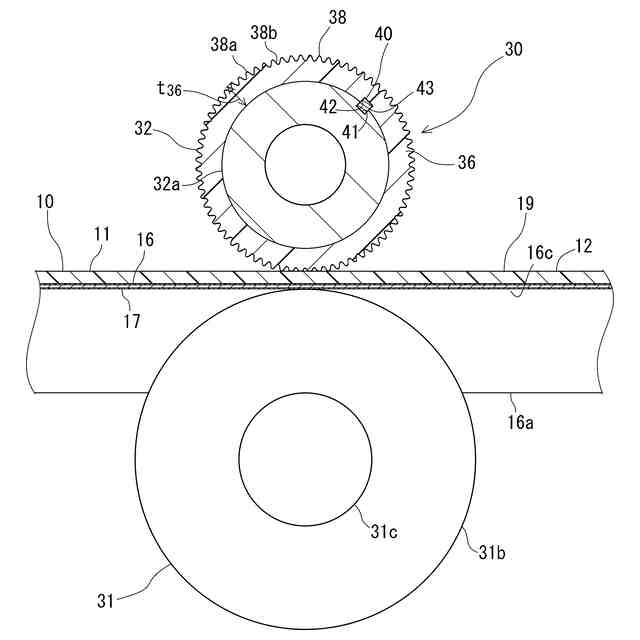
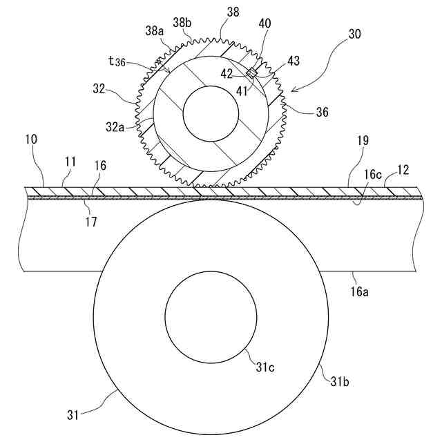
【解決手段】製管装置20は、帯状部材10における先行して製管された先行管部9の管端部9eに続く未製管の後続帯部19の外周側部と接するアウターローラ31と、後続帯部19の内周側面と接するインナーローラ32を含む。これらローラ31,32によって後続帯部19を挟み付ける。駆動モータ33によって、アウターローラ31及びインナーローラ32の少なくとも一方からなる駆動ローラ32を回転駆動させる。駆動ローラ32は、駆動モータ33とトルク伝達可能に接続された金属からなるローラ本体32aと、ローラ本体32aの外周に被さる樹脂又はゴムからなる環状のローラ外周部材36を含む。
【選択図】 図5
特許請求の範囲
【請求項1】
螺旋状に巻回された帯状部材の一周違いの対向する縁部どうしを嵌合させることによって螺旋管を製管する製管装置であって、
前記帯状部材の外周側部と接するアウターローラと、
前記帯状部材の内周側面と接し、前記アウターローラと協働して前記帯状部材を挟み付けるインナーローラと、
前記アウターローラ及びインナーローラの少なくとも一方からなる駆動ローラを回転駆動させる駆動モータと、
を備え、前記駆動ローラが、
前記駆動モータとトルク伝達可能に接続された金属からなるローラ本体と、
前記ローラ本体の外周に被さる樹脂又はゴムからなる環状のローラ外周部材と、
を含むことを特徴とする螺旋管の製管装置。
続きを表示(約 400 文字)
【請求項2】
前記アウターローラが前記駆動モータと非接続の従動ローラであり、前記インナーローラが前記駆動ローラである請求項1に記載の製管装置。
【請求項3】
前記ローラ外周部材の外周面には凹凸パターンが形成されている請求項1に記載の製管装置。
【請求項4】
前記凹凸パターンが、ローレットである請求項3に記載の製管装置。
【請求項5】
前記ローラ外周部材が、回り止め手段によって前記ローラ本体に対して回り止めされている請求項1~4の何れか1項に記載の製管装置。
【請求項6】
前記アウターローラが、ローラシャフトと、該ローラシャフトの外周に互いに離れて設けられた複数の円盤状のローラ部とを有し、隣接するローラ部どうし間のローラシャフトの外周には1又は複数の環状スペーサが設けられている請求項1~4の何れか1項に記載の製管装置。
発明の詳細な説明
【技術分野】
【0001】
本発明は、帯状部材から螺旋管を製管する製管装置に関し、特に、老朽化した既設管の更生に適した螺旋管製管装置に関する。
続きを表示(約 2,100 文字)
【背景技術】
【0002】
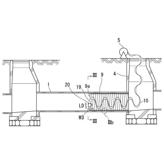
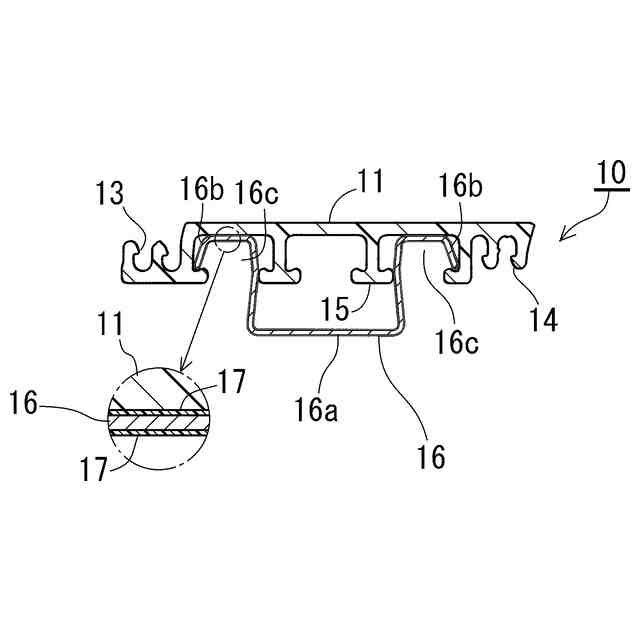
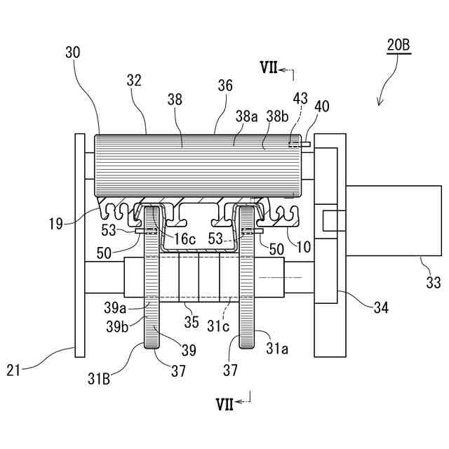
老朽化した下水管などの既設管の内周に更生管をライニングすることによって、既設管を更生させる方法は公知である(特許文献1、2等参照)。更生管は、例えば長尺の帯状部材(プロファイル)を螺旋状に巻回してなる螺旋管によって構成されている。帯状部材としては、例えば合成樹脂製の帯本体の外周側部(製管されたとき螺旋管(更生管)の外周側を向く側部)にスチール製の補強帯材を設けたものが知られている。さらに、補強帯材の表面が樹脂層によって被覆された帯状部材が知られている。
【0003】
更生管(螺旋管)は、製管機によって製管される。この種の製管機は、帯状部材の外周側部と接するアウターローラと、帯状部材の内周側面と接するインナーローラと、アウターローラに接続された駆動モータを備えている。通常、アウターローラの外周面には、ローレットなどの凹凸パターンが形成されている。アウターローラ及びインナーローラによって帯状部材における未製管の後続帯部を挟み付け、かつ駆動モータによる回転駆動によって、後続帯部を先行して製管済の先行管部の管端部へ送り込む。これによって、後続帯部が先行管部に組み込まれて新たな管端部となり、螺旋管が延伸製管される。
【先行技術文献】
【特許文献】
【0004】
特開2021-053842号公報
特開2022-034908号公報
【発明の概要】
【発明が解決しようとする課題】
【0005】
この種の製管装置においては、アウターローラ等の駆動ローラの回転駆動によって帯状部材が損傷を受けることがあった。例えば、被覆樹脂層を含む補強帯材付きの帯状部材においては、被覆樹脂層が削れることがあった。そうすると、アウターローラが空転して製管が停止する等の施工トラブルが起きることがあった。また、補強帯材のスチールがむき出しになり、錆が発生することがあった。
本発明は、かかる事情に鑑み、製管装置によって帯状部材から螺旋管を製管する際に、駆動ローラの回転駆動によって帯状部材が損傷を受けるのを防止することを目的とする。
【課題を解決するための手段】
【0006】
前記課題を解決するため、本発明は、螺旋状に巻回された帯状部材の一周違いの対向する縁部どうしを嵌合させることによって螺旋管を製管する製管装置であって、
前記帯状部材の外周側部と接するアウターローラと、
前記帯状部材の内周側面と接し、前記アウターローラと協働して前記帯状部材を挟み付けるインナーローラと、
前記アウターローラ及びインナーローラの少なくとも一方からなる駆動ローラを回転駆動させる駆動モータと、
を備え、前記駆動ローラが、
前記駆動モータとトルク伝達可能に接続された金属からなるローラ本体と、
前記ローラ本体の外周に被さる樹脂又はゴムからなる環状のローラ外周部材と、
を含むことを特徴とする。
【0007】
当該製管装置においては、駆動モータの回転トルクが、アウターローラ及びインナーローラの少なくとも1つからなる駆動ローラに伝達されて、駆動ローラが回転駆動される。これによって、螺旋状に巻回された帯状部材の一周違いの対向する縁部どうしが嵌合され、螺旋管の製管が進む。
アウターローラ及びインナーローラのうち駆動ローラにおいては、樹脂又はゴムからなるローラ外周部材が帯状部材と接する。金属からなるローラ本体が帯状部材と直接接触することはない。したがって、駆動ローラによる帯状部材の損傷を抑制できる。
アウターローラ及びインナーローラのうち駆動ローラと非接続の従動ローラは、帯状部材の送りに伴って従動回転される。したがって、従動ローラの金属部が帯状部材と接していたとしても、帯状部材が損傷するのを抑制できる。
【0008】
好ましくは、前記アウターローラが前記駆動モータと非接続の従動ローラであり、前記インナーローラが前記駆動ローラである。
駆動ローラであるインナーローラの外周部が、樹脂又はゴム製のローラ外周部材によって構成されていることで、帯状部材の内周側面が損傷するのを抑制できる。ひいては、更生管の内周面の損傷を抑制できる。
【0009】
好ましくは、前記ローラ外周部材の外周面には凹凸パターンが形成されている。
これによって、ローラ外周部材ひいては駆動ローラの外周面と帯状部材との接触面積を増大させることがでる。したがって、帯状部材の損傷を確実に防止できる。また、駆動ローラの駆動力を帯状部材に確実に伝達でき、螺旋管の製管を確実に行なうことができる。言い換えると、駆動力伝達のためにアウターローラ及びインナーローラによって帯状部材を強く挟み込む必要がないから、帯状部材の損傷を一層確実に防止できる。
【0010】
好ましくは、前記凹凸パターンは、ローレットである。ローレットとしては、平目ローレット、斜めローレット、綾目ローレット等が挙げられる。
(【0011】以降は省略されています)
この特許をJ-PlatPat(特許庁公式サイト)で参照する
関連特許
積水化学工業株式会社
雨樋システム
11日前
積水化学工業株式会社
配管の接続構造
24日前
積水化学工業株式会社
基板積層体の製造方法
8日前
積水化学工業株式会社
基板積層体の製造方法
11日前
積水化学工業株式会社
竪樋支持具および排水システム
11日前
積水化学工業株式会社
熱膨張性マイクロカプセル用組成物
10日前
積水化学工業株式会社
継手
8日前
積水化学工業株式会社
継手
1日前
積水化学工業株式会社
施工管理システム
16日前
積水化学工業株式会社
防食用粘着テープ
22日前
積水化学工業株式会社
光ファイバ担持管梱包体および光ファイバ担持管梱包体用の支持部材
3日前
積水化学工業株式会社
集合継手及び配管構造
8日前
積水化学工業株式会社
電気融着継手、配管システム、配管付き電気融着継手、及び配管更生構造
11日前
積水化学工業株式会社
ドレン部材、軒樋、及び雨樋
1日前
積水化学工業株式会社
雨樋用曲がり配管及び雨樋システム
8日前
積水化学工業株式会社
導電性粒子、ソケット、導電材料及び接続構造体
22日前
積水化学工業株式会社
補強用接着シートおよびその巻回体並びに風力発電用ブレードの補修方法および風力発電用ブレード
17日前
積水化学工業株式会社
区画貫通処理構造、区画貫通処理材、及び区画貫通処理構造の施工方法
16日前
積水化学工業株式会社
ポリオール含有組成物、発泡性ウレタン樹脂組成物、及びポリウレタン発泡体
22日前
積水化学工業株式会社
調光素子用シール剤、硬化性樹脂組成物の調光素子用シール剤としての使用、調光素子、及び、合わせガラス
18日前
個人
気泡緩衝材減容装置
1か月前
東レ株式会社
吹出しノズル
11か月前
豊田鉄工株式会社
金型
3か月前
シーメット株式会社
光造形装置
10か月前
CKD株式会社
型用台車
11か月前
グンゼ株式会社
ピン
11か月前
東レ株式会社
フィルムの製造方法
7か月前
東レ株式会社
フィルムの製造方法
4か月前
東レ株式会社
フィルムの製造方法
4か月前
株式会社エフピコ
賦形シート
10日前
日機装株式会社
加圧システム
6か月前
東レ株式会社
複合成形体の製造方法
1か月前
東レ株式会社
フィルムの製造方法。
3か月前
株式会社FTS
ロッド
9か月前
個人
樹脂可塑化方法及び装置
10か月前
株式会社カワタ
計量混合装置
5か月前
続きを見る
他の特許を見る