TOP
|
特許
|
意匠
|
商標
特許ウォッチ
Twitter
他の特許を見る
公開番号
2025181765
公報種別
公開特許公報(A)
公開日
2025-12-11
出願番号
2025088638
出願日
2025-05-28
発明の名称
太陽光発電シートの設置構造
出願人
積水化学工業株式会社
代理人
弁理士法人WisePlus
主分類
E04D
13/18 20180101AFI20251204BHJP(建築物)
要約
【課題】太陽光発電シートの変形を低減して太陽光発電シートの破損を抑えることができる太陽光発電シートの設置構造を提供する。
【解決手段】2つ以上の凸部を有し、各前記凸部が互いに平行となるように配置された設置面と、前記凸部間を横断するように配置される太陽光発電シートと、前記太陽光発電シートを前記凸部に固定する固定部材と、前記太陽光発電シートの前記凸部を横断する少なくとも1つの端部において、前記太陽光発電シート上から平面視した際に前記固定部材と重複する空間に配置される充填部材と、を備える太陽光発電シートの設置構造。
【選択図】図1
特許請求の範囲
【請求項1】
2つ以上の凸部を有し、各前記凸部が互いに平行となるように配置された設置面と、
前記凸部間を横断するように配置される太陽光発電シートと、
前記太陽光発電シートを前記凸部に固定する固定部材と、
前記太陽光発電シートの前記凸部を横断する少なくとも1つの端部において、前記太陽光発電シート上から平面視した際に前記固定部材と重複する空間に配置される充填部材と、
を備えることを特徴とする太陽光発電シートの設置構造。
続きを表示(約 850 文字)
【請求項2】
前記充填部材は、クリップ状充填部材であることを特徴とする請求項1記載の太陽光発電シートの設置構造。
【請求項3】
前記充填部材は、キャップ状充填部材であることを特徴とする請求項1記載の太陽光発電シートの設置構造。
【請求項4】
前記充填部材は、充填剤であることを特徴とする請求項1記載の太陽光発電シートの設置構造。
【請求項5】
前記充填部材は、縦弾性係数が1000MPa以上であることを特徴とする請求項2記載の太陽光発電シートの設置構造。
【請求項6】
前記充填剤は、硬化前の40℃における粘度が1000Pa・s以上2500Pa・s以下であることを特徴とする請求項4記載の太陽光発電シートの設置構造。
【請求項7】
前記凸部は平坦部を有し、前記太陽光発電シートは、前記太陽光発電シートの前記凸部を横断する少なくとも1つの端部において、前記太陽光発電シート上から平面視した際に前記固定部材と重複する部分で前記平坦部と接着していることを特徴とする請求項1又は2記載の太陽光発電シートの設置構造。
【請求項8】
前記設置面は、勾配を有し、前記勾配の勾配方向は前記凸部の伸長方向と平行であることを特徴とする請求項1又は2記載の太陽光発電シートの設置構造。
【請求項9】
前記勾配を有する前記設置面に複数の前記太陽光発電シートが配置されており、前記充填部材は、前記凸部間を横断する端部のうち最も前記勾配の下り側に位置する端部に少なくとも配置されることを特徴とする請求項8記載の太陽光発電シートの設置構造。
【請求項10】
前記勾配を有する前記設置面に複数の前記太陽光発電シートが配置されており、前記充填部材は、前記凸部間を横断する端部のうち最も前記勾配の上り側に位置する端部に少なくとも配置されることを特徴とする請求項9記載の太陽光発電シートの設置構造。
発明の詳細な説明
【技術分野】
【0001】
本発明は、太陽光発電シートの設置構造に関する。
続きを表示(約 3,600 文字)
【背景技術】
【0002】
従来から太陽電池としてシリコン半導体からなるリジットな太陽電池パネルが広く用いられている。しかしながら、従来の太陽電池パネルはある程度の重量を有するため、一部の耐荷重の低い構造物には設置不可能であったり、また、設置できる設置面であっても耐荷重が低い部位には設置できなかったりするため、設置面の面積を有効活用できないという問題があった。そこで、近年、ポリイミド、ポリエステル系の耐熱高分子材料や金属箔を基材とするフレキシブルな太陽電池が注目されるようになってきている。フレキシブル太陽電池は、薄型化や軽量化による運搬、施工の容易さや、衝撃に強い等の利点があり、フレキシブル太陽電池を用いた太陽光発電シートは、耐荷重の低い設置面にも設置することができ、凹凸を有する設置面であっても設置面に沿って設置することが可能である。(例えば、特許文献1)
【先行技術文献】
【特許文献】
【0003】
国際公開第2023/182435号
【発明の概要】
【発明が解決しようとする課題】
【0004】
凹凸を有する設置面に太陽光発電シートを設置する場合、特許文献1のように設置面の凹凸に沿って太陽光発電シートを設置する方法は、発電面積をできるだけ大きくするという観点からは有効である。しかしながら、設置面の凹凸に沿った太陽光発電シートの設置方法は、発電面積は大きくなるものの、太陽光発電シートの交換等のメンテナンス性に劣るという問題があった。通常、太陽光発電シートの設置面となる建築材料や構造物は太陽光発電シートよりも長寿命であるため、寿命となった太陽光発電シートを交換することが想定される。この際、凹凸に沿って太陽光発電シートが設置されていると、交換の作業が煩雑になり、メンテナンス性が低下する。そこで、メンテナンスを容易にするために凹部をまたぐように太陽光発電シートを設置する方法が検討されている。しかしながら、凹部をまたぐように太陽光発電シートを設置すると、太陽光発電シートと凹部が成す空間に風が吹き込んだ際に太陽光発電シートのたわみ、振動といった変形が生じ、太陽光発電シートの破損、飛散、配線の切断が起こることがあるという問題があった。特に太陽光発電シートは、他のシートと異なり破損が起こった際に漏電等が生じることによる危険度が高く、また、破損が起こらない程度の変形であっても当たる光の量が変わって発電量に影響が出ることから局所的に発電に負荷が生じ太陽光発電モジュールの寿命が短くなる等、変形の問題がより深刻になっている。
【0005】
本発明は、太陽光発電シートの変形を低減して太陽光発電シートの破損を抑えることができる太陽光発電シートの設置構造を提供することを目的とする。
【課題を解決するための手段】
【0006】
本発明は以下の開示1~10を含む。以下、本発明について詳述する。
[開示1]
2つ以上の凸部を有し、各前記凸部が互いに平行となるように配置された設置面と、
前記凸部間を横断するように配置される太陽光発電シートと、
前記太陽光発電シートを前記凸部に固定する固定部材と、
前記太陽光発電シートの前記凸部を横断する少なくとも1つの端部において、前記太陽光発電シート上から平面視した際に前記固定部材と重複する空間に配置される充填部材と、
を備えることを特徴とする太陽光発電シートの設置構造。
[開示2]
前記充填部材は、クリップ状充填部材であることを特徴とする開示1記載の太陽光発電シートの設置構造。
[開示3]
前記充填部材は、キャップ状充填部材であることを特徴とする開示1記載の太陽光発電シートの設置構造。
[開示4]
前記充填部材は、充填剤であることを特徴とする開示1記載の太陽光発電シートの設置構造。
[開示5]
前記充填部材は、縦弾性係数が1000MPa以上であることを特徴とする開示2又は3記載の太陽光発電シートの設置構造。
[開示6]
前記充填剤は、硬化前の40℃における粘度が1000Pa・s以上2500Pa・s以下であることを特徴とする開示4記載の太陽光発電シートの設置構造。
[開示7]
前記凸部は平坦部を有し、前記太陽光発電シートは、前記太陽光発電シートの前記凸部を横断する少なくとも1つの端部において、前記太陽光発電シート上から平面視した際に前記固定部材と重複する部分で前記平坦部と接着していることを特徴とする開示1~6のいずれかに記載の太陽光発電シートの設置構造。
[開示8]
前記設置面は、勾配を有し、前記勾配の勾配方向は前記凸部の伸長方向と平行であることを特徴とする開示1~7のいずれかに記載の太陽光発電シートの設置構造。
[開示9]
前記勾配を有する前記設置面に複数の前記太陽光発電シートが配置されており、前記充填部材は、複数の前記太陽光発電シートの前記凸部間を横断する端部のうち最も前記勾配の下り側に位置する端部に少なくとも配置されることを特徴とする開示8記載の太陽光発電シートの設置構造。
[開示10]
前記勾配を有する前記設置面に複数の前記太陽光発電シートが配置されており、前記充填部材は、複数の前記太陽光発電シートの前記凸部間を横断する端部のうち最も前記勾配の上り側に位置する端部に少なくとも配置されることを特徴とする開示9記載の太陽光発電シートの設置構造。
【発明の効果】
【0007】
本発明によれば、太陽光発電シートの変形を低減して太陽光発電シートの破損を抑えることができる太陽光発電シートの設置構造を提供することができる。
【図面の簡単な説明】
【0008】
本発明の太陽光発電シートの設置構造の一例を模式的に表した斜視図である。
本発明の太陽光発電シートの設置構造の一例を模式的に表した断面図である。
本発明の太陽光発電シートの設置構造の更なる一例を模式的に表した斜視図である。
本発明の太陽光発電シートの設置構造の更なる一例を模式的に表した断面図である。
本発明の太陽光発電シートの設置構造の更なる一例を模式的に表した斜視図である。
本発明の太陽光発電シートの設置構造の更なる一例を模式的に表した断面図である。
本発明の太陽光発電シートの設置構造の更なる一例を模式的に表した斜視図である。
本発明の太陽光発電シートの設置構造の更なる一例を模式的に表した断面図である。
【発明を実施するための形態】
【0009】
以下に具体的な態様を挙げて本発明を更に詳しく説明するが、本発明はこれらの態様のみに限定されない。
【0010】
(実施態様1)
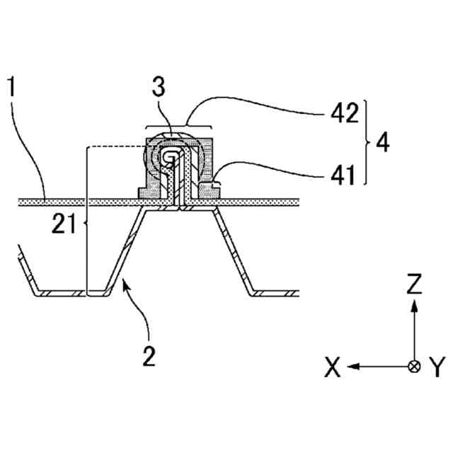
図1に本発明の太陽光発電シートの設置構造の一例を模式的に表した斜視図を、図2に本発明の太陽光発電シートの設置構造の一例を模式的に表した断面図を示す。図1、2では図の右上から左下へ下る勾配を有するハゼ締め型の折板屋根に太陽光発電シートを設置した例を表している。
実施態様1では、1方向に連続する2つ以上の凸部21が互いに平行となるように配置された設置面(折板屋根)2上に太陽光発電シート1が凸部21間を横断するように配置されている。また、太陽光発電シート1は設置面2の凸部21上端部(ハゼ部)で太陽光発電シート1を挟み込んで固定する固定部材3によって固定されている。更に、太陽光発電シート1の凸部21を横断する少なくとも1つの端部(図1ではY軸手前側の辺)において、太陽光発電シート1上から平面視した際に固定部材3と重複する空間(以下、固定部材下部の空間ともいう)、言い換えれば、図2のように太陽光発電シート1が設置された状態の断面を見た際に、固定部材3の幅が最大となる端部から引いた垂線と、固定部材3と、太陽光発電シート1とによって囲まれた空間に配置される充填部材が配置されている。実施態様1では、充填部材がクリップ状充填部材4であり、クリップ状充填部材4は固定部材下部の空間を埋める2つの足部41が凸部21と干渉しないような形状の接続部42でつながった形状となっている。クリップ状充填部材4の足部41が太陽光発電シート1の端部における固定部材下部の空間を挟んで埋めつつ、太陽光発電シート1を凸部21により強固に固定している。
(【0011】以降は省略されています)
この特許をJ-PlatPat(特許庁公式サイト)で参照する
関連特許
積水化学工業株式会社
粘着テープ
7日前
積水化学工業株式会社
粘着テープ
1日前
積水化学工業株式会社
粘着テープ
1日前
積水化学工業株式会社
鉄道用枕木
1日前
積水化学工業株式会社
粘着テープ
7日前
積水化学工業株式会社
太陽電池設置構造
23日前
積水化学工業株式会社
表示素子用封止剤
3日前
積水化学工業株式会社
太陽電池設置構造
23日前
積水化学工業株式会社
太陽電池設置構造
23日前
積水化学工業株式会社
基板積層体の製造方法
1か月前
積水化学工業株式会社
基板積層体の製造方法
1か月前
積水化学工業株式会社
両面不燃面材付きパネル
1日前
積水化学工業株式会社
液晶デバイス用シール剤
3日前
積水化学工業株式会社
表面材及び表面材付き基材
7日前
積水化学工業株式会社
太陽光発電シートの設置構造
1日前
積水化学工業株式会社
太陽光発電シートの設置構造
1日前
積水化学工業株式会社
竪樋支持具および排水システム
1か月前
積水化学工業株式会社
太陽電池モジュールの取付構造
23日前
積水化学工業株式会社
熱膨張性マイクロカプセル用組成物
1か月前
積水化学工業株式会社
ポリオルガノシロキサン、樹脂組成物
14日前
積水化学工業株式会社
既設管更生方法および既設管更生設備
8日前
積水化学工業株式会社
硬化性樹脂組成物及び表示素子用封止剤
3日前
積水化学工業株式会社
超音波トランスデューサおよび超音波センサ
23日前
積水化学工業株式会社
超音波トランスデューサ、及び超音波センサ
23日前
積水化学工業株式会社
継手
28日前
積水化学工業株式会社
継手
1か月前
積水化学工業株式会社
塩化ビニル系樹脂組成物及び塩化ビニル系樹脂成形体
1日前
積水化学工業株式会社
ガス製造装置
14日前
積水化学工業株式会社
区画貫通処理構造
1日前
積水化学工業株式会社
光ファイバ担持管梱包体および光ファイバ担持管梱包体用の支持部材
1か月前
積水化学工業株式会社
集合継手及び配管構造
1か月前
積水化学工業株式会社
電気融着継手、配管システム、配管付き電気融着継手、及び配管更生構造
1か月前
積水化学工業株式会社
アダプタおよび継手構造
22日前
積水化学工業株式会社
多口継手及び配管システム
22日前
積水化学工業株式会社
ポリビニルアセタール樹脂
今日
積水化学工業株式会社
ポリビニルアセタール樹脂
7日前
続きを見る
他の特許を見る