TOP
|
特許
|
意匠
|
商標
特許ウォッチ
Twitter
他の特許を見る
公開番号
2025180022
公報種別
公開特許公報(A)
公開日
2025-12-11
出願番号
2024087069
出願日
2024-05-29
発明の名称
鉄道用枕木
出願人
積水化学工業株式会社
代理人
個人
,
個人
,
個人
,
個人
主分類
E01B
3/44 20060101AFI20251204BHJP(道路,鉄道または橋りょうの建設)
要約
【課題】アップリフトを防止できる鉄道用枕木を提供する。
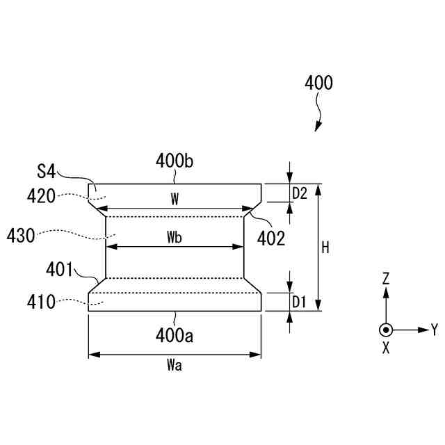
【解決手段】バラストの上に配置される鉄道用枕木100であって、鉄道用枕木100の一部又は全部が、長繊維状の強化材と樹脂硬化物を含む発泡体である長繊維強化樹脂発泡体又は木材からなり、長手方向の少なくとも一部に、長手方向に垂直な断面S1の形状が下記条件Aを満たす領域Aが存在し、長手方向における領域Aの長さが、長手方向の全長の10%以上である、鉄道用枕木。条件A:断面S1の形状において、高さ方向に垂直な幅Wが均一でなく、鉄道用枕木の下部で幅Wが最大値Waとなり、記幅Wの最大値Waと最小値Wbとの差の絶対値が20mm以上80mm以下である。
【選択図】図1
特許請求の範囲
【請求項1】
バラストの上に配置される鉄道用枕木であって、
前記鉄道用枕木の一部又は全部が、長繊維状の強化材と樹脂硬化物を含む発泡体である長繊維強化樹脂発泡体又は木材からなり、
前記鉄道用枕木の長手方向の少なくとも一部に、前記長手方向に垂直な断面形状が下記条件Aを満たす領域Aが存在し、前記長手方向における前記領域Aの長さが、前記鉄道用枕木の前記長手方向の全長の10%以上である、鉄道用枕木。
条件A:前記断面形状において、高さ方向に垂直な幅Wが均一でなく、前記鉄道用枕木の下部で前記幅Wが最大値となり、前記幅Wの最大値と最小値との差の絶対値が20mm以上80mm以下である。
続きを表示(約 740 文字)
【請求項2】
前記鉄道用枕木の密度が0.64g/cm
3
以上1.2g/cm
3
以下である、請求項1に記載の鉄道用枕木。
【請求項3】
前記領域Aの鉄道用枕木が、密度が0.64g/cm
3
以上0.9g/cm
3
未満である前記長繊維強化樹脂発泡体からなる、請求項1に記載の鉄道用枕木。
【請求項4】
前記領域Aの鉄道用枕木が、密度が0.9g/cm
3
以上1.2g/cm
3
以下である前記長繊維強化樹脂発泡体からなる、請求項1に記載の鉄道用枕木。
【請求項5】
前記領域Aの鉄道用枕木の下面が、密度が0.9g/cm
3
以上1.2g/cm
3
以下である前記長繊維強化樹脂発泡体からなり、
前記領域Aの鉄道用枕木の上面が、密度が0.64g/cm
3
以上0.9g/cm
3
未満である前記長繊維強化樹脂発泡体又は木材からなる、請求項1に記載の鉄道用枕木。
【請求項6】
前記領域Aの鉄道用枕木の下面が、粉状の強化材と樹脂硬化物を含む圧密成形体からなる、請求項1に記載の鉄道用枕木。
【請求項7】
前記領域Aの鉄道用枕木の下面が、熱可塑性樹脂を含む樹脂成形体からなる、請求項1に記載の鉄道用枕木。
【請求項8】
前記熱可塑性樹脂が、ポリアミド、ポリアセタール、ポリエチレン、ポリプロピレン、ポリエチレンテレフタレート、及びポリ塩化ビニルからなる群から選ばれる1種以上である、請求項7に記載の鉄道用枕木。
発明の詳細な説明
【技術分野】
【0001】
本発明は鉄道用枕木に関する。
続きを表示(約 2,200 文字)
【背景技術】
【0002】
鉄道軌道として、バラストの上に枕木を配置し、枕木の上にレール部材を敷設する、いわゆるバラスト軌道がある。バラストは硬くて角のある砕石が多く使われており、通常、枕木の上面以外の面に接するように敷き詰められる。枕木の外面にはバラストとの接触によって摩耗が生じる。
【0003】
鉄道用枕木としては、コンクリート製枕木(PC枕木)、木製枕木、繊維強化樹脂製枕木(合成枕木)が知られている。
例えば、特許文献1は合成枕木に関するもので、枕木の下面のバラストとの接触部分の密度を低くすることによって、バラストを枕木に食い込み易くして枕木の横ずれを防止する方法提案されている。
【先行技術文献】
【特許文献】
【0004】
特許第4458395号公報
【発明の概要】
【発明が解決しようとする課題】
【0005】
鉄道用枕木にあっては、列車通過時の枕木の曲げ変形により、枕木が全体的又は部分的に持ち上がるアップリフトという現象が生じることがある。アップリフトが発生すると、バラストと枕木との間の衝撃や摺動が多くなり、枕木の摩耗が大きくなる。
特に木製枕木及び合成枕木の材質は、PC枕木に比べて軽量であり剛性も低いため、かかるアップリフトが発生しやすい。
本発明は、アップリフトを防止できる鉄道用枕木の提供を目的とする。
【課題を解決するための手段】
【0006】
[1]バラストの上に配置される鉄道用枕木であって、
前記鉄道用枕木の一部又は全部が、長繊維状の強化材と樹脂硬化物を含む発泡体である長繊維強化樹脂発泡体又は木材からなり、
前記鉄道用枕木の長手方向の少なくとも一部に、前記長手方向に垂直な断面形状が下記条件Aを満たす領域Aが存在し、前記長手方向における前記領域Aの長さが、前記鉄道用枕木の前記長手方向の全長の10%以上である、鉄道用枕木。
条件A:前記断面形状において、高さ方向に垂直な幅Wが均一でなく、前記鉄道用枕木の下部で前記幅Wが最大値となり、前記幅Wの最大値と最小値との差の絶対値が20mm以上80mm以下である。
[2]前記鉄道用枕木の密度が0.64g/cm
3
以上1.2g/cm
3
以下である、[1]に記載の鉄道用枕木。
[3]前記領域Aの鉄道用枕木が、密度が0.64g/cm
3
以上0.9g/cm
3
未満である前記長繊維強化樹脂発泡体からなる、[1]に記載の鉄道用枕木。
[4]前記領域Aの鉄道用枕木が、密度が0.9g/cm
3
以上1.2g/cm
3
以下である前記長繊維強化樹脂発泡体からなる、[1]に記載の鉄道用枕木。
[5]前記領域Aの鉄道用枕木の下面が、密度が0.9g/cm
3
以上1.2g/cm
3
以下である前記長繊維強化樹脂発泡体からなり、
前記領域Aの鉄道用枕木の上面が、密度が0.64g/cm
3
以上0.9g/cm
3
未満である前記長繊維強化樹脂発泡体又は木材からなる、[1]に記載の鉄道用枕木。
[6]前記領域Aの鉄道用枕木の下面が、粉状の強化材と樹脂硬化物を含む圧密成形体からなる、[1]に記載の鉄道用枕木。
[7]前記領域Aの鉄道用枕木の下面が、熱可塑性樹脂を含む樹脂成形体からなる、[1]に記載の鉄道用枕木。
[8]前記熱可塑性樹脂が、ポリアミド、ポリアセタール、ポリエチレン、ポリプロピレン、ポリエチレンテレフタレート、及びポリ塩化ビニルからなる群から選ばれる1種以上である、[7]に記載の鉄道用枕木。
【発明の効果】
【0007】
本発明によれば、アップリフトを防止できる鉄道用枕木が得られる。
【図面の簡単な説明】
【0008】
本発明の鉄道用枕木の一実施形態を示す断面図である。
本発明の鉄道用枕木の他の実施形態を示す断面図である。
本発明の鉄道用枕木の他の実施形態を示す断面図である。
本発明の鉄道用枕木の他の実施形態を示す断面図である。
【発明を実施するための形態】
【0009】
本明細書及び特許請求の範囲において、数値範囲を示す「~」は、その前後に記載した数値を下限値及び上限値として含むことを意味する。
なお、図面は、その構成をわかりやすく説明するための模式図であり、各構成要素の寸法比率等は、実際とは異なる場合もある。
【0010】
<鉄道用枕木>
本発明の鉄道用枕木(以下、単に「枕木」ともいう。)はバラスト上に配置される。枕木の下面は、枕木をバラスト上に配置する際に下向きとなりバラストに接する面である。
枕木のサイズは、例えば、X方向の長さが2100~9000mm、Y方向の幅が180~350mm、Z方向の高さが140~300mmである。
(【0011】以降は省略されています)
この特許をJ-PlatPat(特許庁公式サイト)で参照する
関連特許
積水樹脂株式会社
カバー体
7日前
個人
掃除装置
7日前
株式会社熊谷組
床版
9日前
株式会社セイトク
防雪パネル
1か月前
コスモテック株式会社
表示装置
1か月前
株式会社パロマ
融雪装置
14日前
株式会社 林物産発明研究所
道路安全体
22日前
戸田建設株式会社
コンクリート構造
1か月前
戸田建設株式会社
鋼製ブラケットの取付装置
1か月前
サガ・コア&カッター工業株式会社
切断工法
2日前
戸田建設株式会社
鋼製ブラケットの取付装置
1か月前
戸田建設株式会社
粉塵抑制方法
1日前
西松建設株式会社
耐震補強方法
14日前
株式会社丸治コンクリート工業所
防護柵
16日前
株式会社川金コアテック
橋梁用鋼弾塑性ダンパー
1か月前
個人
充填剤及びそれが充填された人工芝
14日前
前田建設工業株式会社
ガードポール
1日前
鹿島建設株式会社
床版架設方法
1か月前
積水化学工業株式会社
鉄道用枕木
1日前
オリエンタル白石株式会社
補強鋼板及び排土方法
1か月前
鹿島建設株式会社
壁高欄の施工方法
15日前
宮地エンジニアリング株式会社
ワイヤブリッジの設置方法
1か月前
ダンレックス株式会社
表示装置
23日前
株式会社朝日設計事務所
床版橋の梁組合せ床版及び施工方法
14日前
酒井重工業株式会社
建設車両
7日前
信号器材株式会社
塗料供給システム
2日前
ワールド開発工業株式会社
センサ用支持体およびロードローラー
8日前
清水建設株式会社
床版架設装置および床版架設方法
22日前
日鉄神鋼建材株式会社
可動式柵及び可動式柵の支柱用キャスター
3日前
愛知製鋼株式会社
磁気マーカの施工方法および施工用の補助工具
1か月前
公益財団法人鉄道総合技術研究所
レール締結用工具
7日前
PUMP MAN株式会社
路面成型補助部材、及び、路面成型方法
1か月前
オリエンタル白石株式会社
馬蹄形ジベルの合成床版撤去工法
1か月前
ミネベアミツミ株式会社
冠水検出ユニット
9日前
日本製鉄株式会社
仮設橋による施工方法
22日前
個人
蓄光性の白色モルタル、その硬化体、及びその硬化体の耐候性強化方法。
7日前
続きを見る
他の特許を見る