TOP
|
特許
|
意匠
|
商標
特許ウォッチ
Twitter
他の特許を見る
10個以上の画像は省略されています。
公開番号
2025181782
公報種別
公開特許公報(A)
公開日
2025-12-11
出願番号
2025089205
出願日
2025-05-28
発明の名称
太陽光発電シートの設置構造
出願人
積水化学工業株式会社
代理人
弁理士法人WisePlus
主分類
E04D
13/18 20180101AFI20251204BHJP(建築物)
要約
【課題】太陽光発電シートの変形による設置面の破損を抑えることができる太陽光発電シートの設置構造を提供する。
【解決手段】1つ以上の凹部と2つ以上の凸部を有し、各前記凹部と各前記凸部が互いに平行となるように配置された設置面と、前記凸部間を横断するように配置される太陽光発電シートと、前記太陽光発電シートを前記凸部に固定する固定部材と、少なくとも2つの前記凸部を架橋し、架橋された前記凸部を直接的又は間接的に支持する補強材と、を備える太陽光発電シートの設置構造。
【選択図】図1
特許請求の範囲
【請求項1】
1つ以上の凹部と2つ以上の凸部を有し、各前記凹部と各前記凸部が互いに平行となるように配置された設置面と、
前記凸部間を横断するように配置される太陽光発電シートと、
前記太陽光発電シートを前記凸部に固定する固定部材と、
少なくとも2つの前記凸部を架橋し、架橋された前記凸部を直接的又は間接的に支持する補強材と、
を備えることを特徴とする太陽光発電シートの設置構造。
続きを表示(約 470 文字)
【請求項2】
前記補強材は、前記太陽光発電シート上から平面視した際に前記太陽光発電シートの発電部と重複しないことを特徴とする請求項1記載の太陽光発電シートの設置構造。
【請求項3】
前記補強材は、前記太陽光発電シートの下に配置されることを特徴とする請求項1又は2記載の太陽光発電シートの設置構造。
【請求項4】
前記設置面は、勾配を有し、前記勾配の勾配方向は前記凹部及び前記凸部の伸長方向と平行であることを特徴とする請求項1又は2記載の太陽光発電シートの設置構造。
【請求項5】
前記補強材は、前記勾配方向と直交するように配置されることを特徴とする請求項4記載の太陽光発電シートの設置構造。
【請求項6】
前記補強材は、縦弾性係数が1000MPa以上であることを特徴とする請求項1又は2記載の太陽光発電シートの設置構造。
【請求項7】
前記補強材は、厚みが1mm以上50mm以下であることを特徴とする請求項1又は2記載の太陽光発電シートの設置構造。
発明の詳細な説明
【技術分野】
【0001】
本発明は、太陽光発電シートの設置構造に関する。
続きを表示(約 3,400 文字)
【背景技術】
【0002】
従来から太陽電池としてシリコン半導体からなるリジットな太陽電池パネルが広く用いられている。しかしながら、従来の太陽電池パネルはある程度の重量を有するため、一部の耐荷重の低い構造物には設置不可能であったり、また、設置できる設置面であっても耐荷重が低い部位には設置できなかったりするため、設置面の面積を有効活用できないという問題があった。そこで、近年、ポリイミド、ポリエステル系の耐熱高分子材料や金属箔を基材とするフレキシブルな太陽電池が注目されるようになってきている。フレキシブル太陽電池は、薄型化や軽量化による運搬、施工の容易さや、衝撃に強い等の利点があり、フレキシブル太陽電池を用いた太陽光発電シートは、凹凸を有する設置面であっても設置面に沿って設置することが可能である。(例えば、特許文献1)
【先行技術文献】
【特許文献】
【0003】
国際公開第2023-182435号
【発明の概要】
【発明が解決しようとする課題】
【0004】
凹凸を有する設置面に太陽光発電シートを設置する場合、特許文献1のように設置面の凹凸に沿って太陽光発電シートを設置する方法は、発電面積をできるだけ大きくするという観点からは有効である。しかしながら、設置面の凹凸に沿った太陽光発電シートの設置方法は、発電面積は大きくなるものの、太陽光発電シートの交換等のメンテナンス性に劣るという問題があった。通常、太陽光発電シートの設置面となる建築材料や構造物は太陽光発電シートよりも長寿命であるため、寿命となった太陽光発電シートを交換することが想定される。この際、凹凸に沿って太陽光発電シートが設置されていると、交換の作業が煩雑になり、メンテナンス性が低下する。そこで、メンテナンスを容易にするために凹部をまたぐように太陽光発電シートを設置する方法が検討されている。しかしながら、凹部をまたぐように太陽光発電シートを設置すると、太陽光発電シートと凹部が成す空間に風が吹き込んだ際に太陽光発電シートのたわみ、振動といった変形が生じ、変形による力が固定部材を介して設置面に伝わることで設置面が破損することがあるという問題があった。特に太陽光発電シートは、その性質上強度の低い設置面へ設置されることも多いため、仮に強固に設置面に太陽光発電シートを固定できたとしても、太陽光発電シートの風による振動等が著しい場合は設置面そのものの破損が生じることがあり、その問題がより深刻になっている。
【0005】
本発明は、太陽光発電シートの変形による設置面の破損を抑えることができる太陽光発電シートの設置構造を提供することを目的とする。
【課題を解決するための手段】
【0006】
本発明は以下の開示1~7を含む。以下、本発明について詳述する。
[開示1]
1つ以上の凹部と2つ以上の凸部を有し、各前記凹部と各前記凸部が互いに平行となるように配置された設置面と、
前記凸部間を横断するように配置される太陽光発電シートと、
前記太陽光発電シートを前記凸部に固定する固定部材と、
少なくとも2つの前記凸部を架橋し、架橋ざれた前記凸部を直接的又は間接的に支持する補強材と、
を備えることを特徴とする太陽光発電シートの設置構造。
[開示2]
前記補強材は、前記太陽光発電シート上から平面視した際に前記太陽光発電シートの発電部と重複しないことを特徴とする開示1記載の太陽光発電シートの設置構造。
[開示3]
前記補強材は、前記太陽光発電シートの下に配置されることを特徴とする開示1又は2記載の太陽光発電シートの設置構造。
[開示4]
前記設置面は、勾配を有し、前記勾配の勾配方向は前記凹部及び前記凸部の伸長方向と平行であることを特徴とする開示1~3のいずれかに記載の太陽光発電シートの設置構造。
[開示5]
前記補強材は、前記勾配方向と直交するように配置されることを特徴とする開示4記載の太陽光発電シートの設置構造。
[開示6]
前記補強材は、縦弾性係数が1000MPa以上であることを特徴とする開示1~5のいずれかに記載の太陽光発電シートの設置構造。
[開示7]
前記補強材は、厚みが1mm以上50mm以下であることを特徴とする開示1~6のいずれかに記載の太陽光発電シートの設置構造。
【発明の効果】
【0007】
本発明によれば、太陽光発電シートの変形による設置面の破損を抑えることができる太陽光発電シートの設置構造の設置構造を提供することができる。
【図面の簡単な説明】
【0008】
本発明の太陽光発電シートの設置構造の一例を模式的に表した斜視図である。
本発明の太陽光発電シートの設置構造の一例を模式的に表した断面図である。
本発明の太陽光発電シートの設置構造における補強材の配置の一例を模式的に表した上面図である。
本発明の太陽光発電シートの設置構造における補強材の配置の一例を模式的に表した上面図である。
本発明の太陽光発電シートの設置構造における補強材の配置の一例を模式的に表した上面図である。
本発明の太陽光発電シートの設置構造における補強材の形状の一例を模式的に表した断面図である。
本発明の太陽光発電シートの設置構造における補強材の形状の一例を模式的に表した断面図である。
本発明の太陽光発電シートの設置構造における補強材の形状の一例を模式的に表した断面図である。
本発明の太陽光発電シートの設置構造における補強材の形状の一例を模式的に表した断面図である。
本発明の太陽光発電シートの設置構造における補強材の形状の一例を模式的に表した断面図である。
本発明の太陽光発電シートの設置構造における補強材の形状の一例を模式的に表した断面図である。
本発明の太陽光発電シートの設置構造の更なる一例を模式的に表した斜視図である。
本発明の太陽光発電シートの設置構造の更なる一例を模式的に表した断面図である。
本発明の太陽光発電シートの設置構造の更なる一例を模式的に表した斜視図である。
本発明の太陽光発電シートの設置構造の更なる一例を模式的に表した断面図である。
【発明を実施するための形態】
【0009】
以下に具体的な態様を挙げて本発明を更に詳しく説明するが、本発明はこれらの態様のみに限定されない。
【0010】
(実施態様1)
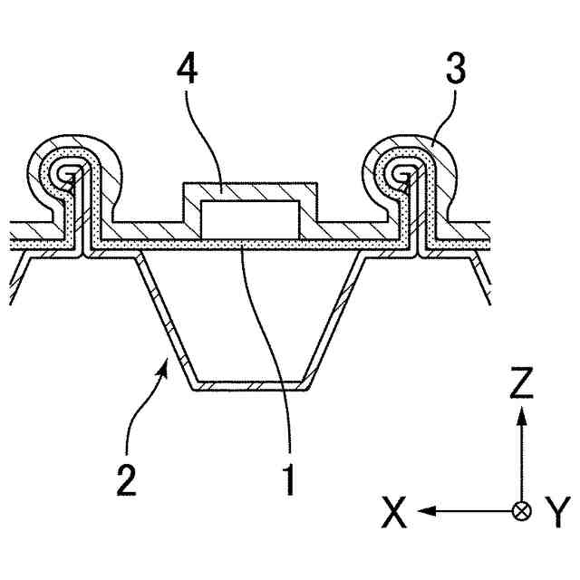
図1に本発明の太陽光発電シートの設置構造の一例を模式的に表した斜視図を、図2に本発明の太陽光発電シートの設置構造の一例を模式的に表した断面図を示す。図1、2では図の右上から左下へ下る勾配を有するハゼ締め型の折板屋根に太陽光発電シートを設置した例を表している。
実施態様1では、1方向に連続する1つ以上の凹部21と1方向に連続する2つ以上の凸部22が互いに平行となるように配置された設置面2上に太陽光発電シート1が凸部22間(凹部21上)を横断するように配置されている。また、太陽光発電シート1は設置面の凸部22の上端部(ハゼ部)で固定部材3によって固定されており、太陽光発電シート1上には少なくとも2つの凸部22間を架橋し、架橋された凸部22を直接的又は間接的に支持することで、設置面2への負荷を低減する補強材4が固定部材3に接続されている。補強材4は、固定部材3を介して凸部22を間接的に支持している。
なお、ここで架橋するとは、凸部22間を橋渡しすることを意味する。また、直接的に支持するとは、補強材4と凸部22が接触した状態で支持することを意味し、間接的に支持するとは、補強材4と凸部22の間に他の部材が存在する状態で凸部22を支持することを意味する。
(【0011】以降は省略されています)
この特許をJ-PlatPat(特許庁公式サイト)で参照する
関連特許
積水化学工業株式会社
粘着テープ
1日前
積水化学工業株式会社
粘着テープ
1日前
積水化学工業株式会社
鉄道用枕木
1日前
積水化学工業株式会社
両面不燃面材付きパネル
1日前
積水化学工業株式会社
太陽光発電シートの設置構造
1日前
積水化学工業株式会社
太陽光発電シートの設置構造
1日前
積水化学工業株式会社
塩化ビニル系樹脂組成物及び塩化ビニル系樹脂成形体
1日前
積水化学工業株式会社
区画貫通処理構造
1日前
積水化学工業株式会社
ポリビニルアセタール樹脂
今日
積水化学工業株式会社
ポリウレタンフォームの製造方法
1日前
積水化学工業株式会社
土留め壁構造部材用吊り具、吊り具付き土留め壁構造部材、土留め壁、及び地中切削方法
1日前
積水化学工業株式会社
粘接着シート、積層シート、薬液タンク、及び、薬液タンクの製造方法
1日前
個人
接合構造
2か月前
個人
屋台
2か月前
個人
タッチミー
2か月前
個人
野良猫ハウス
3か月前
個人
転落防止用手摺
3か月前
個人
安心補助てすり
1か月前
個人
フェンス
3か月前
個人
ベンリナアングル
2か月前
ニチハ株式会社
建築板
3か月前
個人
居住車両用駐車場
3か月前
個人
筋交自動設定装置
2か月前
積水樹脂株式会社
柵体
3か月前
個人
免震建築構造
7日前
個人
熱抵抗多層断熱建材
3か月前
個人
補強部材
3か月前
個人
柵
4か月前
個人
防災建築物
1か月前
鹿島建設株式会社
壁体
3か月前
株式会社フジタ
合成床
7日前
個人
身体用シェルター
2か月前
個人
身体用シェルター
2か月前
個人
住宅の省エネ方法
3日前
株式会社シンケン
住宅
1か月前
成友建設株式会社
建物
3か月前
続きを見る
他の特許を見る