TOP
|
特許
|
意匠
|
商標
特許ウォッチ
Twitter
他の特許を見る
公開番号
2025180225
公報種別
公開特許公報(A)
公開日
2025-12-11
出願番号
2024087402
出願日
2024-05-29
発明の名称
土留め壁構造部材用吊り具、吊り具付き土留め壁構造部材、土留め壁、及び地中切削方法
出願人
積水化学工業株式会社
代理人
個人
,
個人
,
個人
,
個人
主分類
E21D
9/06 20060101AFI20251204BHJP(地中もしくは岩石の削孔;採鉱)
要約
【課題】掘進機のカッタービットの損傷を容易に防止できる、土留め壁構造部材用吊り具を提供する。
【解決手段】受圧板200等の土留め壁構造部材に取り付ける吊り具100であって、受圧板200に埋め込まれる埋設部11と、受圧板200から突出する突出部21とを有し、突出部21に吊り下げ孔23が存在し、埋設部11は切削可能な材料からなる。
【選択図】 図3
特許請求の範囲
【請求項1】
土留め壁構造部材に取り付ける吊り具であって、
前記土留め壁構造部材に取り付けた状態で、前記土留め壁構造部材の内部に位置する埋設部と、前記埋設部に接合し、かつ前記土留め壁構造部材から突出する突出部とを有し、
前記突出部に吊り下げ孔が存在し、
前記埋設部は切削可能な材料からなる、土留め壁構造部材用吊り具。
続きを表示(約 770 文字)
【請求項2】
前記埋設部の外面にネジ山が存在する、請求項1に記載の土留め壁構造部材用吊り具。
【請求項3】
前記突出部が金属材料からなり、前記埋設部と前記突出部とを着脱可能に接合した接合部が存在する、請求項1に記載の土留め壁構造部材用吊り具。
【請求項4】
前記接合部は、前記突出部のナット部と、前記埋設部から延在するボルト部とが螺合した螺合部を含む、請求項3に記載の土留め壁構造部材用吊り具。
【請求項5】
前記突出部が切削可能な材料からなり、前記埋設部と前記突出部とを接合した接合部が存在する、請求項1に記載の土留め壁構造部材用吊り具。
【請求項6】
前記接合部は、前記突出部のナット部と、前記埋設部から延在するボルト部とが螺合した螺合部を含む、請求項5に記載の土留め壁構造部材用吊り具。
【請求項7】
前記突出部が切削可能な材料からなり、前記埋設部と前記突出部とを一体的に成形してなる、請求項1に記載の土留め壁構造部材用吊り具。
【請求項8】
前記切削可能な材料は、発泡樹脂中に無機繊維が混在する複合体である、請求項1~7のいずれか一項に記載の土留め壁構造部材用吊り具。
【請求項9】
土留め壁構造部材と、請求項1に記載の土留め壁構造部材用吊り具とを有し、
前記土留め壁構造部材用吊り具の、前記埋設部を前記土留め壁構造部材の外面から内方へ挿入し固定してなる、吊り具付き土留め壁構造部材。
【請求項10】
請求項9に記載の吊り具付き土留め壁構造部材を用いて施工した土留め壁であって、
前記土留め壁の内部に前記埋設部が存在する、土留め壁。
(【請求項11】以降は省略されています)
発明の詳細な説明
【技術分野】
【0001】
本発明は、土留め壁構造部材用吊り具、吊り具付き土留め壁構造部材、土留め壁、及び地中切削方法に関する。
続きを表示(約 2,700 文字)
【背景技術】
【0002】
従来、トンネル等をシールド工法により施工する際、シールド掘進機の発進地点又は到達地点に、土留め壁で補強された立坑を設けている。土留め壁を掘進機のカッタービットで切削し易くするため、例えば、樹脂発泡体に無機繊維を混在させた複合体で形成された鉛直に延びる芯材を、所定間隔で複数並べてソイルセメントで埋設して構築した地中連続壁方式の土留め壁が提案されている(例えば、特許文献1)。
【0003】
また、土留め壁をアンカーで補強する方法として、隣接する芯材の間にあるソイルセメント部にアンカー用下孔を削孔し、そこにアンカーを挿入した後、アンカーの一端部を土留め壁の背後の地盤に定着させ、アンカーの他端部を、受圧板を介して芯材に支持させる方法がある。特許文献2には、芯材、アンカー、及び受圧板を切削し易い複合体で構成する方法が提案されている。
【先行技術文献】
【特許文献】
【0004】
特開2000-27590号公報
特開2022-186157号公報
【発明の概要】
【発明が解決しようとする課題】
【0005】
土留め壁を施工する工程では、芯材や受圧板等の土留め壁構造部材に吊り具を取り付け、クレーンで吊って所定の位置に設置する。
従来、金属製の吊り具を使用していたため、施工完了後の土留め壁の掘削領域に吊り具が存在すると掘進機のカッタービットが損傷するおそれがあった。しかし、土留め壁構造部材を設置した後に吊り具を取り外す作業は容易ではない。
本発明は、掘進機のカッタービットの損傷を容易に防止できる、土留め壁構造部材用吊り具を目的とする。
【課題を解決するための手段】
【0006】
本発明は以下の態様を有する。
<1> 土留め壁構造部材に取り付ける吊り具であって、前記土留め壁構造部材に取り付けた状態で、前記土留め壁構造部材の内部に位置する埋設部と、前記埋設部に接合し、かつ前記土留め壁構造部材から突出する突出部とを有し、前記突出部に吊り下げ孔が存在し、前記埋設部は切削可能な材料からなる、土留め壁構造部材用吊り具。
<2> 前記埋設部の外面にネジ山が存在する、<1>に記載の土留め壁構造部材用吊り具。
<3> 前記突出部が金属材料からなり、前記埋設部と前記突出部とを着脱可能に接合した接合部が存在する、<1>又は<2>に記載の土留め壁構造部材用吊り具。
<4> 前記接合部は、前記突出部のナット部と、前記埋設部から延在するボルト部とが螺合した螺合部を含む、<3>に記載の土留め壁構造部材用吊り具。
<5> 前記突出部が切削可能な材料からなり、前記埋設部と前記突出部とを接合した接合部が存在する、<1>又は<2>に記載の土留め壁構造部材用吊り具。
<6> 前記接合部は、前記突出部のナット部と、前記埋設部から延在するボルト部とが螺合した螺合部を含む、<5>に記載の土留め壁構造部材用吊り具。
<7> 前記接合部は、さらに前記ナット部と前記ボルト部とを接着する接着剤層を含む、<6>に記載の土留め壁構造部材用吊り具。
<8> 前記突出部が切削可能な材料からなり、前記埋設部と前記突出部とを一体的に成形してなる、<1>又は<2>に記載の土留め壁構造部材用吊り具。
<9> 前記埋設部の長さが50mm以上である、<1>~<8>のいずれか一項に記載の土留め壁構造部材用吊り具。
<10> 前記切削可能な材料は、発泡樹脂中に無機繊維が混在する複合体である、<1>~<9>のいずれか一項に記載の土留め壁構造部材用吊り具。
<11> 土留め壁構造部材と、<1>~<10>のいずれか一項に記載の土留め壁構造部材用吊り具とを有し、前記土留め壁構造部材用吊り具の、前記埋設部を前記土留め壁構造部材の外面から内方へ挿入し固定してなる、吊り具付き土留め壁構造部材。
<12> 前記埋設部の挿入方向が、吊り上げ方向に対して垂直である、<11>に記載の吊り具付き土留め壁構造部材。
<13> 前記土留め壁構造部材に挿入した前記埋設部と前記土留め壁構造部材とを接着する接着剤層が存在する、<11>又は<12>に記載の吊り具付き土留め壁構造部材。
<14> 前記土留め壁構造部材が受圧板である、<11>~<13>のいずれか一項に記載の吊り具付き土留め壁構造部材。
<15> 前記土留め壁構造部材の外面が、前記受圧板のヘッド部の側面である、<14>に記載の吊り具付き土留め壁構造部材。
<16> 前記<11>~<15>のいずれか一項に記載の吊り具付き土留め壁構造部材を用いて施工した土留め壁であって、前記土留め壁の内部に前記埋設部が存在する、土留め壁。
<17> 前記<16>に記載の土留め壁を切削する工程を有する、地中切削方法。
【発明の効果】
【0007】
本発明の土留め壁構造部材用吊り具は、掘進機のカッタービットの損傷を容易に防止できる。
【図面の簡単な説明】
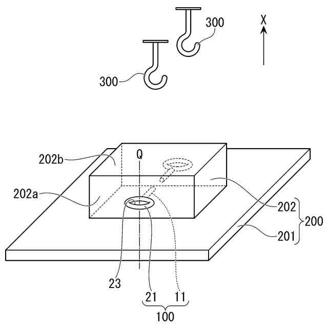
【0008】
本発明の第1実施形態に係る吊り具の斜視図である。
本発明の第1実施形態に係る吊り具を土留め壁構造部材に取り付ける方法を説明するための正面図である。
本発明の第1実施形態に係る吊り具付き土留め壁構造部材の斜視図である。
【発明を実施するための形態】
【0009】
以下、図面を参照し、本発明の実施形態を説明する。
なお、以下の図は、その構成をわかりやすく説明するための模式図であり、各構成要素の寸法比率等は、実際とは異なる場合がある。
【0010】
<第1の実施形態>
≪土留め壁構造部材用吊り具≫
図1は本実施形態の土留め壁構造部材用吊り具(以下、単に「吊り具」ともいう。)の平面図である。本実施形態の吊り具100は、土留め壁構造部材に埋め込まれる埋設部11と、前記土留め壁構造部材から突出する突出部21とを有する。
本実施形態において、埋設部11と突出部21とは別々の部材からなる。埋設部11は棒状部材10の一部であり、突出部21はリング状部材20からなる。両部材は接合部31で着脱可能に接合されている。
(【0011】以降は省略されています)
この特許をJ-PlatPat(特許庁公式サイト)で参照する
関連特許
積水化学工業株式会社
粘着テープ
1日前
積水化学工業株式会社
粘着テープ
1日前
積水化学工業株式会社
鉄道用枕木
1日前
積水化学工業株式会社
両面不燃面材付きパネル
1日前
積水化学工業株式会社
液晶デバイス用シール剤
3日前
積水化学工業株式会社
太陽光発電シートの設置構造
1日前
積水化学工業株式会社
太陽光発電シートの設置構造
1日前
積水化学工業株式会社
硬化性樹脂組成物及び表示素子用封止剤
3日前
積水化学工業株式会社
塩化ビニル系樹脂組成物及び塩化ビニル系樹脂成形体
1日前
積水化学工業株式会社
区画貫通処理構造
1日前
積水化学工業株式会社
ポリビニルアセタール樹脂
今日
積水化学工業株式会社
ポリビニルアセタール樹脂
3日前
積水化学工業株式会社
ポリウレタンフォームの製造方法
1日前
積水化学工業株式会社
土留め壁構造部材用吊り具、吊り具付き土留め壁構造部材、土留め壁、及び地中切削方法
1日前
積水化学工業株式会社
粘接着シート、積層シート、薬液タンク、及び、薬液タンクの製造方法
1日前
個人
掘削機
5か月前
日特建設株式会社
切断装置
1か月前
株式会社奥村組
地山探査装置
3か月前
株式会社奥村組
地山探査装置
3か月前
株式会社奥村組
地山探査装置
3か月前
株式会社奥村組
地山探査方法
3か月前
日特建設株式会社
削孔システム
22日前
株式会社奥村組
シールド掘進機
2か月前
株式会社奥村組
シールド掘進機
6か月前
岐阜工業株式会社
トンネルセントル
2か月前
花王株式会社
岩盤の掘削方法
5か月前
個人
オープンシールド機
3か月前
株式会社奥村組
セグメントの組立方法
3か月前
個人
オープンシールド機
3か月前
個人
箱形ルーフおよびその施工法
2か月前
岐阜工業株式会社
コンクリート分配装置
1か月前
デンカ株式会社
静的破砕方法
3か月前
株式会社金澤製作所
発進坑口のエントランス装置
6か月前
地中空間開発株式会社
トンネル掘削機
2か月前
個人
メタンハイドレート等海底鉱物資源の採取方法
4か月前
戸田建設株式会社
穿孔情報検知装置及び方法
3日前
続きを見る
他の特許を見る