TOP
|
特許
|
意匠
|
商標
特許ウォッチ
Twitter
他の特許を見る
公開番号
2025170546
公報種別
公開特許公報(A)
公開日
2025-11-19
出願番号
2024075206
出願日
2024-05-07
発明の名称
周波数制御装置、光伝送システム、周波数制御方法、及び周波数制御プログラム
出願人
三菱電機株式会社
代理人
個人
,
個人
,
個人
,
個人
主分類
H04B
10/079 20130101AFI20251112BHJP(電気通信技術)
要約
【課題】信号の特性劣化を発生させずに簡易な手順で送信光、及び受信光の各々の周波数の最適な制御が可能な周波数制御装置、光伝送システム、周波数制御方法、及び周波数制御プログラムを提供する。
【解決手段】
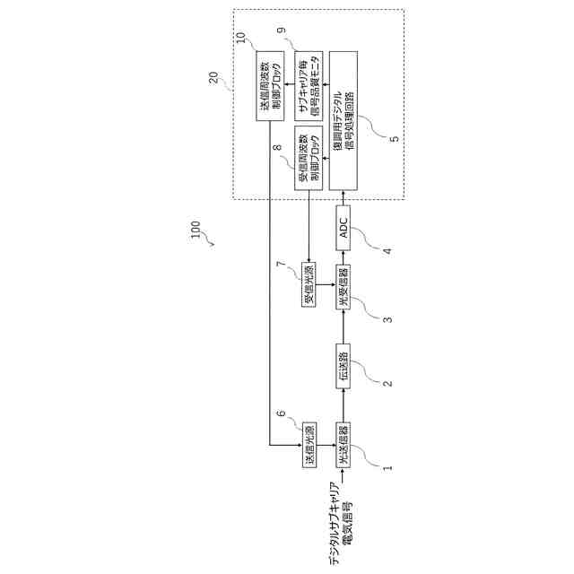
周波数制御装置(20)は、光送信器(1)から受信した受信信号に、受信光源(7)の光を干渉させて得た電気信号を変換したデジタル信号を、復調処理して信号を抽出する復調用デジタル信号処理回路(5)と、送信信号と、受信信号との周波数オフセットに基づいて、受信光源(7)が出力する光の周波数を制御する受信周波数制御ブロック(8)と、受信信号の誤りビット数に基づいて、受信信号の品質をモニタするサブキャリア毎信号品質モニタ(9)と、受信信号の品質に基づいて、送信光源(6)が光送信器(1)に出力する搬送波の周波数を制御する送信周波数制御ブロック(10)と、を含む。
【選択図】図1
特許請求の範囲
【請求項1】
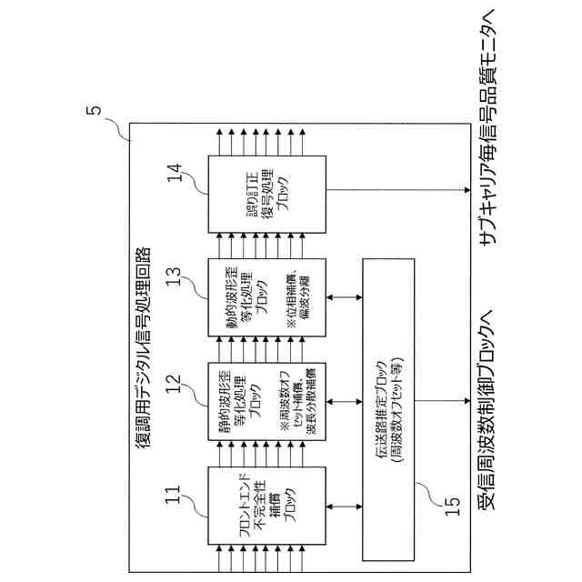
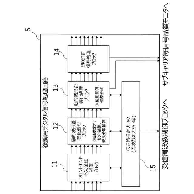
伝送路を介して光送信器から受信した光信号である受信信号に、局部発振器である受信光源が出力した光を干渉させて得た電気信号がデジタル化されたデジタル信号を、復調処理して信号を抽出する復調用デジタル信号処理回路と、
前記復調処理の過程で、前記復調用デジタル信号処理回路が算出した前記光送信器が出力した送信信号と、前記受信信号との周波数オフセットに基づいて、前記受信光源が出力する光の周波数を制御する受信周波数制御部と、
前記復調処理の過程で、前記復調用デジタル信号処理回路が算出した前記受信信号の誤りビット数に基づいて、前記受信信号の品質をモニタするサブキャリア毎信号品質モニタと、
前記受信信号の品質に基づいて、送信光源が前記光送信器に出力する搬送波の周波数を制御する送信周波数制御部と、
を含む周波数制御装置。
続きを表示(約 1,400 文字)
【請求項2】
前記受信周波数制御部は、前記周波数オフセットが、予め定めた規定値以内に収まるように、前記受信光源の周波数を調整する請求項1に記載の周波数制御装置。
【請求項3】
前記サブキャリア毎信号品質モニタは、前記誤りビット数を前記受信信号のサブキャリア毎で比較し、
前記送信周波数制御部は、前記誤りビット数が顕著な2つのサブキャリアの前記誤りビット数の差分を縮小するように算出した周波数シフト量で前記搬送波の周波数を制御する請求項2に記載の周波数制御装置。
【請求項4】
前記復調用デジタル信号処理回路は、前記誤りビット数と共に前記受信信号を信号点配置図にマッピングしたシンボル情報を前記サブキャリア毎信号品質モニタに出力し、
前記サブキャリア毎信号品質モニタは、前記シンボル情報から前記受信信号のノイズを示す値を算出し、
前記送信周波数制御部は、前記ノイズを縮小するように算出した周波数シフト量で前記搬送波の周波数を制御する請求項2に記載の周波数制御装置。
【請求項5】
請求項1から請求項4のいずれか1項に記載の周波数制御装置と、
前記送信光源と、
前記光送信器と、
前記伝送路と、
前記受信光源と、
前記伝送路を介して前記光送信器から受信した光信号に前記受信光源が出力した光を干渉させて前記電気信号を得る光受信器と、
前記電気信号を変換したデジタル信号を前記周波数制御装置に出力するアナログデジタル変換回路と、
を含むデジタルサブキャリアを適用したデジタルコヒ-レント方式の光伝送システム。
【請求項6】
コンピュータに実行させる周波数制御方法であって、
伝送路を介して光送信器から受信した光信号である受信信号に、局部発振器である受信光源が出力した光を干渉させて電気信号を得るステップと、
前記電気信号をデジタル信号に変換するステップと、
前記デジタル信号を、復調処理して信号を抽出するステップと、
前記復調処理の過程で算出された、前記光送信器が出力した送信信号と、前記受信信号との周波数オフセットに基づいて、前記受信光源が出力する光の周波数を制御するステップと、
前記復調処理の過程で算出された前記受信信号の誤りビット数に基づいて、前記受信信号の品質をモニタするステップと、
前記受信信号の品質に基づいて、送信光源が前記光送信器に出力する搬送波の周波数を制御するステップと、
を有する周波数制御方法。
【請求項7】
伝送路を介して光送信器から受信した光信号である受信信号に、局部発振器である受信光源が出力した光を干渉させて電気信号を得るステップと、
前記電気信号をデジタル信号に変換するステップと、
前記デジタル信号を、復調処理して信号を抽出するステップと、
前記復調処理の過程で算出された、前記光送信器が出力した送信信号と、前記受信信号との周波数オフセットに基づいて、前記受信光源が出力する光の周波数を制御するステップと、
前記復調処理の過程で算出された前記受信信号の誤りビット数に基づいて、前記受信信号の品質をモニタするステップと、
前記受信信号の品質に基づいて、送信光源が前記光送信器に出力する搬送波の周波数を制御するステップと、
をコンピュータに実行させる周波数制御プログラム。
発明の詳細な説明
【技術分野】
【0001】
本開示は、周波数制御装置、光伝送システム、周波数制御方法、及び周波数制御プログラムに関する。
続きを表示(約 1,900 文字)
【背景技術】
【0002】
基幹系光ネットワ-クでは、1本の光ファイバにおいて100Gbpsを超える大容量伝送が行われている。例えば、光伝送装置の制御に係る共通規格の一種であるOpenRoadmでは31.57Gbaud(100Gbps)のQPSK(Quadrature Phase Shift Keying:四相位相変調)から131Gbaud(800Gbps)のPCS-16QAM(Probabilistic constellation shaping - 16 quadrature amplitude modulation)の広帯域な光信号インタフェ-スが定義されている。
【0003】
このような広帯域光信号においては、EEPN(equalization-enhanced phase noise)、又はファイバ伝送中に生じる非線形光学効果による信号劣化が大きな課題となっている。信号劣化に対する解決手法として、デジタルサブキャリアの適用が検討されている。デジタルサブキャリアの適用は、デジタル信号処理により電気的に波長多重信号を生成し、1つのキャリア信号(搬送波)に載せて送信、受信する技術である。例えば、131GHzの広い光信号帯域に対して、1つのサブキャリア当たりの帯域を32.75GHzまで狭めて、4つのデジタルサブキャリア信号として送信することで、EEPNの影響を小さくすることができ、光信号の伝送距離の延伸化が実現可能となる。
【0004】
また、大容量の基幹系光ネットワ-クにおいて、オ-プン化が進んでいる。上述のOpenRoadmは、基幹系光ネットワ-クのオ-プン化を推進する標準規格の1つである。光を中心とした革新的技術の活用により、これまでにない高速大容量で低遅延な通信を提供可能とするInnovative Optical and Wireless Network(以下、IOWN(登録商標))においても、Open-APN(Open-All Photonic Network)という名称で基幹系光ネットワ-クのオ-プン仕様が議論されている。
【0005】
このような基幹系光ネットワ-クでは、終端点となる光送受信装置と、光フィルタを有する中継ノ-ドとが別ベンダで構成される場合があることから、光フィルタによる帯域狭窄化を抑制する観点で光送受信装置が保有する光源の周波数制御が重要となる。
【0006】
特許文献1には、複数の光送受信装置が保有する光源を同期して周波数シフトさせる制御によって光フィルタにかかる帯域狭窄による信号品質の劣化を検出し、最も受信品質が向上する周波数位置を探索する手法が開示されている。
【先行技術文献】
【特許文献】
【0007】
国際公開第2017/029753号
【発明の概要】
【発明が解決しようとする課題】
【0008】
しかしながら、特許文献1に記載の技術では、周波数シフトにより、自機が受信する信号、又は他の光送受信装置へ送信する信号の特性劣化を許容する必要があり、複数の光送受信装置が保有する光源を同期して周波数シフトさせる複雑な制御が要求されるという課題がある。
【0009】
本開示は、上記に鑑みてなされたもので、信号の特性劣化を発生させずに簡易な手順で送信光、及び受信光の各々の周波数の最適な制御が可能な周波数制御装置、光伝送システム、周波数制御方法、及び周波数制御プログラムを提供することを目的とする。
【課題を解決するための手段】
【0010】
本開示の周波数制御装置は、伝送路を介して光送信器から受信した光信号である受信信号に、局部発振器である受信光源が出力した光を干渉させて得た電気信号がデジタル化されたデジタル信号を、復調処理して信号を抽出する復調用デジタル信号処理回路と、前記復調処理の過程で、前記復調用デジタル信号処理回路が算出した前記光送信器が出力した送信信号と、前記受信信号との周波数オフセットに基づいて、前記受信光源が出力する光の周波数を制御する受信周波数制御部と、前記復調処理の過程で、前記復調用デジタル信号処理回路が算出した前記受信信号の誤りビット数に基づいて、前記受信信号の品質をモニタするサブキャリア毎信号品質モニタと、前記受信信号の品質に基づいて、送信光源が前記光送信器に出力する搬送波の周波数を制御する送信周波数制御部と、を含む。
(【0011】以降は省略されています)
この特許をJ-PlatPat(特許庁公式サイト)で参照する
関連特許
三菱電機株式会社
換気扇
1か月前
三菱電機株式会社
冷蔵庫
24日前
三菱電機株式会社
冷蔵庫
1日前
三菱電機株式会社
換気扇
1か月前
三菱電機株式会社
扇風機
22日前
三菱電機株式会社
換気扇
1か月前
三菱電機株式会社
増幅器
28日前
三菱電機株式会社
収集装置
1か月前
三菱電機株式会社
電子機器
1か月前
三菱電機株式会社
照明装置
15日前
三菱電機株式会社
電気機器
1日前
三菱電機株式会社
空気調和機
1か月前
三菱電機株式会社
回路遮断器
9日前
三菱電機株式会社
半導体装置
1日前
三菱電機株式会社
半導体装置
23日前
三菱電機株式会社
保護リレー
23日前
三菱電機株式会社
加熱調理器
9日前
三菱電機株式会社
貯湯式給湯機
15日前
三菱電機株式会社
光源デバイス
15日前
三菱電機株式会社
炊飯システム
24日前
三菱電機株式会社
制御システム
15日前
三菱電機株式会社
空調システム
17日前
三菱電機株式会社
点検管理装置
22日前
三菱電機株式会社
空調システム
28日前
三菱電機株式会社
貯湯式給湯機
25日前
三菱電機株式会社
貯湯式給湯機
24日前
三菱電機株式会社
ねじ締め装置
28日前
三菱電機株式会社
調理システム
24日前
三菱電機株式会社
空気清浄装置
9日前
三菱電機株式会社
樹脂成形用金型
28日前
三菱電機株式会社
電磁波発生装置
1日前
三菱電機株式会社
誘導加熱調理器
1か月前
三菱電機株式会社
移動体監視装置
14日前
三菱電機株式会社
加熱調理システム
14日前
三菱電機株式会社
全館空調システム
1か月前
三菱電機株式会社
道路情報補正装置
1か月前
続きを見る
他の特許を見る