TOP
|
特許
|
意匠
|
商標
特許ウォッチ
Twitter
他の特許を見る
10個以上の画像は省略されています。
公開番号
2025169884
公報種別
公開特許公報(A)
公開日
2025-11-14
出願番号
2025040284
出願日
2025-03-13
発明の名称
車両において検出されるユーザデバイスをサポートするための車載インフォテインメントシステムに対する車両アプリケーションのプロビジョニング
出願人
トヨタ自動車株式会社
代理人
個人
,
個人
,
個人
,
個人
,
個人
,
個人
,
個人
主分類
G06F
8/76 20180101AFI20251107BHJP(計算;計数)
要約
【課題】方法、車両情報システム、及び非一時的なコンピュータ可読媒体の提供。
【解決手段】デバイスは、車両において検出される。車両においてデバイスを検出したことに応じて、アプリケーションは、情報を収集し、収集された情報に基づいてユーザにサービスを提供するように、車載インフォテインメント(IVI)システムに提供される。IVIシステムにプロビジョニングされるアプリケーションによって、検出されたデバイスから収集される情報が受信される。情報を受信したことに応じて、操作は、アプリケーションによって収集される情報に基づいて、サービスについてIVIシステムによって自動的にトリガされる。
【選択図】図2
特許請求の範囲
【請求項1】
車両において車載インフォテインメント(IVI)システムにアプリケーションをプロビジョニングするプロセッサにより実行される方法であって、
前記車両においてデバイスを検出することと、
前記車両において前記デバイスを検出したことに応じて、IVIシステムにアプリケーションをプロビジョニングして、前記検出されたデバイスから情報を収集し、前記収集された情報に基づいてユーザにサービスを提供することと、
前記IVIシステムにプロビジョニングされる前記アプリケーションによって、前記検出されたデバイスから収集される前記情報を受信することと、
前記情報を受信したことに応じて、前記検出されたデバイスから前記アプリケーションによって収集される前記情報に基づいて、前記IVIシステムによって前記サービスについての操作を自動的にトリガすることと、
を含む、方法。
続きを表示(約 1,700 文字)
【請求項2】
前記車両における前記デバイスの前記検出は、
アプリケーションストアにアクセスすることと、
選択のために、前記アプリケーションストアにおける前記アプリケーションの第三者開発者を列挙することと、
前記アプリケーションストアから前記IVIシステムに前記アプリケーションをダウンロードすることと、
を含む、請求項1に記載の方法。
【請求項3】
前記IVIシステムに対する前記アプリケーションの前記プロビジョニングは、
前記IVIシステムに前記アプリケーションをインストールすることと、
前記検出されたデバイスを前記IVIシステムとペアリングすることと、
を含む、請求項1又は2に記載の方法。
【請求項4】
前記IVIシステムとの前記検出されたデバイスの前記ペアリングは、前記IVIシステムとの前記検出されたデバイスの前記ペアリングの状況を提示することを含む、請求項3に記載の方法。
【請求項5】
前記IVIシステムにおける前記アプリケーションの前記インストールは、サービスレジストリにおいて、前記検出されたデバイスに関連付けられる前記アプリケーション及び前記サービスを登録することを含む、請求項3に記載の方法。
【請求項6】
前記IVIシステムに対する前記アプリケーションの前記プロビジョニングは、
前記検出されたデバイスに関連付けられる前記サービスの説明を提供することと、
前記検出されたデバイス及び前記IVIシステムに対する前記アプリケーションの互換性をチェックすることと、
を含む、請求項1又は2に記載の方法。
【請求項7】
前記アプリケーションによって収集される前記情報の前記受信は、前記収集された情報に基づいて前記サービスを実行することを含み、前記操作の前記自動的なトリガは、前記アプリケーションに関連付けられる前記サービスと通信して、前記操作をトリガする情報を提供することを含む、請求項1又は2に記載の方法。
【請求項8】
車両情報システムであって、
コンピュータ可読命令を記憶するメモリと、
前記メモリに接続されたプロセッサと、
を備え、前記プロセッサは、前記コンピュータ可読命令を実行して動作を行って、
車両においてデバイスを検出し、
前記車両において前記デバイスを検出したことに応じて、アプリケーションをプロビジョニングして、前記検出されたデバイスから情報を収集し、前記収集された情報に基づいてユーザにサービスを提供し、
前記検出されたデバイスから前記情報を収集するためにプロビジョニングされる前記アプリケーションによって、前記検出されたデバイスから収集される前記情報を受信し、
前記情報を受信したことに応じて、前記検出されたデバイスから前記アプリケーションによって収集される前記情報に基づいて、前記サービスについての操作を自動的にトリガするように構成されている、車両情報システム。
【請求項9】
前記プロセッサは、
アプリケーションストアにアクセスすることと、
選択のために、前記アプリケーションストアにおける前記アプリケーションの第三者開発者を列挙することと、
前記アプリケーションからデバイスアプリケーションをダウンロードすることと、
によって、前記車両において前記デバイスを検出するように構成されている、請求項8に記載の車両情報システム。
【請求項10】
前記プロセッサは、
前記検出されたデバイスと通信する前記アプリケーションをインストールすることと、
前記検出されたデバイスを前記アプリケーションとペアリングすることと、
によって、前記車両において検出される前記デバイスにデバイスアプリケーションをプロビジョニングするように構成されている、請求項8又は9に記載の車両情報システム。
(【請求項11】以降は省略されています)
発明の詳細な説明
【技術分野】
【0001】
本明細書は、車両において検出されるユーザデバイスをサポートするための車載インフォテインメント(IVI)システムに対する車両アプリケーションのプロビジョニング、及び当該車両アプリケーションを使用する方法に関する。
続きを表示(約 3,300 文字)
【背景技術】
【0002】
現在、車両及び運転者に関するデータを集めるセンサ及び様々な機器を有する新しい車両が存在している。集団管理システムは、効率を改善してコストを低減するために、燃料診断を追跡することと、ルートを最適化することと、メンテナンスをスケジュールすることと、を含む、集団オペレータが車両の集団を監視及び管理することを可能にする。更に、クラウド接続のIoT(モノのインターネット)ボックスは、テレマティクスデバイスにリンクして、運転者の健康及び車両状況に関するリアルタイムのデータを提供する。当該システムは、運転者の能力及び健康に関する統計を共有し、眠気を検出し、アイドルアラームを送信する。
【0003】
ウェアラブル機器も増加してきており、最も人気のある形態のウェアラブル機器のうちの1つは、ユーザの活動、場所、及び生体測定データを記録及び報告する、フィットネスバンド、ウォッチ、スマートリング、及びトラッカである。ウェアラブル機器をコネクテッドカーに組み込むことで、安全性、インフォテインメント体験、及びそれ以上のことに関する領域において運転者及び乗客に多数の利点を提供することが可能である。
【0004】
車両は現在、そのようなセンサ及び機器から何らかの情報を取得又は収集することができていない。例えば、(単に、インフォテインメントシステムとも称される)車載インフォテインメント(IVI)システムは、無線通信、例えば、Bluetooth(登録商標)を使用してウェアラブル機器を検出及びペアリングすることが可能である。しかしながら、車両は、ユーザデバイスを識別してユーザデバイスに接続するセンサ又は適切で正確なアルゴリズムを有しないため、車両は技術的に、ユーザのウェアラブルデバイスから正確な又は詳細な情報を集めることが可能ではない。ウェアラブルデバイスは、ユーザ及び環境の状態に関連する情報を取得することが可能であるが、インフォテインメントシステムと通信して関連情報を提供するように構成されていない。したがって、車両は、ユーザのウェアラブルデバイスから情報を収集することができず、情報を使用して車両内部における自然な体験又は車両内部における実際のアプリケーションを提供することができない。
【発明の概要】
【0005】
少なくとも実施形態では、車両において車載インフォテインメント(IVI)システムにアプリケーションをプロビジョニングするプロセッサにより実行される方法は、車両においてデバイスを検出することと、車両においてデバイスを検出したことに応じて、IVIシステムにアプリケーションをプロビジョニングして、検出されたデバイスから情報を収集し、収集された情報に基づいてユーザにサービスを提供することと、IVIシステムにプロビジョニングされるアプリケーションによって、検出されたデバイスから収集される情報を受信することと、情報を受信したことに応じて、検出されたデバイスからアプリケーションによって収集される情報に基づいて、IVIシステムによってサービスについての操作を自動的にトリガすることと、を含む。
【0006】
少なくとも1つの実施形態では、車両情報システムは、コンピュータ可読命令を記憶するメモリと、メモリに接続されたプロセッサと、を含み、プロセッサは、コンピュータ可読命令を実行して動作を行って、車両においてデバイスを検出し、車両においてデバイスを検出したことに応じて、アプリケーションをプロビジョニングして、検出されたデバイスから情報を収集し、収集された情報に基づいてユーザにサービスを提供し、検出されたデバイスから情報を収集するためにプロビジョニングされるアプリケーションによって、検出されたデバイスから収集される情報を受信し、情報を受信したことに応じて、検出されたデバイスからアプリケーションによって収集される情報に基づいて、サービスについての操作を自動的にトリガするように構成されている。
【0007】
少なくとも1つの実施形態では、プロセッサによって実行されると、プロセッサに動作を行わせるコンピュータ可読命令が記憶されたコンピュータプログラムであって、動作は、車両においてデバイスを検出することと、車両においてデバイスを検出したことに応じて、車載インフォテインメント(IVI)システムにアプリケーションをプロビジョニングして、検出されたデバイスから情報を収集し、収集された情報に基づいてユーザにサービスを提供することと、IVIシステムにプロビジョニングされるアプリケーションによって、検出されたデバイスから収集される情報を受信することと、情報を受信したことに応じて、検出されたデバイスからアプリケーションによって収集される情報に基づいて、IVIシステムによってサービスについての操作を自動的にトリガすることと、を含む、コンピュータプログラム。
【図面の簡単な説明】
【0008】
本開示の態様は、以下の詳細な説明を添付の図を用いて読むことで最もよく理解される。業界における慣行に従って、様々な特徴は縮尺通りに描かれているわけではないことに留意されたい。実際、説明を明確にするために、様々な特徴の寸法は増減可能である。
【0009】
図1は、少なくとも1つの実施形態に係る車両コックピットを示す。
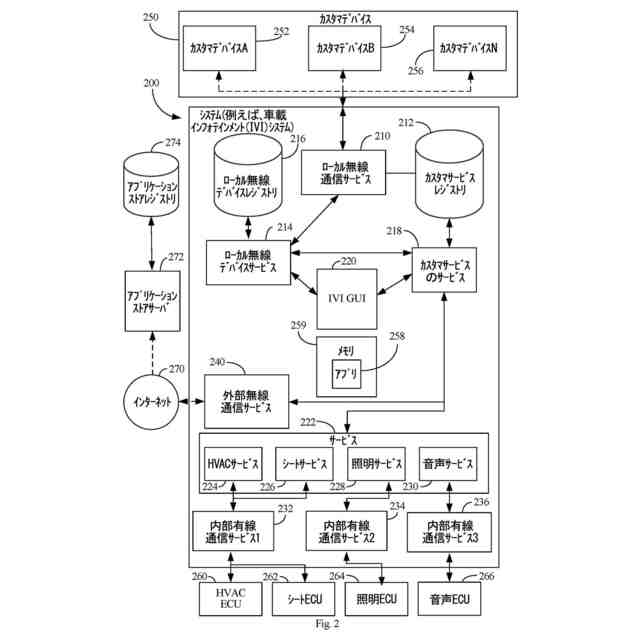
図2は、少なくとも1つの実施形態に係る、車両においてユーザデバイスを検出して、検出されたユーザデバイスから情報を収集するアプリケーションを提供するシステムのブロック図である。
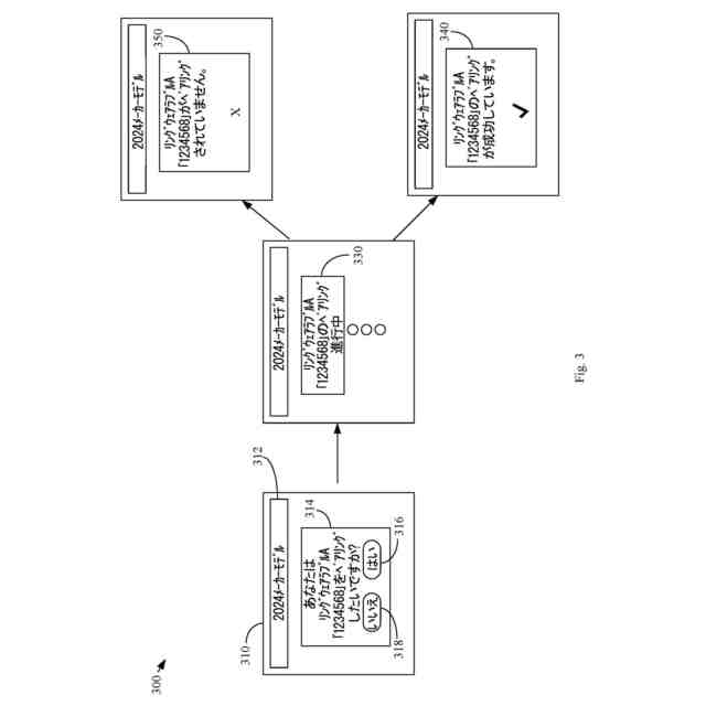
図3は、少なくとも1つの実施形態に係る、デバイスをペアリングするプロセスを示す。
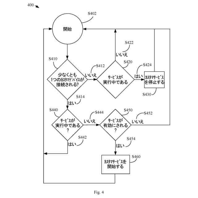
図4は、少なくとも1つの実施形態に係る、カスタマデバイスの状態を監視する方法のフローチャートを示す。
図5は、少なくとも1つの実施形態に係る、カスタマサービスを取得する車載インフォテインメント(IVI)GUIを示す。
図6は、少なくとも1つの実施形態に係る、アプリケーションストアにアクセスしたときのアプリケーションストアGUIを示す。
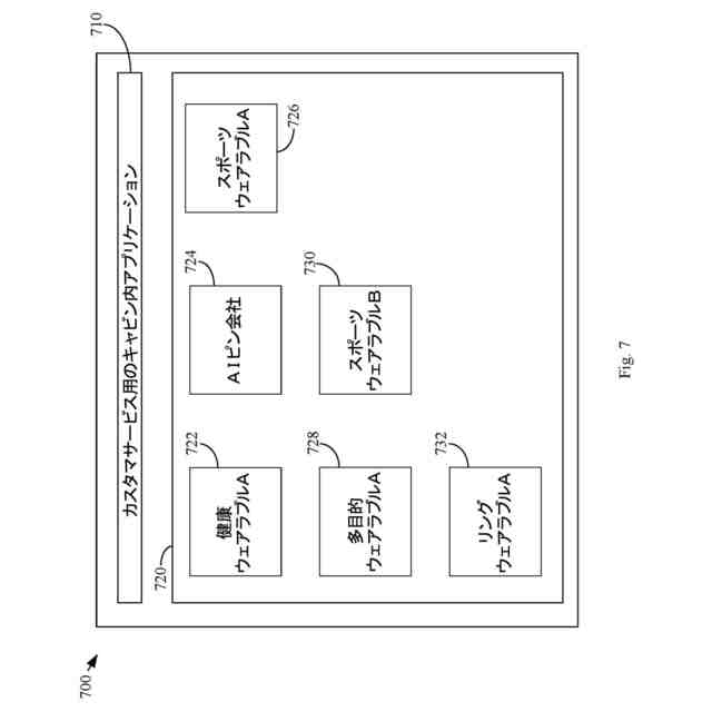
図7は、少なくとも1つの実施形態に係るキャビン内アプリケーションGUIを示す。
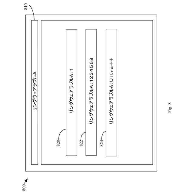
図8は、少なくとも1つの実施形態に係るリングウェアラブルデバイスGUIである。
図9は、少なくとも1つの実施形態に係るリングウェアラブルデバイス1234568GUIである。
図10は、少なくとも1つの実施形態に係るアプリケーション説明GUIである。
図11は、少なくとも1つの実施形態に係る、車両において検出されるデバイスから情報を収集するために車載インフォテインメント(IVI)にアプリケーションをプロビジョニングする方法のフローチャートである。
図12は、少なくとも1つの実施形態に係る、プロセッサベースのシステムのハイレベル機能ブロック図である。
【発明を実施するための形態】
【0010】
本明細書に記載される実施形態は、提供される主題の様々な特徴を実装する例を記載する。本開示を簡略化するために、構成要素、値、動作、材料、配置、又は同種のものに関する例が以下に記載される。もちろん、これらは、例であって限定することを意図したものではない。他の構成要素、値、動作、材料、配置、又は同種のものが想定される。例えば、以下の説明での第2の特徴の上方又は上における第1の特徴の形成は、第1及び第2の特徴が直接的に接触して形成されている実施形態を含み、第1及び第2の特徴が直接的な接触を行えないように、追加の特徴が第1及び第2の特徴間に形成されている実施形態を含む。加えて、本開示は、様々な例で参照番号及び/又は参照文字を繰り返す。この繰り返しは、簡略化及び明確化を目的としたものであって、説明される様々な実施形態及び/又は構成間の関係を規定するものではない。
(【0011】以降は省略されています)
この特許をJ-PlatPat(特許庁公式サイト)で参照する
関連特許
トヨタ自動車株式会社
電池
3日前
トヨタ自動車株式会社
製造設備
3日前
トヨタ自動車株式会社
蓄電セル
5日前
トヨタ自動車株式会社
監視装置
3日前
トヨタ自動車株式会社
車両駆動装置
5日前
トヨタ自動車株式会社
操舵制御装置
5日前
トヨタ自動車株式会社
車両前部構造
10日前
トヨタ自動車株式会社
車両の制御装置
5日前
トヨタ自動車株式会社
ソフトウェア開発の視覚化
3日前
トヨタ自動車株式会社
充放電装置及び充放電方法
5日前
株式会社デンソー
電気回路
5日前
トヨタ自動車株式会社
車両内に表示されたコンテンツの管理
3日前
トヨタ自動車株式会社
車両制御装置、車両制御方法及びプログラム
5日前
トヨタ自動車株式会社
固体電解質層及びその製造方法並びに固体電池
3日前
株式会社デンソー
半導体装置とその製造方法
5日前
トヨタ自動車株式会社
情報処理装置、情報処理方法、及び、プログラム
3日前
トヨタ自動車株式会社
インシデント回避のための運転システムの連続的な更新
3日前
トヨタ自動車株式会社
蓄電セル
5日前
株式会社ヨコオ
アンテナ装置、アンテナ装置の取付方法
5日前
トヨタ自動車株式会社
車両操作を制御する方法、方法を実装するシステム及び車両
3日前
トヨタ自動車株式会社
運転支援装置
3日前
トヨタ自動車株式会社
ダイヤモンド複合金属薄膜及びダイヤモンド複合金属薄膜の製造方法
3日前
トヨタ自動車株式会社
機械学習を使用した車両パフォーマンスの最適化のためのシステム及び方法
6日前
トヨタ自動車株式会社
車両のガラスの透過率を制御する方法、方法を実装するためのシステム及び車両
3日前
トヨタ自動車株式会社
車両プロパティデータ及びHMIアプリケーション固有データに対するアクセスの統合
3日前
株式会社デンソー
半導体装置の製造方法
3日前
株式会社デンソー
半導体装置およびその製造方法
3日前
トヨタ自動車株式会社
車両用表示制御装置、車両用表示システム、車両、表示方法及びプログラム
10日前
トヨタ自動車株式会社
車両において検出されるユーザデバイスをサポートするための車載インフォテインメントシステムに対する車両アプリケーションのプロビジョニング
3日前
個人
詐欺保険
1か月前
個人
縁伊達ポイン
1か月前
個人
職業自動販売機
3日前
個人
RFタグシート
21日前
個人
5掛けポイント
10日前
個人
地球保全システム
1か月前
個人
ペルソナ認証方式
18日前
続きを見る
他の特許を見る