TOP
|
特許
|
意匠
|
商標
特許ウォッチ
Twitter
他の特許を見る
公開番号
2025169867
公報種別
公開特許公報(A)
公開日
2025-11-14
出願番号
2024216319
出願日
2024-12-11
発明の名称
ソフトウェア開発の視覚化
出願人
トヨタ自動車株式会社
代理人
個人
,
個人
,
個人
,
個人
,
個人
,
個人
,
個人
主分類
G06F
8/34 20180101AFI20251107BHJP(計算;計数)
要約
【課題】ソフトウェア開発の視覚化を提供する。
【解決手段】ソフトウェア開発の視覚化は、複数のソフトウェア部品を構築することに応答して、複数のソフトウェア部品の構成ファイルを読み取ることとであって、複数のソフトウェア部品が、第1のソフトウェア部品及び第2のソフトウェア部品を含み、第2のソフトウェア部品は第1のソフトウェア部品に依存している、読み取ることと、複数のソフトウェア部品の記録を生成することであって、記録は、第1のソフトウェア部品と第2のソフトウェア部品との依存関係と、複数のソフトウェア部品の構築ステータスと、第1のソフトウェア部品と第2のソフトウェア部品との間の統合ステータスとを含む、生成することとによって実行される。
【選択図】図1
特許請求の範囲
【請求項1】
複数のソフトウェア部品を構築することに応答して、前記複数のソフトウェア部品の構成ファイルを読み取ることであって、前記複数のソフトウェア部品が、第1のソフトウェア部品及び第2のソフトウェア部品を含み、前記第2のソフトウェア部品は前記第1のソフトウェア部品に依存している、読み取ることと、
前記複数のソフトウェア部品の記録を生成することであって、前記記録は、前記第1のソフトウェア部品と前記第2のソフトウェア部品との依存関係と、前記複数のソフトウェア部品の構築ステータスと、前記第1のソフトウェア部品と前記第2のソフトウェア部品との間の統合ステータスとを含む、生成することと、
を含む動作の実行を、1つ又は複数のプロセッサによる実行に応答して引き起こす命令を有するコンピュータプログラム。
続きを表示(約 1,000 文字)
【請求項2】
前記統合ステータスは、成功ステータス及び失敗ステータスのうちの1つを含む、請求項1に記載のコンピュータプログラム。
【請求項3】
前記統合ステータスは、成功ステータス、失敗ステータス及び非実行ステータスのうちの1つを含む、請求項1に記載のコンピュータプログラム。
【請求項4】
前記動作は、前記複数のソフトウェア部品を構築することを更に含み、
前記構築ステータスは、前記複数のソフトウェア部品の構築に成功したことに応答して、最新のリリースタグを示し、且つ、
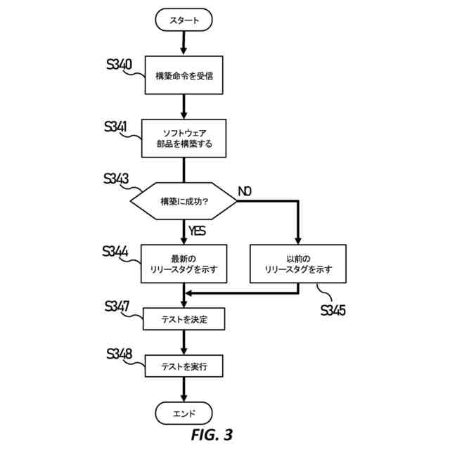
前記構築ステータスは、前記複数のソフトウェア部品の構築に成功しなかったことに応答して、以前のリリースタグを示す、請求項1に記載のコンピュータプログラム。
【請求項5】
前記動作は、
前記複数のソフトウェア部品を構築するための命令を受け取ることと、
前記構成ファイルに示されたテストを決定することと、
前記ソフトウェア部品を構築することに応答して前記テストを実行してテスト結果を生成することであって、前記テスト結果は前記統合ステータスを示す、生成することと、
を更に含む、請求項1に記載のコンピュータプログラム。
【請求項6】
前記動作は、前記複数のソフトウェア部品を構築することを更に含み、
前記構成ファイルは、前記構築する間に使用されるそれぞれの入力ソフトウェア部品のバージョンを示す、請求項1に記載のコンピュータプログラム。
【請求項7】
前記記録は、前記複数のソフトウェア部品を構築する時間を更に示す、請求項1に記載のコンピュータプログラム。
【請求項8】
前記動作は、前記複数のソフトウェア部品間の相互依存性の視覚的表現を表示するための命令を含むスクリプトをクライアント装置に提供することを更に含む、請求項1~7の何れか一項に記載のコンピュータプログラム。
【請求項9】
前記視覚的表現は、前記ソフトウェア部品と、第2の前記ソフトウェア部品とを結合するコネクタを含む、請求項8に記載のコンピュータプログラム。
【請求項10】
前記コネクタは、前記統合ステータスを視覚的に示す、請求項9に記載のコンピュータプログラム。
(【請求項11】以降は省略されています)
発明の詳細な説明
【背景技術】
【0001】
多くのセンサやモータを有する製品のように、専用のソフトウェアを実行している製品の中には、一般的な計算コンポーネントを介して機能を実装している製品もある。そのような製品のためのソフトウェアは、単一のプログラムとして存在するのではなく、プログラム、ライブラリ、プラットフォームなど、相互に依存するソフトウェア部品のウェブであってもよい。
続きを表示(約 2,500 文字)
【発明の概要】
【0002】
本開示の態様は、添付の図面とともに読まれるとき、以下の詳細な説明から最もよく理解される。業界における標準的な慣行によれば、様々な特徴が一定の縮尺で描かれていないことに留意されたい。実際、様々な特徴の寸法は、議論を明確にするために、任意に増加または減少され得る。
【図面の簡単な説明】
【0003】
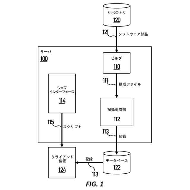
本開示の少なくともいくつかの実施形態による、ソフトウェア開発の視覚化のためのシステムの模式図である。
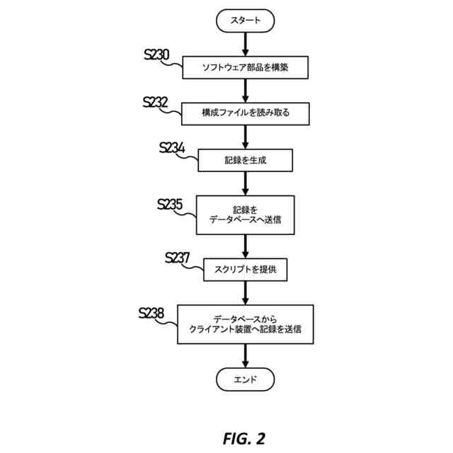
本開示の少なくともいくつかの実施形態による、ソフトウェア開発の視覚化のための動作フローである。
本開示の少なくともいくつかの実施形態による、ソフトウェア部品を構築するための動作フローである。
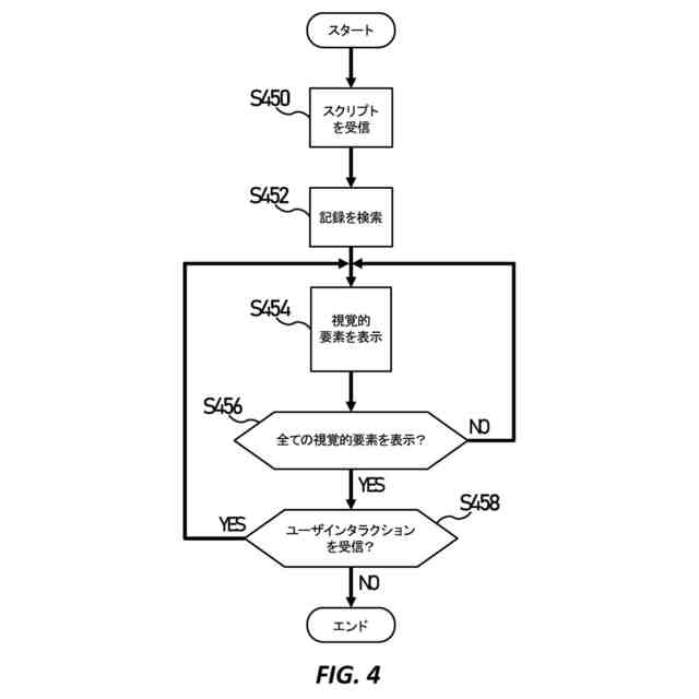
本開示の少なくともいくつかの実施形態による、視覚的表現を表示するための動作フローである。
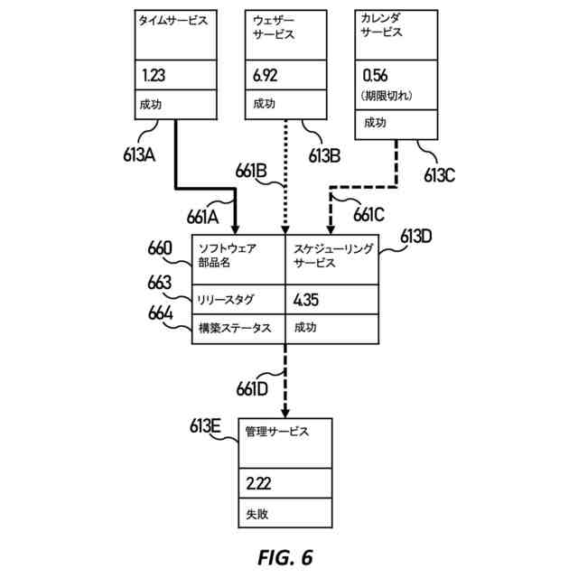
本開示の少なくともいくつかの実施形態による、テーブルフォーマットの視覚的表現である。
本開示の少なくともいくつかの実施形態による、ノードフォーマットの視覚的表現である。
本開示の少なくともいくつかの実施形態による、ネットワークフォーマットにおける視覚的表現である。
本開示の少なくともいくつかの実施形態による、ソフトウェア開発の視覚化のためのハードウェア構成のブロック図である。
【発明を実施するための形態】
【0004】
以下の開示は、提供される主題の異なる特徴を実装するための多くの異なる実施形態または例を提供する。以下、本開示を簡単にするために、構成要素、値、動作、材料、配置などの具体例を説明する。これらは、もちろん、単なる例であり、限定を意図するものではない。他の構成要素、値、動作、材料、配置などが企図される。加えて、本開示は、様々な例において参照番号および/または文字を繰り返すことができる。この繰り返しは、簡単かつ明確にするためのものであり、それ自体、論じられる様々な態様および/または構成の間の関係を指示するものではない。
【0005】
ソフトウェア実装機能を有する製品が開発されるにつれてソフトウェア部品は修正され、これは、修正されたソフトウェア部品に依存するものなどの他のソフトウェア部品に影響を与える。ソフトウェア部品を開発する個人にとって、その依存関係の開発を認識することは有益である。このような開発の記録は、それぞれ異なるアクセス権を持つ複数のリポジトリに分散される可能性がある。製品の複雑さが増すにつれて、リポジトリの数も増える可能性がある。特定の開発者のソフトウェア部品の機能コンポーネントによって使用されるライブラリの依存関係などの新しい依存関係は、依存関係のリポジトリがアクセスされるまで、開発者には認識されない場合がある。依存関係チェーン内のすべてのリポジトリにアクセスすると、開発者は依存関係を認識することが確実になる。
【0006】
本発明者らに知られているシステムでは、各ソフトウェア部品の様々な属性情報が決定される。しかし、ソフトウェア部品の構築が失敗した場合、開発者はどのソフトウェア部品が失敗の直接の原因であったかを判断するのに困難に遭遇する。
【0007】
少なくともいくつかの実施形態では、製品のソフトウェア部品の開発記録が収集され、データベースに組み立てられる。少なくともいくつかの実施形態では、各ソフトウェア部品の依存関係情報は、ソフトウェアウェブのビューを生成するために使用される。少なくともいくつかの実施形態では、所与のソフトウェア部品のステータス(状態)は、所与のソフトウェア部品に依存するソフトウェア部品と、所与のソフトウェア部品によって依存されるソフトウェア部品との間で示される。少なくともいくつかの実施形態では、すべてのソフトウェア部品が、ソフトウェア部品間の接続として依存関係を示すグラフにマッピングされる。
【0008】
少なくともいくつかの実施形態では、ソフトウェア部品の構築の記録は、ソフトウェア部品の構築に応答してデータベースに記録される。少なくともいくつかの実施形態では、記録は、構築ステータス、ソフトウェア部品間の依存関係、および統合ステータスを示す。少なくともいくつかの実施形態では、クライアント装置によって表示可能な記録の視覚的表示は、第1のソフトウェア部品と第2のソフトウェア部品との間の依存関係、第2のソフトウェア部品の構築ステータス、および第2のソフトウェア部品に関する第1のソフトウェア部品の統合ステータスを視覚的に示す。
【0009】
少なくともいくつかの実施形態では、ソフトウェア部品情報を1つのデータベースに組み立てることは、そのような情報について各リポジトリおよびすべてのリポジトリをチェックする負担を軽減する。少なくともいくつかの実施形態では、データベースは履歴情報を記憶し、所与の時点のステータス(状態)のスナップショットがアクセス可能である。少なくともいくつかの実施形態では、プロジェクトとそのソフトウェア部品との間の関係を確認するために、各ソフトウェア部品の入力ソフトウェア部品または依存関係に関する情報が収集される。少なくともいくつかの実施形態では、ネットワークビューおよびノードビューは、どのライブラリおよび他のソフトウェア部品が各プロジェクトによって利用されるかなど、確認された関係から生成される。少なくともいくつかの実施形態では、ネットワークビューは、「リーフ」と呼ぶことができる依存関係を有さないソフトウェア部品を示すことによってノードビューを改善する。少なくともいくつかの実施形態では、依存関係を有さないソフトウェア部品は、特定の検索による場合を除き、ノードビューに現れない。
【0010】
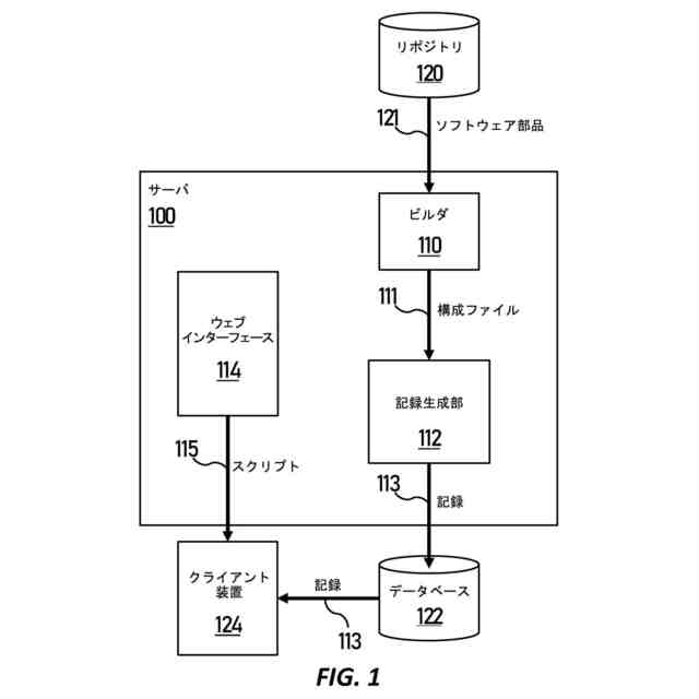
図1は、本開示の少なくともいくつかの実施形態による、ソフトウェア開発の視覚化のためのシステムの模式図である。システムは、サーバ100、リポジトリ120、データベース122およびクライアント装置124を含む。
(【0011】以降は省略されています)
この特許をJ-PlatPat(特許庁公式サイト)で参照する
関連特許
トヨタ自動車株式会社
電池
10日前
トヨタ自動車株式会社
車両
16日前
トヨタ自動車株式会社
方法
9日前
トヨタ自動車株式会社
治具
17日前
トヨタ自動車株式会社
車体
9日前
トヨタ自動車株式会社
車両
9日前
トヨタ自動車株式会社
車両
9日前
トヨタ自動車株式会社
車両
10日前
トヨタ自動車株式会社
電池
1日前
トヨタ自動車株式会社
車両
16日前
トヨタ自動車株式会社
蓄電池
9日前
トヨタ自動車株式会社
モータ
8日前
トヨタ自動車株式会社
製造設備
1日前
トヨタ自動車株式会社
電動車両
9日前
トヨタ自動車株式会社
蓄電装置
16日前
トヨタ自動車株式会社
監視装置
1日前
トヨタ自動車株式会社
蓄電装置
8日前
トヨタ自動車株式会社
制御装置
8日前
トヨタ自動車株式会社
電源装置
17日前
トヨタ自動車株式会社
蓄電装置
17日前
トヨタ自動車株式会社
樹脂外板
9日前
トヨタ自動車株式会社
路側装置
8日前
トヨタ自動車株式会社
蓄電装置
16日前
トヨタ自動車株式会社
電動車両
8日前
トヨタ自動車株式会社
路側装置
8日前
トヨタ自動車株式会社
路側装置
8日前
トヨタ自動車株式会社
路側装置
8日前
トヨタ自動車株式会社
推定装置
8日前
トヨタ自動車株式会社
制御装置
8日前
トヨタ自動車株式会社
鋳造装置
8日前
トヨタ自動車株式会社
電動車両
8日前
トヨタ自動車株式会社
濾過装置
10日前
トヨタ自動車株式会社
蓄電セル
3日前
トヨタ自動車株式会社
蓄電装置
16日前
トヨタ自動車株式会社
サーバ装置
16日前
トヨタ自動車株式会社
電池パック
9日前
続きを見る
他の特許を見る