TOP
|
特許
|
意匠
|
商標
特許ウォッチ
Twitter
他の特許を見る
公開番号
2025169879
公報種別
公開特許公報(A)
公開日
2025-11-14
出願番号
2025020018
出願日
2025-02-10
発明の名称
車両操作を制御する方法、方法を実装するシステム及び車両
出願人
トヨタ自動車株式会社
代理人
個人
,
個人
,
個人
,
個人
,
個人
,
個人
,
個人
主分類
G06F
3/01 20060101AFI20251107BHJP(計算;計数)
要約
【課題】運転者の注意散漫のリスク又は運転者以外の乗員が不適切なコンテンツにさらされるリスクを低減しつつ、運転者以外の乗員が車両システムにアクセスすることができるようにする。
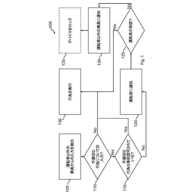
【解決手段】車両には、命令を格納するように構成された非一時的なコンピュータ可読媒体が含まれる。車両は、非一時的なコンピュータ可読媒体に接続されたプロセッサをさらに含む。プロセッサは、車両の運転者以外の乗員からの入力を検出するための命令を実行するように構成される。プロセッサは、入力が不適切な行為についての要求であるかどうかを判定するための命令を実行するように構成される。プロセッサは、入力が不適切な行為についての要求であるという判定に応じて、要求を運転者に通知するための命令を実行するように構成される。プロセッサは、運転者に通知した後に運転者からの承認を受信したことに応じて、不適切な行為を実行するための命令を実行するように構成される。
【選択図】図1
特許請求の範囲
【請求項1】
命令を格納するように構成された非一時的なコンピュータ可読媒体と、
前記非一時的なコンピュータ可読媒体に接続されたプロセッサであって、前記命令を実行して、
前記車両の運転者以外の乗員からの入力を検出し、
前記入力が不適切な行為についての要求であるかどうかを判定し、
前記入力が不適切な行為についての要求であるという判定に応じて、前記運転者に前記要求を通知し、
前記運転者に通知した後に、前記運転者からの承認を受信したことに応じて、前記不適切な行為を実行するように構成されるプロセッサと、
を具備する、車両。
続きを表示(約 1,100 文字)
【請求項2】
前記プロセッサは、前記命令を実行して、
前記不適切な行為が事前認可されているかどうかを判定し、
前記不適切な行為が事前認可されていないという判定に応じて、前記運転者に前記要求を通知するようにさらに構成される、請求項1に記載の車両。
【請求項3】
前記プロセッサは、前記命令を実行して、前記不適切な行為についての要求に対する前記運転者からの承認を受信するようにさらに構成される、請求項1又は2に記載の車両。
【請求項4】
前記運転者からの承認を受信することは、タッチスクリーンの操作、ステアリングホイール上の要素の操作、コンソール上の要素の操作又は音声コマンドの検出によって承認を受信することを含む、請求項3に記載の車両。
【請求項5】
前記プロセッサは、前記命令を実行して、音声通知又は視覚通知の少なくとも一方を使用して前記運転者に通知するようにさらに構成される、請求項1又は2に記載の車両。
【請求項6】
前記プロセッサは、前記命令を実行して、前記運転者が視認可能なモバイルデバイスに通知を伝達することによって前記運転者に通知するようにさらに構成される、請求項1又は2に記載の車両。
【請求項7】
前記プロセッサは、前記命令を実行して、前記運転者が前記不適切な行為を承認しなかったことに応じて、前記不適切な行為に関連付けられたデバイスをロックするようにさらに構成される、請求項1又は2に記載の車両。
【請求項8】
プロセッサによって実行される方法であって、
車両の運転者以外の乗員からの入力を検出するステップと、
前記入力が不適切な行為についての要求であるかどうかを判定するステップと、
前記入力が不適切な行為についての要求であるという判定に応じて、前記運転者に前記要求を通知するステップと、
前記運転者に通知した後に前記運転者からの承認を受信したことに応じて、前記不適切な行為を実行するステップと、
を含む、方法。
【請求項9】
前記不適切な行為が事前認可されているかどうかを判定するステップと、
前記不適切な行為が事前認可されていないという判定に応じて、前記運転者に前記要求を通知するステップと、をさらに含む、請求項8に記載の方法。
【請求項10】
前記不適切な行為についての要求に対する前記運転者からの承認を受信するステップをさらに含む、請求項8又は9に記載の方法。
(【請求項11】以降は省略されています)
発明の詳細な説明
【背景技術】
【0001】
運転者が車両を操作しているとき、車両の他の乗員がインフォテインメントシステムなどの車両内のシステムと相互作用する。場合によっては、運転者以外の乗員が要求する車両操作が不適切であることがある。例えば、場合によっては、要求された行為を実行すると、運転者の注意が散漫になるリスクが高まるか、運転者以外の乗員が不適切なコンテンツにさらされたりすることがある。
続きを表示(約 2,500 文字)
【発明の概要】
【0002】
この説明の一態様が車両に関する。車両は、命令を格納するように構成された非一時的なコンピュータ可読媒体を備える。車両は、非一時的なコンピュータ可読媒体に接続されたプロセッサをさらに備える。プロセッサは、車両の運転者以外の乗員からの入力を検出するための命令を実行するように構成される。プロセッサは、入力が不適切な行為についての要求であるかどうかを判定するための命令を実行するように構成される。プロセッサは、入力が不適切な行為についての要求であるという判定に応じて、要求を運転者に通知するための命令を実行するように構成される。プロセッサは、運転者に通知した後に運転者からの承認を受信したことに応じて、不適切な行為を実行するための命令を実行するように構成される。
【0003】
この説明の一態様が方法に関する。方法は、車両の運転者以外の乗員からの入力を検出するステップを含む。この方法は、入力が不適切な行為についての要求であるかどうかを判定するステップをさらに含む。方法は、入力が不適切な行為についての要求であるという判定に応じて、運転者に要求を通知するステップをさらに含む。方法は、運転者に通知した後に運転者からの承認を受信したことに応じて、不適切な行為を実行するステップをさらに含む。
【0004】
この説明の一態様が車両に関する。車両は、命令を格納するように構成された非一時的なコンピュータ可読媒体を備える。車両は、非一時的なコンピュータ可読媒体に接続されたプロセッサをさらに備える。プロセッサは、車両の乗員からの入力を検出するための命令を実行するように構成される。プロセッサは、乗員が車両の運転者又は車両の運転者以外の乗員であるかを判定するための命令を実行するように構成される。プロセッサは、乗員が運転者以外の乗員であるという判定に応じて、入力が不適切な行為についての要求であるかどうかを判定するための命令を実行するように構成される。プロセッサは、入力が不適切な行為についての要求であるという判定に応じて、要求を運転者に通知するための命令を実行するように構成される。プロセッサは、運転者に通知した後に運転者からの承認を受信したことに応じて、不適切な行為を実行するための命令を実行するように構成される。
【図面の簡単な説明】
【0005】
図1は、いくつかの実施形態に従った車両システムを制御する方法のフローチャートである。
図2は、いくつかの実施形態に従った車両の斜視図である。
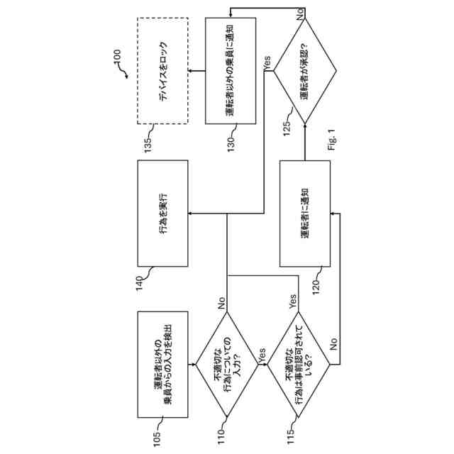
図3は、いくつかの実施形態に従った車両システムを制御するシステムのブロック図である。
【発明を実施するための形態】
【0006】
添付の図面と共に以下の詳細な説明を読むことで本開示の態様が最もよく理解される。業界の標準的な慣行に従い、さまざまな特徴を、縮尺通りに描写していないことに留意されたい。実際、さまざまな特徴の寸法は、考察を明確にするために任意に拡大される場合も、縮小される場合もある。
【0007】
以下の開示は、提供される主題のさまざまな特徴を実装するための多くの異なる実施形態又は例を提供する。構成要素、値、操作、材料、配置などの特定の例を、本開示を簡略化するために以下に記載する。ここに挙げたものはもちろん単なる例であり、限定することを意図するものではない。他の構成要素、値、操作、材料、配置などが考えられる。例えば、以下の説明での第1の特徴を第2の特徴の全体にわたって形成するかその上に形成することは、第1の特徴と第2の特徴が直接接触して形成される実施形態を含む場合があるほか、第1の特徴と第2の特徴との間に追加の特徴が形成され、その結果、第1の特徴と第2の特徴が直接接触しない場合がある実施形態も含む場合がある。さらに、本開示は、さまざまな例で参照番号及び/又は文字を繰り返す場合がある。この繰り返しは、簡潔さと明確さを目的としており、それ自体が、考察するさまざまな実施形態及び/又は構成間の関係を規定するものではない。
【0008】
さらに、「~の下」、「下方」、「下部」、「~の上」、「上部」などの空間的に相対的な用語を、図に示すように、ある要素又は特徴と別の要素又は特徴との関係を記載するための説明を容易にするために本明細書で使用する場合がある。空間的に相対的な用語は、図に示している向きに加えて、使用中又は動作中のデバイスのさまざまな向きを包含することを意図するものである。装置が他の方向を向いていれば(90度回転又は他の方向)、本明細書で使用する空間的に相対的な記述子も同様にそれに応じて解釈される。
【0009】
運転者が、車両の操作中、車両を制御しながら道路を注視する。その結果、運転者は、車両の運転者以外の乗員がアクセス可能な窓、ロック又はインフォテインメントシステムなど、車両内の1つ又は複数のシステムの操作を監視する能力が低下する。場合によっては、運転者以外の乗員は、車両システムによる不適切な行為についての要求を入力することがある。不適切な行為には、運転者の注意をそらすか、不適切なコンテンツへのアクセスを試みるか、運転者以外の乗員が権限を持たないシステムにアクセスするリスクを高めるであろう行為又は他の同じような行為が含まれる。このような行為を、運転者以外の乗員からの入力を受信した直後に実行した場合、運転者の注意散漫のリスクが高まり、又は運転者以外の乗員が不適切なコンテンツにさらされるリスクが高まる。対照的に、運転者以外の乗員が車両システムにアクセスすることを完全に禁止する場合、いくつかの状況では、車両に対する不満が高まる。
【0010】
本明細書には、運転者の注意散漫のリスク又は運転者以外の乗員が不適切なコンテンツにさらされるリスクを低減しつつ、運転者以外の乗員が車両システムにアクセスすることができるようにする態様で車両システムの操作を制御するために車両に実装される方法及びシステムが含まれる。
(【0011】以降は省略されています)
この特許をJ-PlatPat(特許庁公式サイト)で参照する
関連特許
トヨタ自動車株式会社
車両
27日前
トヨタ自動車株式会社
車両
25日前
トヨタ自動車株式会社
方法
26日前
トヨタ自動車株式会社
方法
26日前
トヨタ自動車株式会社
治具
20日前
トヨタ自動車株式会社
車両
21日前
トヨタ自動車株式会社
車両
19日前
トヨタ自動車株式会社
車両
19日前
トヨタ自動車株式会社
電池
4日前
トヨタ自動車株式会社
方法
12日前
トヨタ自動車株式会社
車両
26日前
トヨタ自動車株式会社
車体
12日前
トヨタ自動車株式会社
車両
12日前
トヨタ自動車株式会社
方法
27日前
トヨタ自動車株式会社
車両
12日前
トヨタ自動車株式会社
電池
13日前
トヨタ自動車株式会社
方法
25日前
トヨタ自動車株式会社
車両
13日前
トヨタ自動車株式会社
電池
25日前
トヨタ自動車株式会社
モータ
27日前
トヨタ自動車株式会社
モータ
11日前
トヨタ自動車株式会社
電動機
25日前
トヨタ自動車株式会社
サーバ
22日前
トヨタ自動車株式会社
正極層
25日前
トヨタ自動車株式会社
蓄電池
12日前
トヨタ自動車株式会社
モータ
22日前
トヨタ自動車株式会社
自動車
26日前
トヨタ自動車株式会社
燃料電池
27日前
トヨタ自動車株式会社
蓄電装置
19日前
トヨタ自動車株式会社
電源装置
20日前
トヨタ自動車株式会社
推定装置
11日前
トヨタ自動車株式会社
蓄電装置
19日前
トヨタ自動車株式会社
制御装置
11日前
トヨタ自動車株式会社
蓄電装置
19日前
トヨタ自動車株式会社
蓄電装置
22日前
トヨタ自動車株式会社
電動車両
11日前
続きを見る
他の特許を見る