TOP
|
特許
|
意匠
|
商標
特許ウォッチ
Twitter
他の特許を見る
公開番号
2025168774
公報種別
公開特許公報(A)
公開日
2025-11-12
出願番号
2024073513
出願日
2024-04-30
発明の名称
半導体装置とその製造方法
出願人
株式会社デンソー
,
トヨタ自動車株式会社
,
株式会社ミライズテクノロジーズ
代理人
弁理士法人 快友国際特許事務所
主分類
H10D
30/66 20250101AFI20251105BHJP()
要約
【課題】 絶縁層とGaN系基板の界面におけるホールのトラップを抑制し、外周耐圧領域の耐圧性能を向上する。
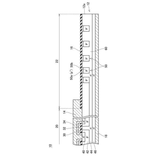
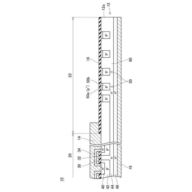
【解決手段】 半導体装置であって、窒化ガリウム系半導体によって構成された半導体基板と、前記半導体基板の上面を覆う電極層と、前記半導体基板の前記上面であって前記電極層の周囲の領域を覆う絶縁層、を有する。前記半導体基板が、前記電極層と前記上面の接触領域の下側に位置する素子領域と、前記絶縁層と前記上面との接触領域の下側に位置する周辺耐圧領域を有する。前記周辺耐圧領域が、前記絶縁層に接するp型耐圧層と、前記p型耐圧層に対して下側から接するn型耐圧層、を有する。前記p型耐圧層が、前記絶縁層に接する上部p型耐圧層と、前記上部p型耐圧層に対して下側から接するとともに前記上部p型耐圧層よりも低いp型不純物濃度を有する下部p型耐圧層、を有する。
【選択図】図2
特許請求の範囲
【請求項1】
半導体装置であって、
窒化ガリウム系半導体によって構成された半導体基板(12)と、
前記半導体基板の上面を覆う電極層(14)と、
前記半導体基板の前記上面であって前記電極層の周囲の領域を覆う絶縁層(16)、
を有し、
前記半導体基板が、前記電極層と前記上面の接触領域の下側に位置する素子領域(20)と、前記絶縁層と前記上面との接触領域の下側に位置する周辺耐圧領域(22)を有し、
前記周辺耐圧領域が、
前記絶縁層に接するp型耐圧層(50)と、
前記p型耐圧層に対して下側から接するn型耐圧層(60)、
を有し、
前記p型耐圧層が、
前記絶縁層に接する上部p型耐圧層(50a)と、
前記上部p型耐圧層に対して下側から接し、前記上部p型耐圧層よりも低いp型不純物濃度を有する下部p型耐圧層(50b)、
を有する半導体装置。
続きを表示(約 1,100 文字)
【請求項2】
前記上部p型耐圧層におけるp型不純物の活性化率が、前記下部p型耐圧層におけるp型不純物の活性化率よりも低い、請求項1に記載の半導体装置。
【請求項3】
前記上部p型耐圧層におけるp型不純物の活性化率が90%以下である、請求項2に記載の半導体装置。
【請求項4】
前記素子領域から前記半導体基板の外周端に向かう方向において前記p型耐圧層が間隔を空けて複数配置されている、請求項1~3のいずれか一項に記載の半導体装置。
【請求項5】
前記上部p型耐圧層の下側に、前記素子領域から前記半導体基板の外周端に向かう方向において前記下部p型耐圧層が間隔を空けて複数配置されている、請求項1~3のいずれか一項に記載の半導体装置。
【請求項6】
前記下部p型耐圧層が、高濃度p型層(51)と前記高濃度p型層よりもp型不純物濃度が低い低濃度p型層(52)を有し、
前記上部p型耐圧層の下側に、前記素子領域から前記半導体基板の外周端に向かう方向において前記高濃度p型層と前記低濃度p型層が隣接して配置されている、
請求項1~3のいずれか一項に記載の半導体装置。
【請求項7】
前記上部p型耐圧層の厚さが、前記下部p型耐圧層の厚さよりも小さい、請求項1~3のいずれか一項に記載の半導体装置。
【請求項8】
前記p型耐圧層が、前記素子領域を囲むように環状に伸びている、請求項1~3のいずれか一項に記載の半導体装置。
【請求項9】
半導体装置の製造方法であって、
窒化ガリウム系半導体によって構成された半導体基板であって、特定領域と前記特定領域の周囲に位置する周辺領域を有し、前記周辺領域に前記半導体基板の上面に露出するn型耐圧層が設けられた前記半導体基板を準備する工程と、
前記n型耐圧層内にp型不純物を注入することによって下部p型耐圧層を形成する工程と、
前記半導体基板をアニールすることによって前記下部p型耐圧層内のp型不純物を活性化する工程と、
前記アニールの後に、前記n型耐圧層内であって前記上面と前記下部p型耐圧層の間の範囲にp型不純物を注入することによって、前記上面に露出しているとともに前記下部p型耐圧層よりもp型不純物濃度が高い上部p型耐圧層を形成する工程と、
前記周辺領域内の前記上面に前記上部p型耐圧層に接する絶縁層を形成する工程と、
前記特定領域内の前記上面に電極層を形成する工程、
を有する製造方法。
発明の詳細な説明
【技術分野】
【0001】
本明細書に開示の技術は、半導体装置とその製造方法に関する。
続きを表示(約 1,900 文字)
【0002】
一般に、素子領域と周辺耐圧領域を有する半導体装置が知られている。素子領域内の半導体基板の上面には、電極層が設けられている。素子領域には、電極層に接続された半導体素子(例えば、トランジスタ、ダイオード等)が設けられている。外周耐圧領域内の半導体基板の上面は、絶縁層によって覆われている。外周耐圧領域には、絶縁層に接するp型耐圧層と、p型耐圧層に対して下側から接するn型耐圧層が設けられている。p型耐圧層とn型耐圧層の界面から空乏層が広がることで、外周耐圧領域で電位差を保持することができる。この種の半導体装置において、外周耐圧領域内で発生したホットホールが絶縁層とp型耐圧層の界面によってトラップされる場合がある。絶縁層とp型耐圧層の界面にホールがトラップされると、当該界面において界面準位密度及び正電荷密度が増加して、外周耐圧領域内で空乏層が伸展し難くなる。このため、界面にホールがトラップされると、外周耐圧領域の耐圧性能が低下する。
【0003】
これに対し、特許文献1には、p型耐圧層の上面に接する半絶縁層を設ける技術が開示されている。このように半絶縁層を設けると、半絶縁層とp型耐圧層の界面におけるホールのトラップを抑制できる。
【先行技術文献】
【特許文献】
【0004】
特開2017-098440号公報
【発明の概要】
【発明が解決しようとする課題】
【0005】
窒化ガリウム系半導体によって構成されている半導体基板(以下、GaN系基板という)では、ホールは絶縁層とp型耐圧層の界面においてp型耐圧層側(すなわち、GaN系基板側)の領域にトラップされる。したがって、GaN系基板では、外周耐圧領域を覆う絶縁層として半絶縁層を用いても、ホールのトラップを抑制できない。また、半絶縁層は固定電荷を有するため、GaN系半導体基板において外周耐圧領域を覆う半絶縁層を設けると、外周耐圧領域の耐圧性能はむしろ低くなる。本明細書では、GaN系基板を有する半導体装置において、絶縁層とGaN系基板の界面におけるホールのトラップを抑制し、外周耐圧領域の耐圧性能を向上する技術を提案する。
【課題を解決するための手段】
【0006】
本明細書が開示する半導体装置は、窒化ガリウム系半導体によって構成された半導体基板と、前記半導体基板の上面を覆う電極層と、前記半導体基板の前記上面であって前記電極層の周囲の領域を覆う絶縁層、を有する。前記半導体基板が、前記電極層と前記上面の接触領域の下側に位置する素子領域と、前記絶縁層と前記上面との接触領域の下側に位置する周辺耐圧領域を有する。前記周辺耐圧領域が、前記絶縁層に接するp型耐圧層と、前記p型耐圧層に対して下側から接するn型耐圧層、を有する。前記p型耐圧層が、前記絶縁層に接する上部p型耐圧層と、前記上部p型耐圧層に対して下側から接するとともに前記上部p型耐圧層よりも低いp型不純物濃度を有する下部p型耐圧層、を有する。
【0007】
なお、本明細書において、窒化ガリウム系半導体は、窒素とガリウムを含む化合物半導体を意味する。例えば、窒化ガリウム系半導体は、GaN、AlGaN、InGaN、AlInGaN等である。
【0008】
また、本明細書において、p型不純物濃度は、活性化したp型不純物と活性化していないp型不純物の総和を半導体層の体積で除算した値を意味する。
【0009】
例えば、Hidetoshi, M. et al (2023). Applied Physics Express 16, 105501に報告されているように、高濃度のp型GaNと絶縁層との界面にはホールがトラップされ難い。本明細書が開示する半導体装置では、高いp型不純物濃度を有する上部p型耐圧層が絶縁層に接しているので、絶縁層と半導体基板の界面におけるホールのトラップを抑制できる。したがって、この半導体装置では、ホールのトラップによる耐圧性能の低下が生じ難い。
【図面の簡単な説明】
【0010】
実施例の半導体装置10の平面図。
実施例の半導体装置10の断面図(図1のII-II線における断面図)。
p型耐圧領域内におけるp型不純物濃度分布を示すグラフ。
加工前の半導体基板の断面図。
変形例の半導体装置の断面図。
変形例の半導体装置の断面図。
変形例の半導体装置の断面図。
変形例の半導体装置の断面図。
【発明を実施するための形態】
【実施例】
(【0011】以降は省略されています)
この特許をJ-PlatPat(特許庁公式サイト)で参照する
関連特許
株式会社デンソー
電気回路
1日前
株式会社デンソー
撮像装置
6日前
株式会社デンソー
撮像装置
6日前
株式会社デンソー
摺動機構
6日前
株式会社デンソー
摺動機構
6日前
株式会社デンソー
電気化学セル
6日前
株式会社デンソー
電気化学セル
6日前
株式会社デンソー
半導体装置とその製造方法
1日前
株式会社デンソー
送電装置及び充電システム
6日前
株式会社デンソーテン
アンテナアンプ及びアンテナ装置
1日前
株式会社デンソー
電界効果トランジスタ
6日前
個人
積和演算用集積回路
7日前
サンケン電気株式会社
半導体装置
6日前
旭化成株式会社
発光素子
16日前
日機装株式会社
半導体発光装置
1日前
ローム株式会社
抵抗チップ
21日前
三菱電機株式会社
半導体装置
15日前
ローム株式会社
半導体集積回路
15日前
日亜化学工業株式会社
発光装置
16日前
ローム株式会社
半導体装置
6日前
株式会社半導体エネルギー研究所
発光デバイス
1日前
株式会社半導体エネルギー研究所
発光デバイス
14日前
ローム株式会社
窒化物半導体装置
21日前
ローム株式会社
半導体装置
22日前
ローム株式会社
半導体装置
20日前
日亜化学工業株式会社
発光素子
6日前
大日本印刷株式会社
太陽電池
23日前
今泉工業株式会社
光発電装置及びその製造方法
20日前
日亜化学工業株式会社
発光素子
6日前
日本ゼオン株式会社
構造体
8日前
日亜化学工業株式会社
発光装置
8日前
日亜化学工業株式会社
発光装置
15日前
株式会社東芝
半導体装置及びウエーハ
15日前
日亜化学工業株式会社
発光装置の製造方法及び発光装置
15日前
住友電気工業株式会社
炭化珪素半導体装置
17日前
住友電気工業株式会社
炭化珪素半導体装置
17日前
続きを見る
他の特許を見る