TOP
|
特許
|
意匠
|
商標
特許ウォッチ
Twitter
他の特許を見る
10個以上の画像は省略されています。
公開番号
2025168397
公報種別
公開特許公報(A)
公開日
2025-11-07
出願番号
2025138319,2021151952
出願日
2025-08-21,2021-09-17
発明の名称
車両用表示制御装置、車両用表示システム、車両、表示方法及びプログラム
出願人
トヨタ自動車株式会社
代理人
弁理士法人太陽国際特許事務所
主分類
B60K
35/22 20240101AFI20251030BHJP(車両一般)
要約
【課題】操作部の画像を表示可能な構成において、乗員の快適性を向上させることができる車両用表示制御装置、車両用表示システム、車両、表示方法及びプログラムを得る。
【解決手段】車両用表示制御装置は、プロセッサを有し、前記プロセッサは、ステアリングホイールに設けられた操作部が操作されたことを検知し、運転席の前方に設定された表示領域に車両の現在の速度を表示し、前記操作を検知した場合に、前記操作部に対応する画像と、前記操作部に割り当てられた機能に対応するアイコンとを前記表示領域において速度の表示と隣接して表示するように構成されており、前記プロセッサは、前記操作部に割り当てられた機能が無い場合には、前記表示領域に前記アイコンを表示せず、前記操作部に対応する画像のみを表示する。
【選択図】図7
特許請求の範囲
【請求項1】
プロセッサを有し、前記プロセッサは、
ステアリングホイールに設けられた操作部が操作されたことを検知し、
運転席の前方に設定された表示領域に車両の現在の速度を表示し、
前記操作を検知した場合に、前記操作部に対応する画像と、前記操作部に割り当てられた機能に対応するアイコンとを前記表示領域において速度の表示と隣接して表示するように構成されており、
前記プロセッサは、前記操作部に割り当てられた機能が無い場合には、前記表示領域に前記アイコンを表示せず、前記操作部に対応する画像のみを表示する、車両用表示制御装置。
続きを表示(約 1,000 文字)
【請求項2】
前記プロセッサは、前記操作を検知した場合、前記操作部に対応する画像の一部をアニメーションと共に表示する、請求項1に記載の車両用表示制御装置。
【請求項3】
前記プロセッサは、前記操作部に対応する画像として、前記ステアリングホイールに設けられたスイッチを模した画像を表示する、請求項1又は2に記載の車両用表示制御装置。
【請求項4】
前記アイコンは、車載機器の機能を示すアイコンであり、
前記プロセッサは、前記操作部の配置と対応する配置で前記アイコンを表示する、請求項1~3の何れか1項に記載の車両用表示制御装置。
【請求項5】
前記プロセッサは、車両に搭載されたヘッドアップディスプレイ装置によってウインドシールドガラスに設定された前記表示領域に前記画像及び前記アイコンを表示する請求項1~4の何れか1項に記載の車両用表示制御装置。
【請求項6】
請求項1~5の何れか1項に記載の車両用表示制御装置と、
前記表示領域に表示を行う画像表示装置と、
を有する車両用表示システム。
【請求項7】
請求項6に記載の前記車両用表示システムを備えた車両。
【請求項8】
コンピュータにより、
ステアリングホイールに設けられた操作部が操作されたことを検知し、
運転席の前方に設定された表示領域に車両の現在の速度を表示し、
前記操作を検知した場合に、前記操作部に対応する画像と、前記操作部に割り当てられた機能に対応するアイコンとを前記表示領域に表示し、
前記操作部に割り当てられた機能が無い場合には、前記表示領域に前記アイコンを表示せず、前記操作部に対応する画像のみを表示する、表示方法。
【請求項9】
ステアリングホイールに設けられた操作部が操作されたことを検知し、
運転席の前方に設定された表示領域に車両の現在の速度を表示し、
前記操作を検知した場合に、前記操作部に対応する画像と、前記操作部に割り当てられた機能に対応するアイコンとを前記表示領域に表示し、
前記操作部に割り当てられた機能が無い場合には、前記表示領域に前記アイコンを表示せず、前記操作部に対応する画像のみを表示する、処理をコンピュータに実行させるプログラム。
発明の詳細な説明
【技術分野】
【0001】
本発明は、車両用表示制御装置、車両用表示システム、車両、表示方法及びプログラムに関する。
続きを表示(約 1,500 文字)
【背景技術】
【0002】
特許文献1には、ステアリングホイールの左右に操作スイッチが設けられた構成が開示されている。また、特許文献1では、表示画面に操作スイッチの画像が表示され、各操作スイッチに異なる機能が割り当てられるように構成されている。
【先行技術文献】
【特許文献】
【0003】
特開2021-75157号公報
【発明の概要】
【発明が解決しようとする課題】
【0004】
しかしながら、上記特許文献1に記載の構造では、表示画面に左右の操作スイッチ(操作部)の画像のみが表示されるため、現在の車速などは確認できず、快適性を向上させる観点で改善の余地がある。
【0005】
本発明は、操作部の画像を表示可能な構成において、乗員の快適性を向上させることができる車両用表示制御装置、車両用表示システム、車両、表示方法及びプログラムを得ることを目的とする。
【課題を解決するための手段】
【0006】
第1態様に係る車両用表示制御装置は、プロセッサを有し、前記プロセッサは、ステアリングホイールに設けられた操作部が操作されたことを検知し、運転席の前方に設定された表示領域に車両の現在の速度を表示し、前記操作を検知した場合に、前記操作部に対応する画像と、前記操作部に割り当てられた機能に対応するアイコンとを前記表示領域において速度の表示と隣接して表示するように構成されており、前記プロセッサは、前記操作部に割り当てられた機能が無い場合には、前記表示領域に前記アイコンを表示せず、前記操作部に対応する画像のみを表示する。
【0007】
第1態様に係る車両用表示制御装置では、ステアリングホイールに設けられた操作部が操作された場合には、運転席の前方に設定された表示領域に、操作部に対応する画像とアイコンを表示する。このとき、画像及びアイコンは、車両の現在の速度の表示と隣接して表示される。これにより、乗員が他のディスプレイなどを見ることなく現在の車速を把握することができる。
【発明の効果】
【0008】
本発明に係る車両用表示制御装置、車両用表示システム、車両、表示方法及びプログラムによれば、操作部の画像を表示可能な構成において、乗員の快適性を向上させることができる。
【図面の簡単な説明】
【0009】
実施形態に係る車両用表示システムが適用された車両における車室内の前部を車両後方側から見た概略図である。
実施形態に係る車両用表示システムのハードウェア構成を示すブロック図である。
実施形態に係る車両用表示制御装置の機能構成を示すブロック図である。
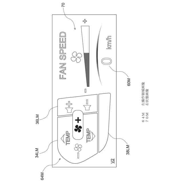
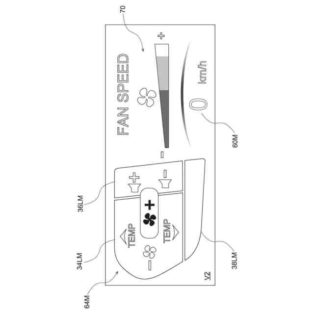
実施形態における表示領域の表示例を示す図であり、右側操作スイッチ及び左側操作スイッチに触れていない状態の表示例が示されている。
図4の状態から、左側操作スイッチに触れた状態を示す表示例である。
図5の状態から、左側操作スイッチが操作された直後の状態を示す表示例である。
図4の状態から、右機能切替スイッチに触れた状態を示す表示例である。
図7の状態から、右機能切替スイッチが操作された直後の状態を示す表示例である。
図8の状態から、画像の反転が完了した状態を示す表示例である。
実施形態における表示処理の流れの一例を示すフローチャートである。
【発明を実施するための形態】
【0010】
実施形態に係る車両用表示システムSについて、図面を参照して説明する。
(【0011】以降は省略されています)
この特許をJ-PlatPat(特許庁公式サイト)で参照する
関連特許
トヨタ自動車株式会社
方法
2日前
トヨタ自動車株式会社
タンク
2日前
トヨタ自動車株式会社
制御装置
2日前
トヨタ自動車株式会社
制御装置
2日前
トヨタ自動車株式会社
電極活物質
2日前
トヨタ自動車株式会社
予測モデル
2日前
トヨタ自動車株式会社
情報処理装置
2日前
トヨタ自動車株式会社
燃料電池セル
2日前
トヨタ自動車株式会社
情報処理装置
2日前
トヨタ自動車株式会社
情報処理装置
2日前
トヨタ自動車株式会社
車両側部構造
2日前
トヨタ自動車株式会社
情報処理装置
2日前
トヨタ自動車株式会社
車両制御装置
2日前
トヨタ自動車株式会社
車両後部構造
2日前
トヨタ自動車株式会社
情報処理装置
2日前
トヨタ自動車株式会社
車両前部構造
2日前
トヨタ自動車株式会社
車両下部構造
2日前
トヨタ自動車株式会社
車両締結構造
2日前
トヨタ自動車株式会社
車両下部構造
2日前
トヨタ自動車株式会社
データ収集装置
2日前
トヨタ自動車株式会社
燃料電池システム
2日前
トヨタ自動車株式会社
電力融通システム
2日前
トヨタ自動車株式会社
異常管理システム
2日前
トヨタ自動車株式会社
燃料電池システム
2日前
トヨタ自動車株式会社
情報処理システム
2日前
トヨタ自動車株式会社
車両用シート構造
2日前
トヨタ自動車株式会社
水素エンジン車両
2日前
トヨタ自動車株式会社
ハイブリッド車両
2日前
トヨタ自動車株式会社
遠隔支援システム
2日前
トヨタ自動車株式会社
ファンカップリング
2日前
トヨタ自動車株式会社
拠点候補地探索装置
2日前
トヨタ自動車株式会社
車両用スイッチ装置
2日前
トヨタ自動車株式会社
車両用スイッチ装置
2日前
トヨタ自動車株式会社
光無線通信システム
2日前
トヨタ自動車株式会社
データ送受信システム
2日前
トヨタ自動車株式会社
車載レーダ装置取付構造
2日前
続きを見る
他の特許を見る