TOP
|
特許
|
意匠
|
商標
特許ウォッチ
Twitter
他の特許を見る
公開番号
2025169442
公報種別
公開特許公報(A)
公開日
2025-11-12
出願番号
2025141960,2023086799
出願日
2025-08-28,2023-05-26
発明の名称
蓄電セル
出願人
トヨタ自動車株式会社
代理人
弁理士法人深見特許事務所
主分類
H01M
10/0587 20100101AFI20251105BHJP(基本的電気素子)
要約
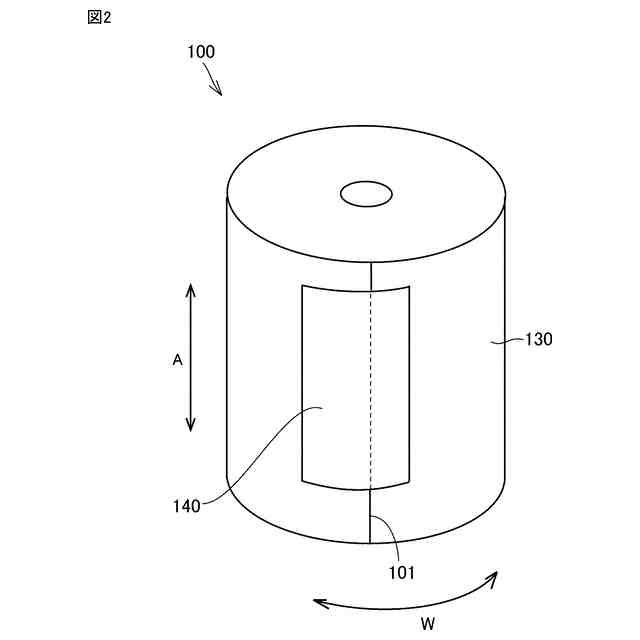
【課題】巻回電極体の巻き終わり部における応力集中を緩和すること。
【解決手段】蓄電セルは、セルケース、巻回電極体、固定部材、および、電解液を含む。セルケースは、巻回電極体、固定部材、および、電解液を収納している。巻回電極体は、電極およびセパレータが巻回されることにより形成されている。固定部材は、巻回電極体の巻回方向の巻き終わり部を固定している。固定部材は、粘着成分を含む。粘着成分は、電解液に対して溶解性を示す。
【選択図】図2
特許請求の範囲
【請求項1】
セルケース、巻回電極体、固定部材、および、電解液を含み、
前記セルケースは、前記巻回電極体、前記固定部材、および、前記電解液を収納しており、
前記巻回電極体は、電極およびセパレータが巻回されることにより形成されており、
前記固定部材は、前記巻回電極体の巻回方向の巻き終わり部を固定しており、
前記固定部材は、粘着成分を含み、かつ
前記粘着成分は、前記電解液に対して溶解性を示す、
蓄電セル。
続きを表示(約 440 文字)
【請求項2】
前記固定部材は、基材をさらに含み、かつ
前記基材は、前記粘着成分を支持している、
請求項1に記載の蓄電セル。
【請求項3】
前記巻回電極体の径方向において、前記巻回電極体の最外層の内周側に、前記固定部材の少なくとも一部が配置されており、かつ
前記巻回電極体の前記巻回方向において、前記巻回電極体の前記巻き終わり部よりも内側に、前記固定部材の中央部が位置している、
請求項1に記載の蓄電セル。
【請求項4】
前記巻回電極体の径方向において、前記巻回電極体の最外層の内周側に、前記固定部材の少なくとも一部が配置されており、
前記巻回電極体の前記巻回方向において、
前記巻回電極体の前記巻き終わり部よりも内側に、前記固定部材の前記基材が位置しており、かつ
前記巻回電極体の前記巻き終わり部よりも外側に、前記固定部材の前記基材が位置していない、
請求項2に記載の蓄電セル。
発明の詳細な説明
【技術分野】
【0001】
本開示は、蓄電セルに関する。
続きを表示(約 1,000 文字)
【背景技術】
【0002】
国際公開第2019/064806号は、巻回電極体の巻き終わり部を固定するテープを開示する。
【先行技術文献】
【特許文献】
【0003】
国際公開第2019/064806号
【発明の概要】
【発明が解決しようとする課題】
【0004】
電極およびセパレータが巻回されることにより、巻回電極体が形成される。巻回電極体をセルケースに挿入するために、巻回電極体の巻き終わり部が、例えば粘着テープ等により固定され得る。例えば、蓄電セルの充電時、電極が膨張し得る。巻回電極体の巻き終わり部が固定されていることにより、電極の膨張による応力が、巻き終わり部に集中する可能性がある。
【0005】
本開示の目的は、巻回電極体の巻き終わり部における応力集中を緩和することである。
【課題を解決するための手段】
【0006】
以下、本開示の技術的構成および作用効果が説明される。ただし作用メカニズムは推定を含む。作用メカニズムは、本開示の技術的範囲を限定しない。
【0007】
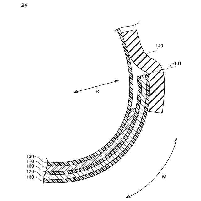
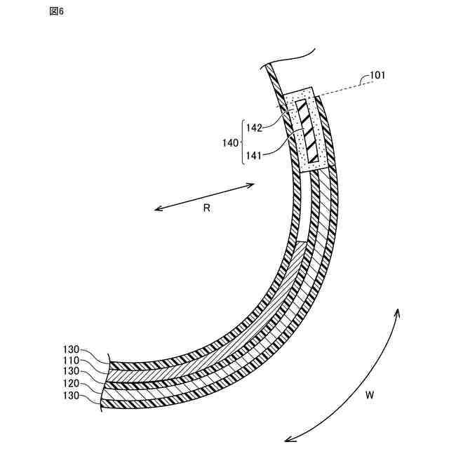
1.蓄電セルは、セルケース、巻回電極体、固定部材、および、電解液を含む。セルケースは、巻回電極体、固定部材、および、電解液を収納している。巻回電極体は、電極およびセパレータが巻回されることにより形成されている。固定部材は、巻回電極体の巻回方向の巻き終わり部を固定している。固定部材は、粘着成分を含む。粘着成分は、電解液に対して溶解性を示す。
【0008】
固定部材は粘着成分を含む。粘着成分が巻き終わり部を固定することにより、巻回電極体がセルケースに円滑に挿入され得る。セルケースに挿入後、粘着成分が電解液に溶解することにより、巻き終わり部の固定力が低減し得る。固定力の低減により、巻き終わり部における応力集中が緩和されることが期待される。
【0009】
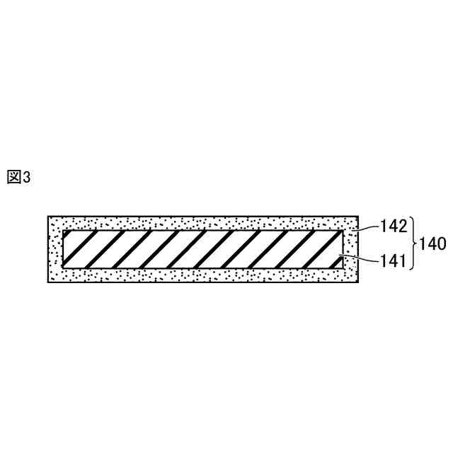
2.上記「1」に記載の蓄電セルは、例えば、次の構成を含んでいてもよい。固定部材は、基材をさらに含む。基材は、粘着成分を支持している。
【0010】
固定部材が基材を含むことにより、強度の向上が期待される。強度の向上により、例えば、巻回電極体がセルケースに挿入されるまでの間、固定部材が所定形状を維持することが期待される。
(【0011】以降は省略されています)
この特許をJ-PlatPat(特許庁公式サイト)で参照する
関連特許
トヨタ自動車株式会社
モータ
6日前
トヨタ自動車株式会社
推定装置
6日前
トヨタ自動車株式会社
蓄電装置
6日前
トヨタ自動車株式会社
制御装置
6日前
トヨタ自動車株式会社
制御装置
6日前
トヨタ自動車株式会社
路側装置
6日前
トヨタ自動車株式会社
電動車両
6日前
トヨタ自動車株式会社
電動車両
6日前
トヨタ自動車株式会社
蓄電セル
1日前
トヨタ自動車株式会社
路側装置
6日前
トヨタ自動車株式会社
路側装置
6日前
トヨタ自動車株式会社
路側装置
6日前
トヨタ自動車株式会社
車両駆動装置
1日前
トヨタ自動車株式会社
操舵制御装置
1日前
トヨタ自動車株式会社
動力伝達装置
6日前
トヨタ自動車株式会社
車両前部構造
6日前
トヨタ自動車株式会社
電力システム
6日前
トヨタ自動車株式会社
情報処理装置
6日前
トヨタ自動車株式会社
アンケート装置
6日前
トヨタ自動車株式会社
水電解システム
6日前
トヨタ自動車株式会社
車両の制御装置
6日前
トヨタ自動車株式会社
車両用制御装置
6日前
トヨタ自動車株式会社
オイル塗布装置
6日前
トヨタ自動車株式会社
車両用充電設備
6日前
トヨタ自動車株式会社
車両の制御装置
6日前
トヨタ自動車株式会社
車両の制御装置
1日前
トヨタ自動車株式会社
制御装置及び車両
6日前
トヨタ自動車株式会社
制御装置及び車両
6日前
トヨタ自動車株式会社
内燃機関の制御装置
6日前
トヨタ自動車株式会社
バッテリおよび車両
6日前
トヨタ自動車株式会社
フレックス燃料車両
6日前
トヨタ自動車株式会社
支援装置及び支援方法
6日前
トヨタ自動車株式会社
支援装置及び支援方法
6日前
トヨタ自動車株式会社
冷却用電動ファン制御装置
6日前
トヨタ自動車株式会社
充放電装置及び充放電方法
1日前
株式会社デンソー
電気回路
1日前
続きを見る
他の特許を見る