TOP
|
特許
|
意匠
|
商標
特許ウォッチ
Twitter
他の特許を見る
公開番号
2025168050
公報種別
公開特許公報(A)
公開日
2025-11-07
出願番号
2024073167
出願日
2024-04-26
発明の名称
車両前部構造
出願人
トヨタ自動車株式会社
代理人
弁理士法人太陽国際特許事務所
主分類
B62D
25/20 20060101AFI20251030BHJP(鉄道以外の路面車両)
要約
【課題】熱交換器の破損を回避することができる車両前部構造を得る。
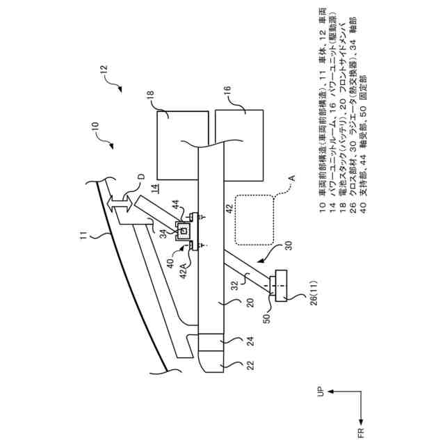
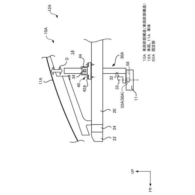
【解決手段】車両前部構造10は、熱交換器30と、車両前部において、車幅方向の左右両側において各々車両前後方向に延在するフロントサイドメンバ20と、車両前部のパワーユニットルーム14内における左右一対のフロントサイドメンバ20の車両前後方向の中間部分に各々設けられ、熱交換器30の車両上下方向の中間部を支持し、車両後方側の部位に脆弱部が設けられた支持部40と、熱交換器30における車両前方側の部位を車体11に固定する固定部50と、を備える。
【選択図】図1
特許請求の範囲
【請求項1】
熱交換器と、
車両前部において、車幅方向の左右両側において各々車両前後方向に延在するフロントサイドメンバと、
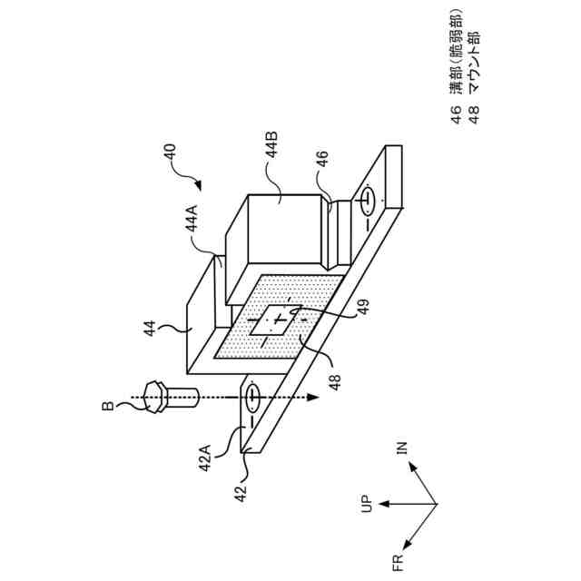
前記車両前部のパワーユニットルーム内における左右一対の前記フロントサイドメンバの車両前後方向の中間部分に各々設けられ、前記熱交換器の車両上下方向の中間部を支持し、車両後方側の部位に脆弱部が設けられた支持部と、
前記熱交換器における車両前方側の部位を車体に固定する固定部と、
を備える車両前部構造。
続きを表示(約 320 文字)
【請求項2】
前記脆弱部は、溝部によって構成されている請求項1に記載の車両前部構造。
【請求項3】
前記熱交換器は、前記中間部において、車幅方向外側に突出する突出部を備えており、
前記支持部は、前記突出部を支持する請求項1に記載の車両前部構造。
【請求項4】
前記支持部は、車幅方向外側の側面に、弾性を有し前記突出部が挿通されるマウント部を備えている請求項3に記載の車両前部構造。
【請求項5】
前記熱交換器の車両前方側に配置され、車幅方向に延在されるクロス部材を備え、
前記固定部は、前記熱交換器の車両前方側の部位を前記クロス部材に固定する請求項1に記載の車両前部構造。
発明の詳細な説明
【技術分野】
【0001】
本発明は、車両前部構造に関する。
続きを表示(約 1,300 文字)
【背景技術】
【0002】
特許文献1には、車両上下方向の上側が車両前後方向の後側に位置するようにラジエータが傾斜して配設された車両が開示されている。
【先行技術文献】
【特許文献】
【0003】
特開2002-362171号公報
【発明の概要】
【発明が解決しようとする課題】
【0004】
近年、ラジエータ全体への風あての観点から、ラジエータを斜めに搭載することが考えられている。前方衝突時にはフロントサイドメンバを軸圧縮させることにより衝撃を吸収しているが、ラジエータを斜めに搭載するとラジエータ下端が前方に突出するため、衝撃吸収の途中で衝突物がラジエータに接触して破損してしまう可能性がある。そのため、ラジエータの搭載構造において改善の余地がある。
【0005】
本発明は係る事情に鑑みてなされたものであり、熱交換器の破損を回避することができる車両前部構造を提供することを目的とする。
【課題を解決するための手段】
【0006】
請求項1に記載の本発明に係る車両前部構造は、熱交換器と、車両前部において、車幅方向の左右両側において各々車両前後方向に延在するフロントサイドメンバと、前記車両前部のパワーユニットルーム内における左右一対の前記フロントサイドメンバの車両前後方向の中間部分に各々設けられ、前記熱交換器の車両上下方向の中間部を支持し、車両後方側の部位に脆弱部が設けられた支持部と、前記熱交換器における車両前方側の部位を車体に固定する固定部と、を備える。
【0007】
請求項1に記載の本発明に係る車両前部構造では、フロントサイドメンバの車両前後方向の中間部分に、熱交換器の車両上下方向の中間部を支持し、車両後方側の部位に脆弱部を有する支持部が設けられており、熱交換器における車両前方側の部位を車体に固定する固定部が設けられている。そのため、前方衝突時にフロントサイドメンバの軸圧縮における衝撃吸収の途中で衝突物が熱交換器に接触した際に、固定部による熱交換器における車両前方側の部位の固定が解除されて、車両後方側の部位に設けられた脆弱部が破壊され、熱交換器が支持部から車両後方側へ向けて離脱する。これにより、熱交換器に加わる荷重を逃がすことができるので、熱交換器の破損を回避することができる。
【0008】
請求項2に記載の本発明に係る車両前部構造は、請求項1に記載の構成において、前記脆弱部は、溝部によって構成されている。
【0009】
請求項2に記載の本発明に係る車両前部構造では、脆弱部が溝部によって構成されているので、溝部の深さ及び溝幅等を変更することにより、車種等に応じて必要な強度を容易に実現することができる。
【0010】
請求項3に記載の本発明に係る車両前部構造は、請求項1又は請求項2に記載の構成において、前記熱交換器は、前記中間部において、車幅方向外側に突出する突出部を備えており、前記支持部は、前記突出部を支持する。
(【0011】以降は省略されています)
この特許をJ-PlatPat(特許庁公式サイト)で参照する
関連特許
トヨタ自動車株式会社
車両
19日前
トヨタ自動車株式会社
車両
1か月前
トヨタ自動車株式会社
車体
1か月前
トヨタ自動車株式会社
車両
18日前
トヨタ自動車株式会社
方法
3日前
トヨタ自動車株式会社
治具
1か月前
トヨタ自動車株式会社
方法
1か月前
トヨタ自動車株式会社
方法
1か月前
トヨタ自動車株式会社
電池
24日前
トヨタ自動車株式会社
車両
1か月前
トヨタ自動車株式会社
車両
1か月前
トヨタ自動車株式会社
方法
1か月前
トヨタ自動車株式会社
方法
1か月前
トヨタ自動車株式会社
車両
4日前
トヨタ自動車株式会社
方法
1か月前
トヨタ自動車株式会社
電池
1か月前
トヨタ自動車株式会社
電池
10日前
トヨタ自動車株式会社
車両
1か月前
トヨタ自動車株式会社
電池
10日前
トヨタ自動車株式会社
車両
1か月前
トヨタ自動車株式会社
車両
1か月前
トヨタ自動車株式会社
車両
1か月前
トヨタ自動車株式会社
電池
1か月前
トヨタ自動車株式会社
配管
19日前
トヨタ自動車株式会社
車両
1か月前
トヨタ自動車株式会社
電池
18日前
トヨタ自動車株式会社
車両
1か月前
トヨタ自動車株式会社
電池
1か月前
トヨタ自動車株式会社
車体
1か月前
トヨタ自動車株式会社
モータ
1か月前
トヨタ自動車株式会社
モータ
1か月前
トヨタ自動車株式会社
サーバ
1か月前
トヨタ自動車株式会社
自動車
1か月前
トヨタ自動車株式会社
タンク
3日前
トヨタ自動車株式会社
正極層
1か月前
トヨタ自動車株式会社
蓄電池
1か月前
続きを見る
他の特許を見る