TOP
|
特許
|
意匠
|
商標
特許ウォッチ
Twitter
他の特許を見る
公開番号
2025167378
公報種別
公開特許公報(A)
公開日
2025-11-07
出願番号
2024071927
出願日
2024-04-25
発明の名称
情報処理装置
出願人
トヨタ自動車株式会社
代理人
個人
,
個人
,
個人
,
個人
主分類
G06Q
50/10 20120101AFI20251030BHJP(計算;計数)
要約
【課題】ユーザに適した車両を試乗車両として提案する。
【解決手段】情報処理装置10は、車両の走行データを格納している記憶部12と、制御部15と、を備える。制御部15は、ユーザの試乗依頼の情報を取得すると、ユーザが現在又は過去に乗っていた車両の走行データを記憶部12から抽出し、抽出した走行データに基づいて、ユーザに試乗を提案する試乗車両を決定する。
【選択図】図2
特許請求の範囲
【請求項1】
車両の走行データを格納している記憶部と、
制御部と、を備え、
前記制御部は、
ユーザの試乗依頼の情報を取得すると、前記ユーザが現在又は過去に乗っていた車両の前記走行データを前記記憶部から抽出し、
抽出した前記走行データに基づいて、前記ユーザに試乗を提案する試乗車両を決定する、情報処理装置。
続きを表示(約 460 文字)
【請求項2】
請求項1に記載の情報処理装置において、
前記走行データは、前記車両に対する操作履歴の情報を含み、
前記制御部は、前記操作履歴に基づいて前記試乗車両を決定する、情報処理装置。
【請求項3】
請求項2に記載の情報処理装置において、
前記操作履歴は、ブレーキ操作速度の情報及びアクセル操作速度の情報を含み、
前記制御部は、前記ブレーキ操作速度及び前記アクセル操作速度に基づいて、前記試乗車両を決定する、情報処理装置。
【請求項4】
請求項1に記載の情報処理装置において、
前記走行データは、前記車両の移動履歴の情報を含み、
前記制御部は、前記移動履歴に基づいて前記試乗車両を決定する、情報処理装置。
【請求項5】
請求項4に記載の情報処理装置において、
前記移動履歴は、高速道路の走行距離の情報を含み、
前記制御部は、前記高速道路の走行距離に基づいて、前記試乗車両を決定する、情報処理装置。
発明の詳細な説明
【技術分野】
【0001】
本開示は、情報処理装置に関する。
続きを表示(約 970 文字)
【背景技術】
【0002】
従来、車両の購入を検討しているユーザに対して試乗車両に試乗してもらい、車両の販売を促進することが行われている。
【0003】
例えば特許文献1は、ユーザの試乗が終了した後に、ユーザの端末に広告又はアンケートを配信するシステムを開示している。
【先行技術文献】
【特許文献】
【0004】
特開2010-277583号公報
【発明の概要】
【発明が解決しようとする課題】
【0005】
車両の購入を検討しているユーザは、現在乗っている車両又は過去に乗っていた車両と同じ傾向の車両などを試乗車両として選択する場合が多い。
【0006】
しかしながら、このようにしてユーザによって選択された試乗車両が、本当にユーザに適した車両であるとは限らず、ユーザが選択しなかった試乗車両がユーザに適した車両であることもあり得る。
【0007】
本開示の目的は、ユーザに適した車両を試乗車両として提案することを可能とすることである。
【課題を解決するための手段】
【0008】
本開示に係る情報処理装置は、
車両の走行データを格納している記憶部と、
制御部と、を備え、
前記制御部は、
ユーザの試乗依頼の情報を取得すると、前記ユーザが現在又は過去に乗っていた車両の前記走行データを前記記憶部から抽出し、
抽出した前記走行データに基づいて、前記ユーザに試乗を提案する試乗車両を決定する。
【発明の効果】
【0009】
本開示によればユーザに適した車両を試乗車両として提案することができる。
【図面の簡単な説明】
【0010】
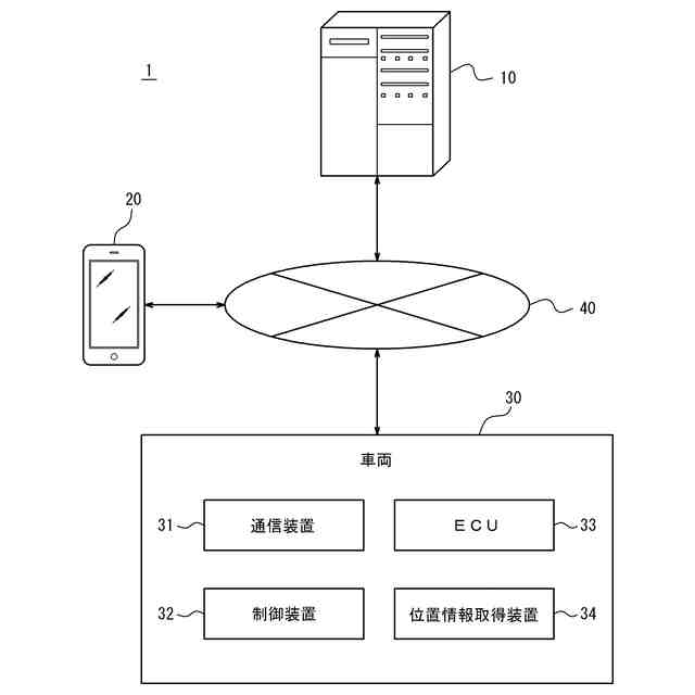
本開示の実施形態に係る情報処理システムの構成を示す図である。
本開示の実施形態に係る情報処理装置の構成を示すブロック図である。
本開示の実施形態に係る端末装置の構成を示すブロック図である。
本開示の実施形態に係る情報処理システムの動作を示すフローチャートである。
【発明を実施するための形態】
(【0011】以降は省略されています)
この特許をJ-PlatPat(特許庁公式サイト)で参照する
関連特許
トヨタ自動車株式会社
電池
24日前
トヨタ自動車株式会社
電池
1か月前
トヨタ自動車株式会社
車両
1か月前
トヨタ自動車株式会社
車両
1か月前
トヨタ自動車株式会社
車両
18日前
トヨタ自動車株式会社
電池
18日前
トヨタ自動車株式会社
電池
10日前
トヨタ自動車株式会社
方法
1か月前
トヨタ自動車株式会社
車体
1か月前
トヨタ自動車株式会社
治具
1か月前
トヨタ自動車株式会社
配管
19日前
トヨタ自動車株式会社
車両
4日前
トヨタ自動車株式会社
車両
1か月前
トヨタ自動車株式会社
車両
19日前
トヨタ自動車株式会社
方法
3日前
トヨタ自動車株式会社
車両
1か月前
トヨタ自動車株式会社
電池
10日前
トヨタ自動車株式会社
車両
1か月前
トヨタ自動車株式会社
タンク
3日前
トヨタ自動車株式会社
蓄電池
1か月前
トヨタ自動車株式会社
電動車
18日前
トヨタ自動車株式会社
モータ
1か月前
トヨタ自動車株式会社
電動車
19日前
トヨタ自動車株式会社
ロータ
19日前
トヨタ自動車株式会社
蓄電装置
10日前
トヨタ自動車株式会社
制御装置
10日前
トヨタ自動車株式会社
処理装置
10日前
トヨタ自動車株式会社
蓄電装置
1か月前
トヨタ自動車株式会社
電動車両
1か月前
トヨタ自動車株式会社
蓄電装置
1か月前
トヨタ自動車株式会社
エンジン
19日前
トヨタ自動車株式会社
樹脂外板
1か月前
トヨタ自動車株式会社
電源装置
1か月前
トヨタ自動車株式会社
蓄電装置
10日前
トヨタ自動車株式会社
路側装置
1か月前
トヨタ自動車株式会社
電動車両
1か月前
続きを見る
他の特許を見る