TOP
|
特許
|
意匠
|
商標
特許ウォッチ
Twitter
他の特許を見る
公開番号
2025167874
公報種別
公開特許公報(A)
公開日
2025-11-07
出願番号
2024072863
出願日
2024-04-26
発明の名称
支援装置及び支援方法
出願人
トヨタ自動車株式会社
代理人
個人
,
個人
,
個人
,
個人
主分類
G06Q
50/40 20240101AFI20251030BHJP(計算;計数)
要約
【課題】利用者が車両に持ち込む荷物の収納に関する技術を改善する。
【解決手段】支援装置20は、取得されたカメラ画像から、利用者が車両10に持ち込む荷物の種別を判別するとともに、判別された荷物の寸法を計測し、判別された荷物の種別が所定の荷物である場合、又は計測された荷物の寸法が閾値よりも大きい場合には、利用者に、所定の荷物置き場を提示する制御部25を備える。
【選択図】図1
特許請求の範囲
【請求項1】
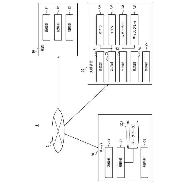
カメラを備える入力部と、
前記カメラによって撮影されたカメラ画像を取得する制御部と、を有する支援装置であって、
前記制御部は、取得された前記カメラ画像から、利用者が車両に持ち込む荷物の種別を判別するとともに、判別された前記荷物の寸法を計測し、判別された前記荷物の種別が所定の荷物である場合、又は計測された前記荷物の寸法が閾値よりも大きい場合には、前記利用者に、所定の荷物置き場を提示する、支援装置。
続きを表示(約 760 文字)
【請求項2】
請求項1に記載の支援装置であって、
前記所定の荷物置き場は、客室下のトランクルーム及び前記客室の上部に設置された荷物棚であり、
前記閾値は、第1閾値、及び当該第1閾値よりも大きな値である第2閾値を含み、
前記制御部は、前記利用者に対し、計測された前記荷物の寸法が前記第1閾値よりも大きく前記第2閾値以下である場合には前記荷物棚を、計測された前記荷物の寸法が前記第2閾値よりも大きい場合には前記トランクルームを、前記所定の荷物置き場として提示する、支援装置。
【請求項3】
請求項1に記載の支援装置であって、
スピーカー及びディスプレイを備える出力部をさらに備え、
前記制御部は、前記スピーカーから出力される音声、前記ディスプレイに表示される文字及び映像、又は前記音声と、前記文字及び映像の両方によって、前記利用者に、前記所定の荷物置き場を提示する、支援装置。
【請求項4】
請求項1に記載の支援装置であって、
前記制御部は、取得された前記カメラ画像に含まれる前記荷物の寸法を、計測アプリを使用して計測する、支援装置。
【請求項5】
支援装置によって、
取得されたカメラ画像から、利用者が車両に持ち込む荷物の種別を判別することと、
判別された前記荷物の寸法を計測することと、
判別された前記荷物の種別が所定の荷物である場合、又は計測された前記荷物の寸法が閾値よりも大きい場合には、前記利用者に、所定の荷物置き場を提示することと、
を実行する、支援方法。
【請求項6】
請求項1に記載の支援装置を用いたMaaS(Mobility as a Service)提供方法。
発明の詳細な説明
【技術分野】
【0001】
本開示は、支援装置及び支援方法に関する。
続きを表示(約 1,000 文字)
【背景技術】
【0002】
従来、利用者が車両に持ち込む荷物の収納に関する技術が知られている。例えば特許文献1には、利用者及び利用者の荷物を所定の場所で降ろし忘れることを防止する情報提供装置が開示されている。
【先行技術文献】
【特許文献】
【0003】
特開2014-229053号公報
【発明の概要】
【発明が解決しようとする課題】
【0004】
しかし、車両に持ち込む荷物が多い場合、利用者が荷物の置き場所に困るという課題がある。したがって、利用者が車両に持ち込む荷物の収納に関する技術には改善の余地があった。
【0005】
かかる事情に鑑みてなされた本開示の目的は、利用者が車両に持ち込む荷物の収納に関する技術を改善することにある。
【課題を解決するための手段】
【0006】
本開示の一実施形態に係る支援装置は、カメラを備える入力部と、前記カメラによって撮影されたカメラ画像を取得する制御部と、を有する支援装置であって、前記制御部は、取得された前記カメラ画像から、利用者が車両に持ち込む荷物の種別を判別するとともに、判別された前記荷物の寸法を計測し、判別された前記荷物の種別が所定の荷物である場合、又は計測された前記荷物の寸法が閾値よりも大きい場合には、前記利用者に、所定の荷物置き場を提示する。
【0007】
本開示の一実施形態に係る支援方法は、支援装置によって、取得されたカメラ画像から、利用者が車両に持ち込む荷物の種別を判別することと、判別された前記荷物の寸法を計測することと、判別された前記荷物の種別が所定の荷物である場合、又は計測された前記荷物の寸法が閾値よりも大きい場合には、前記利用者に、所定の荷物置き場を提示することと、を実行する。
【発明の効果】
【0008】
本開示の一実施形態によれば、利用者が車内に持ち込む荷物の収納に関する技術が改善される。
【図面の簡単な説明】
【0009】
本開示の一実施形態に係るシステムの概略構成例を示すブロック図である。
支援装置の動作例を示すフローチャートである。
支援装置の動作例を説明する概略図である。
車両内の荷物置き場の例を示す概略図である。
【発明を実施するための形態】
【0010】
以下、本開示の実施形態について説明する。
(【0011】以降は省略されています)
この特許をJ-PlatPat(特許庁公式サイト)で参照する
関連特許
トヨタ自動車株式会社
方法
2日前
トヨタ自動車株式会社
車両
3日前
トヨタ自動車株式会社
タンク
2日前
トヨタ自動車株式会社
制御装置
2日前
トヨタ自動車株式会社
制御装置
2日前
トヨタ自動車株式会社
電池用電極
4日前
トヨタ自動車株式会社
予測モデル
2日前
トヨタ自動車株式会社
電極活物質
2日前
トヨタ自動車株式会社
情報処理装置
2日前
トヨタ自動車株式会社
情報処理装置
2日前
トヨタ自動車株式会社
燃料電池セル
2日前
トヨタ自動車株式会社
スパッツ装置
2日前
トヨタ自動車株式会社
車両前部構造
3日前
トヨタ自動車株式会社
情報処理装置
2日前
トヨタ自動車株式会社
情報処理装置
3日前
トヨタ自動車株式会社
情報処理装置
2日前
トヨタ自動車株式会社
情報処理装置
2日前
トヨタ自動車株式会社
車両制御装置
4日前
トヨタ自動車株式会社
車両制御装置
2日前
トヨタ自動車株式会社
車両下部構造
2日前
トヨタ自動車株式会社
車両下部構造
4日前
トヨタ自動車株式会社
車両後部構造
2日前
トヨタ自動車株式会社
車両下部構造
2日前
トヨタ自動車株式会社
車両締結構造
2日前
トヨタ自動車株式会社
車両側部構造
2日前
トヨタ自動車株式会社
車両前部構造
2日前
トヨタ自動車株式会社
情報処理装置
3日前
トヨタ自動車株式会社
蓄電装置構造
3日前
トヨタ自動車株式会社
データ収集装置
2日前
トヨタ自動車株式会社
積層型二次電池
4日前
トヨタ自動車株式会社
車両の製造方法
4日前
トヨタ自動車株式会社
液体水素貯留装置
3日前
トヨタ自動車株式会社
液体水素システム
3日前
トヨタ自動車株式会社
車両情報処理装置
3日前
トヨタ自動車株式会社
水素エンジン車両
2日前
トヨタ自動車株式会社
燃料電池システム
2日前
続きを見る
他の特許を見る