TOP
|
特許
|
意匠
|
商標
特許ウォッチ
Twitter
他の特許を見る
10個以上の画像は省略されています。
公開番号
2025169037
公報種別
公開特許公報(A)
公開日
2025-11-12
出願番号
2024073995
出願日
2024-04-30
発明の名称
充放電装置及び充放電方法
出願人
トヨタ自動車株式会社
代理人
弁理士法人太陽国際特許事務所
主分類
H01M
10/46 20060101AFI20251105BHJP(基本的電気素子)
要約
【課題】充放電端子を電極端子に接触させて、その電極端子に形成されている皮膜を破る際、その充放電端子を変形させるおそれのない充放電装置及び充放電方法を得る。
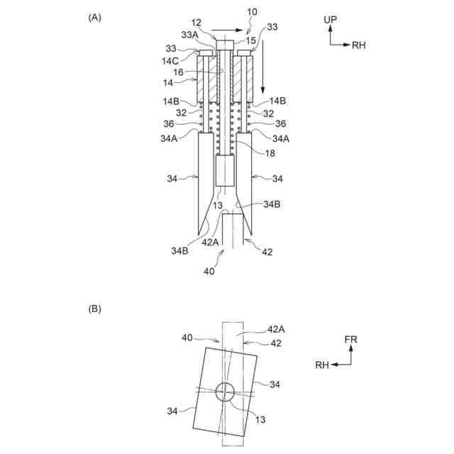
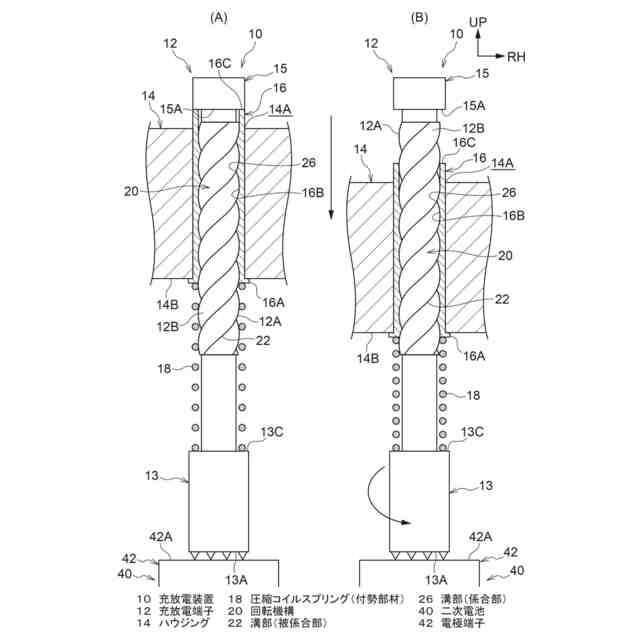
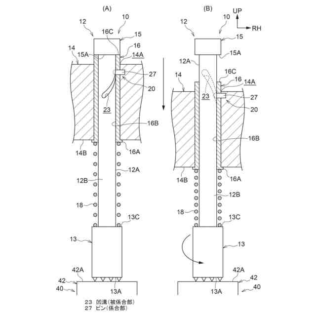
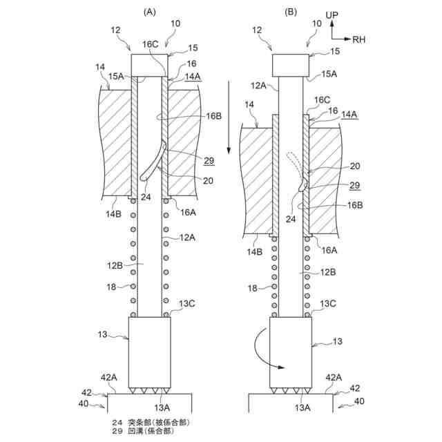
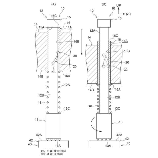
【解決手段】二次電池40の電極端子42に接触させる充放電端子12と、充放電端子12を収容するとともに電極端子42に対して接近するように移動可能に構成されたハウジング14と、ハウジング14の電極端子42への接近移動に伴い、充放電端子12を電極端子42へ向けて付勢する付勢部材18と、ハウジング14の電極端子42への接近移動に伴い、充放電端子12を回転させる回転機構20と、を備えた充放電装置10とする。そして、その充放電装置10に対して二次電池40を配置する配置工程と、二次電池40の電極端子42に充放電端子12を回転させながら接触させる接触工程と、充放電装置10によって二次電池40を充放電する充放電工程と、を有する充放電方法とする。
【選択図】図1
特許請求の範囲
【請求項1】
二次電池の電極端子に接触させる充放電端子と、
前記充放電端子を収容するとともに前記電極端子に対して接近するように移動可能に構成されたハウジングと、
前記ハウジングの前記電極端子への接近移動に伴い、前記充放電端子を前記電極端子へ向けて付勢する付勢部材と、
前記ハウジングの前記電極端子への接近移動に伴い、前記充放電端子を回転させる回転機構と、
を備えた充放電装置。
続きを表示(約 390 文字)
【請求項2】
前記回転機構は、
前記充放電端子の外周面に形成された被係合部と、
前記ハウジングの内周面に形成され、前記ハウジングの前記電極端子への接近移動に伴って前記被係合部に係合し、前記充放電端子を回転させる係合部と、
を有する請求項1に記載の充放電装置。
【請求項3】
前記回転機構は、
前記ハウジングに設けられ、前記電極端子に対して位置決めを行いつつ、前記充放電端子を回転させるガイド部を有する請求項1に記載の充放電装置。
【請求項4】
請求項1~請求項3の何れか1項に記載の充放電装置に対して二次電池を配置する配置工程と、
前記二次電池の電極端子に前記充放電端子を回転させながら接触させる接触工程と、
前記充放電装置によって前記二次電池を充放電する充放電工程と、
を有する充放電方法。
発明の詳細な説明
【技術分野】
【0001】
本発明は、充放電装置及び充放電方法に関する。
続きを表示(約 1,500 文字)
【背景技術】
【0002】
複数の二次電池を幅方向に重ねるように並べて配置し、その二次電池の正極端子及び負極端子(電極端子)に電源側端子(充放電端子)を差し込んで充放電を行う充放電装置は、従来から知られている(例えば、特許文献1参照)。
【先行技術文献】
【特許文献】
【0003】
特開2010-140844号公報
【発明の概要】
【発明が解決しようとする課題】
【0004】
ところで、電極端子の表面には、絶縁性の酸化皮膜が形成されている。そのため、充放電端子を電極端子の表面に接触させて通電させる際には、その皮膜を破って接触抵抗を下げる必要がある。接触抵抗が高いと、充放電に掛かる時間が長くなり、その時間を短くするための設備の大型化(コストアップ)や電流増加に伴う発熱増加が生じるからである。しかしながら、その皮膜を破るためには、強い荷重で充放電端子を電極端子の表面に押し付ける必要があり、充放電端子の変形につながるおそれがある。
【0005】
そこで、本発明は、充放電端子を電極端子に接触させて、その電極端子に形成されている皮膜を破る際、その充放電端子を変形させるおそれのない充放電装置及び充放電方法を得ることを目的とする。
【課題を解決するための手段】
【0006】
上記の目的を達成するために、本発明に係る第1の態様の充放電装置は、二次電池の電極端子に接触させる充放電端子と、前記充放電端子を収容するとともに前記電極端子に対して接近するように移動可能に構成されたハウジングと、前記ハウジングの前記電極端子への接近移動に伴い、前記充放電端子を前記電極端子へ向けて付勢する付勢部材と、前記ハウジングの前記電極端子への接近移動に伴い、前記充放電端子を回転させる回転機構と、を備えている。
【0007】
第1の態様の発明によれば、二次電池の電極端子に接触させる充放電端子がハウジングに収容されており、そのハウジングは、電極端子に対して接近するように移動可能に構成されている。そして、ハウジングの電極端子への接近移動に伴い、付勢部材により、充放電端子が電極端子へ向けて付勢され、回転機構により、充放電端子が回転する。つまり、充放電端子は、ハウジングの電極端子への接近移動に伴い、回転しながら所定の荷重で電極端子の皮膜を押圧して破る。したがって、充放電端子を電極端子に接触させて、その電極端子に形成されている皮膜を破る際、その充放電端子を変形させるおそれがない。
【0008】
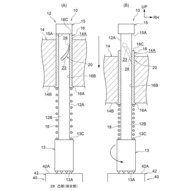
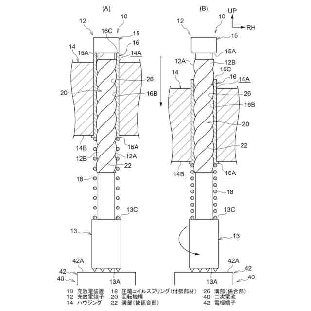
また、本発明に係る第2の態様の充放電装置は、第1の態様の充放電装置であって、前記回転機構は、前記充放電端子の外周面に形成された被係合部と、前記ハウジングの内周面に形成され、前記ハウジングの前記電極端子への接近移動に伴って前記被係合部に係合し、前記充放電端子を回転させる係合部と、を有している。
【0009】
第2の態様の発明によれば、回転機構が、充放電端子の外周面に形成された被係合部と、ハウジングの内周面に形成された係合部と、を有しており、その係合部は、ハウジングの電極端子への接近移動に伴い、被係合部に係合して充放電端子を回転させる。したがって、回転機構が簡易な構成で実現される。
【0010】
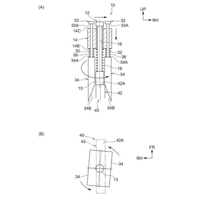
また、本発明に係る第3の態様の充放電装置は、第1の態様の充放電装置であって、前記回転機構は、前記ハウジングに設けられ、前記電極端子に対して位置決めを行いつつ、前記充放電端子を回転させるガイド部を有している。
(【0011】以降は省略されています)
この特許をJ-PlatPat(特許庁公式サイト)で参照する
関連特許
APB株式会社
蓄電セル
1か月前
東ソー株式会社
絶縁電線
1か月前
日機装株式会社
加圧装置
4日前
ローム株式会社
半導体装置
1か月前
日新イオン機器株式会社
イオン源
4日前
マクセル株式会社
電源装置
1か月前
株式会社東芝
端子台
1か月前
株式会社GSユアサ
蓄電装置
1か月前
株式会社GSユアサ
蓄電装置
19日前
富士電機株式会社
電磁接触器
19日前
三菱電機株式会社
回路遮断器
27日前
株式会社GSユアサ
蓄電装置
1か月前
株式会社GSユアサ
蓄電装置
1か月前
大電株式会社
電線又はケーブル
11日前
トヨタ自動車株式会社
蓄電装置
1か月前
日本特殊陶業株式会社
保持装置
1か月前
個人
電源ボックス及び電子機器
4日前
トヨタ自動車株式会社
冷却構造
1か月前
北道電設株式会社
配電具カバー
1か月前
日新イオン機器株式会社
基板処理装置
1か月前
ホシデン株式会社
複合コネクタ
13日前
トヨタ自動車株式会社
バッテリ
1か月前
日本特殊陶業株式会社
保持装置
1か月前
株式会社東芝
電子源
4日前
株式会社トクミ
ケーブル
5日前
トヨタ自動車株式会社
蓄電装置
11日前
日亜化学工業株式会社
半導体レーザ素子
1か月前
住友電装株式会社
コネクタ
1か月前
トヨタ自動車株式会社
密閉型電池
1か月前
ヒロセ電機株式会社
電気コネクタ
19日前
ローム株式会社
半導体装置
1か月前
ローム株式会社
半導体モジュール
20日前
住友電装株式会社
コネクタ
19日前
株式会社デンソー
電子装置
1か月前
矢崎総業株式会社
コネクタ
19日前
矢崎総業株式会社
バスバー
今日
続きを見る
他の特許を見る