TOP
|
特許
|
意匠
|
商標
特許ウォッチ
Twitter
他の特許を見る
公開番号
2025167876
公報種別
公開特許公報(A)
公開日
2025-11-07
出願番号
2024072866
出願日
2024-04-26
発明の名称
支援装置及び支援方法
出願人
トヨタ自動車株式会社
代理人
個人
,
個人
,
個人
,
個人
主分類
G06Q
50/40 20240101AFI20251030BHJP(計算;計数)
要約
【課題】車室内で体調不良となった利用者を医療機関に搬送する技術を改善する。
【解決手段】支援装置20は、車両10が運行経路を走行中に、車室内で体調不良の利用者がカメラ画像によって識別されたとき、車両10から最寄りの停車可能場所を検索し、車両10に対して、検索された停車可能場所に停車するよう指示を行うとともに、救急車を派遣する機関のサーバ30に対して、停車可能場所への救急車の出動を要請する制御部26を備える。
【選択図】図1
特許請求の範囲
【請求項1】
車両に搭載される支援装置であって、
前記車両が運行経路を走行中に、車室内で体調不良の利用者がカメラ画像によって識別されたとき、前記車両から最寄りの停車可能場所を検索し、前記車両に対して、検索された前記停車可能場所に停車するよう指示を行うとともに、救急車を派遣する機関のサーバに対して、前記停車可能場所への前記救急車の出動を要請する制御部を備える、支援装置。
続きを表示(約 610 文字)
【請求項2】
請求項1に記載の支援装置であって、
前記運行経路の全部又は一部は、高速自動車国道と、自動車専用道路とを含む高速道路に設定される、支援装置。
【請求項3】
請求項2に記載の支援装置であって、
前記停車可能場所は、前記高速道路に設置された、サービスエリア又はパーキングエリアである、支援装置。
【請求項4】
請求項1に記載の支援装置であって、
前記制御部は、前記サーバに対して、前記停車可能場所への前記救急車の出動を要請する際に、前記車両が走行する位置の位置情報、検索された前記停車可能場所の位置情報、及び検索された前記停車可能場所への到着予定時刻をさらに通知する、支援装置。
【請求項5】
車両に搭載される支援装置が実行する支援方法であって、
前記車両が運行経路を走行中に、車室内で体調不良の利用者がカメラ画像によって識別されたとき、前記車両から最寄りの停車可能場所を検索することと、
前記車両に対して、検索された前記停車可能場所に停車するよう指示を行うことと、
救急車を派遣する機関のサーバに対して、前記停車可能場所への前記救急車の出動を要請することと、
を含む、支援方法。
【請求項6】
請求項1に記載の支援装置を用いたMaaS(Mobility as a Service)提供方法。
発明の詳細な説明
【技術分野】
【0001】
本開示は、支援装置及び支援方法に関する。
続きを表示(約 1,200 文字)
【背景技術】
【0002】
従来、車室内で体調不良となった利用者を医療機関に搬送する技術が知られている。例えば特許文献1には、車室内で体調不良の乗客(以降、利用者という。)が発生した場合に、体調不良の利用者を搬送する医療機関と、正常な利用者を降ろす経由地とを決定し、当該経由地を経由して体調不良の利用者を医療機関へ搬送するように車両走行を制御する技術が開示されている。
【先行技術文献】
【特許文献】
【0003】
特開2022-121081号公報
【発明の概要】
【発明が解決しようとする課題】
【0004】
体調不良の利用者の医療機関への搬送は、車両内の他の利用者の予定に影響を与える。かかる影響を回避する対策として、車両を安全な場所に停車させ、体調不良の利用者の搬送を救急車に委ねることも考えられる。しかし、車両が高速道路など停車できない道路を走行している場合、車両から体調不良の利用者を救急車に移す連携が難しい。したがって、車室内で体調不良となった利用者を医療機関に搬送する技術には改善の余地があった
【0005】
かかる事情に鑑みてなされた本開示の目的は、車室内で体調不良となった利用者を医療機関に搬送する技術を改善することにある。
【課題を解決するための手段】
【0006】
本開示の一実施形態に係る支援装置は、車両に搭載される支援装置であって、前記車両が運行経路を走行中に、車室内で体調不良の利用者がカメラ画像によって識別されたとき、前記車両から最寄りの停車可能場所を検索し、前記車両に対して、検索された前記停車可能場所に停車するよう指示を行うとともに、救急車を派遣する機関のサーバに対して、前記停車可能場所への前記救急車の出動を要請する制御部を備える。
【0007】
本開示の一実施形態に係る支援方法は、車両に搭載される支援装置が実行する支援方法であって、前記車両が運行経路を走行中に、車室内で体調不良の利用者がカメラ画像によって識別されたとき、前記車両から最寄りの停車可能場所を検索することと、前記車両に対して、検索された前記停車可能場所に停車するよう指示を行うことと、救急車を派遣する機関のサーバに対して、前記停車可能場所への前記救急車の出動を要請することと、を含む。
【発明の効果】
【0008】
本開示の一実施形態によれば、車室内で体調不良となった利用者を医療機関に搬送する技術が改善される。
【図面の簡単な説明】
【0009】
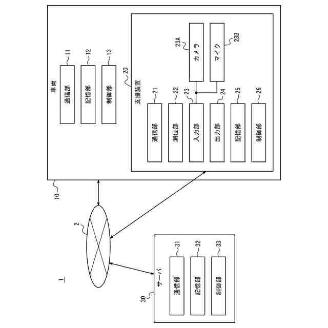
本開示の一実施形態に係るシステムの概略構成例を示すブロック図である。
支援装置の動作例を示すフローチャートである。
体調不良の利用者を医療機関に搬送する方法の一例を示す概略図である。
【発明を実施するための形態】
【0010】
以下、本開示の実施形態について説明する。
(【0011】以降は省略されています)
この特許をJ-PlatPat(特許庁公式サイト)で参照する
関連特許
トヨタ自動車株式会社
電池
10日前
トヨタ自動車株式会社
方法
3日前
トヨタ自動車株式会社
電池
1か月前
トヨタ自動車株式会社
車両
1か月前
トヨタ自動車株式会社
治具
1か月前
トヨタ自動車株式会社
車両
1か月前
トヨタ自動車株式会社
車両
1か月前
トヨタ自動車株式会社
車両
1か月前
トヨタ自動車株式会社
電池
1か月前
トヨタ自動車株式会社
車両
1か月前
トヨタ自動車株式会社
車両
1か月前
トヨタ自動車株式会社
車両
1か月前
トヨタ自動車株式会社
車体
1か月前
トヨタ自動車株式会社
方法
1か月前
トヨタ自動車株式会社
方法
1か月前
トヨタ自動車株式会社
方法
1か月前
トヨタ自動車株式会社
方法
1か月前
トヨタ自動車株式会社
車両
1か月前
トヨタ自動車株式会社
車体
1か月前
トヨタ自動車株式会社
電池
24日前
トヨタ自動車株式会社
車両
1か月前
トヨタ自動車株式会社
方法
1か月前
トヨタ自動車株式会社
配管
19日前
トヨタ自動車株式会社
車両
19日前
トヨタ自動車株式会社
電池
10日前
トヨタ自動車株式会社
車両
4日前
トヨタ自動車株式会社
電池
18日前
トヨタ自動車株式会社
電池
1か月前
トヨタ自動車株式会社
車両
18日前
トヨタ自動車株式会社
サーバ
1か月前
トヨタ自動車株式会社
電動車
19日前
トヨタ自動車株式会社
電動車
18日前
トヨタ自動車株式会社
タンク
3日前
トヨタ自動車株式会社
ロータ
19日前
トヨタ自動車株式会社
モータ
1か月前
トヨタ自動車株式会社
蓄電池
1か月前
続きを見る
他の特許を見る